GM Service Manual Online
For 1990-2009 cars only
Figure 1:

Engine Harness Routing


Object Number: 439442  Size: MF
(1)G104
(2)C108
(3)S164
(4)S130, S165
(5)S131
(6)S167
(7)S159
(8)C112
(9)C113
(10)P202
(11)S126, S154, S156, S162
(12)S248, S261
(13)C205
(14)S259, S262, S263
Figure 2:

Main Harness Routing


Object Number: 439459  Size: LF
(1)C200
(2)G201
(3)C208
(4)C201
(5)S107
(6)S105
(7)S122, S151
(8)G102
(9)S102, S113
(10)S115
(11)S117
(12)G103
(13)S100
(14)C111
(15)C112
(16)C115
(17)C113
(18)S119, S152, S153
(19)C114
(20)S101, S104, S123
(21)P200
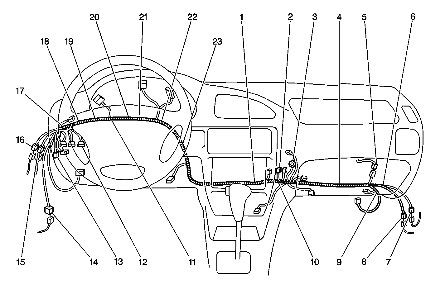
Figure 3:

Instrument Panel Harness Routing


Object Number: 439453  Size: MF
(1)S237, S250
(2)C211
(3)G202
(4)S232
(5)C205
(6)S254
(7)C207
(8)C215
(9)S233, S238
(10)S234, S243
(11)S242
(12)C210
(13)C214
(14)C203
(15)C208
(16)C200
(17)S217, S225, S228
(18)S219, S227, S235
(19)S218, S226, S241
(20)S230, S236, S239, S245
(21)S221, S249
(22)S229
(23)S222, S224, S240, S252
Figure 4:

Floor/Dome Harness Routing (2-Door)


Object Number: 439473  Size: LF
(1)C305
(2)C300
(3)C311
(4)C402
(5)P402
(6)G400
(7)C304
(8)C310
(9)Floor Harness
(10)S301
(11)S302
(12)C203
(13)C201
(14)C207
(15)Dome Harness
Figure 5:

Floor Harness Routing (4-Door)


Object Number: 439456  Size: MF
(1)C213
(2)C307
(3)C305
(4)C311
(5)G400
(6)C300
(7)C310
(8)C400
(9)S311
(10)C406
(11)C304
(12)C306
(13)S307, S308, S314
(14)C212
(15)S302, S310
(16)C201
(17)C203
Figure 6:

Hatch/Fuel Jumper Harness Routing (2-Door)


Object Number: 439462  Size: LF
(1)P403
(2)C402
(3)C311
(4)C310
(5)P300
(6)S315, S316
(7)G401
(8)Hatch Harness
(9)Fuel Jumper Harness
(10)C300
Figure 7:

Luggage Compartment Harness Routing (4-Door)


Object Number: 439468  Size: LF
(1)Luggage Compartment Harness (4-Door)
(2)C400