GM Service Manual Online
For 1990-2009 cars only
Makes
🢒
Pontiac
🢒
2000
🢒
Firefly (Canada)
🢒
Body and Accessories
🢒
Seats
🢒 Rear Seat Back Latch Replacement
Removal Procedure
Remove the rear seat back cover. Refer to
Rear Seat Back Cushion Cover and Pad Replacement
.
Remove the following components from the vehicle:
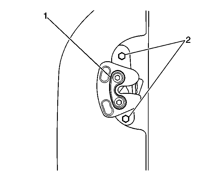
2.1.
2 bolts (2)
2.2.
The seat back lock (1)
Installation Procedure
Install the seat back lock (1) to the seat back. Secure the lock with 2 bolts (2).
Install the rear seat back cover. Refer to
Rear Seat Back Cushion Cover and Pad Replacement
.