GM Service Manual Online
For 1990-2009 cars only

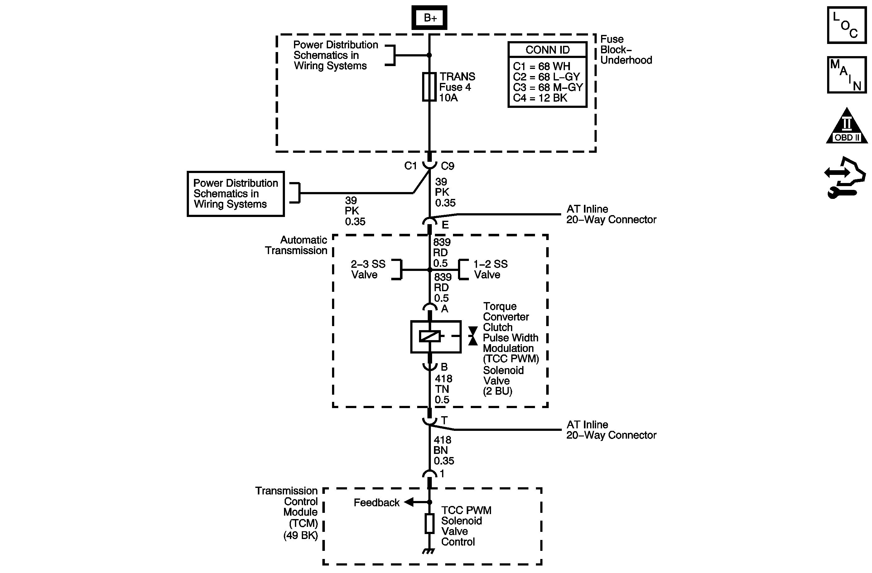
Object Number: 1595308  Size: MF
Master Electrical Component List
Automatic Transmission Controls Schematics
OBD II Symbol Description Notice
Control Module References

Circuit Description

Ignition voltage is provided to the torque converter clutch pulse width modulation (TCC PWM) solenoid valve. The transmission control module (TCM) controls the solenoid with a negative duty cycle in order to control application and release of the TCC. When the solenoid is commanded OFF, the TCM senses high voltage. When the solenoid is commanded ON, the TCM senses low voltage.

DTC P2763 sets if the TCM detects a short to voltage on the TCC PWM solenoid valve control circuit. DTC P2763 is a type B DTC .

DTC Descriptor

This diagnostic procedure supports the following DTC:

DTC P2763 Torque Converter Clutch (TCC) Pressure Control (PC) Solenoid Control Circuit High Voltage

Conditions for Running the DTC

    • The engine speed is greater than 500 RPM for 5 seconds.
    • The TCC is commanded ON.

Conditions for Setting the DTC

The TCM detects a short to voltage on the TCC PWM solenoid valve control circuit for 4.4 seconds.

Action Taken When the DTC Sets

    • The TCM requests the engine control module (ECM) to illuminate the malfunction indicator lamp (MIL) during the second consecutive trip in which the Conditions for Setting the DTC are met.
    • The TCM commands maximum line pressure.
    • The TCM forces the TCC OFF.
    • The TCC inhibits TCC engagement.
    • The TCM inhibits fourth gear if the transmission is in Hot Mode.
    • The TCM freezes transmission adaptive functions.
    • The TCM records the operating conditions when the Conditions for Setting the DTC are met. The TCM stores this information as Freeze Frame and Failure Records.
    • The TCM stores DTC P2763 in TCM history during the second consecutive trip in which the Conditions for Setting the DTC are met.

Conditions for Clearing the MIL/DTC

    • The ECM turns OFF the MIL after the third consecutive trip in which the TCM does not send an MIL illumination request.
    • A scan tool can clear the MIL/DTC.
    • The TCM clears the DTC from TCM history if the vehicle completes 40 warm-up cycles without an emission related diagnostic fault occurring.
    • The TCM cancels the DTC default actions when the ignition switch is OFF long enough in order to power down the TCM.

Diagnostic Aids

    • Ensure the wiring harness is not stretched too tightly or other components are pressing on the automatic transmission inline 20-way connector body.
    • Inspect for proper clearance to all other components and wiring. Refer to Testing for Intermittent Conditions and Poor Connections .

Test Description

The numbers below refer to the step numbers on the diagnostic table.

  1. This step tests the TCM and the wiring to the transmission.

  2. This step verifies the circuit has the correct resistance.

Step

Action

Values

Yes

No

1

Did you perform the Diagnostic System Check - Vehicle?

--

Go to Step 2

Go to Diagnostic System Check - Vehicle

2

  1. Install a scan tool.
  2. Turn ON the ignition, with the engine OFF.
  3. Important: Before clearing the DTC, use the scan tool in order to record the Freeze Frame and Failure Records. Using the Clear Info function erases the Freeze Frame and Failure Records from the TCM.

  4. Record the DTC Freeze Frame and Failure Records.
  5. Clear the DTC.
  6. Select TCC Duty Cycle CKT Status parameter on the scan tool.
  7. Drive the vehicle in D4.

When the TCC Duty Cycle is above 40%, does the scan tool display indicate a short to voltage?

--

Go to Step 3

Go to Testing for Intermittent Conditions and Poor Connections

3

  1. Turn OFF the ignition.
  2. Disconnect the automatic transmission inline 20-way connector. Additional DTCs may set.
  3. Install the J 44152 jumper harness (20 pins) on the engine side of the automatic transmission inline 20-way connector.
  4. Using the J 35616 GM-approved terminal test kit, connect a test lamp between the TCC PWM solenoid valve control circuit of the J 44152 and ground. Refer to Automatic Transmission Inline 20-Way Connector End View .
  5. Turn ON the ignition, with the engine OFF.

Is the test lamp ON?

--

Go to Step 4

Go to Step 5

4

Test the control circuit of the TCC PWM Solenoid valve for a short to voltage between the TCM connector and the automatic transmission inline 20-way connector. Refer to Testing for a Short to Voltage and Wiring Repairs .

Did you find and correct the condition?

--

Go to Step 10

Go to Step 9

5

  1. Turn OFF the ignition.
  2. Disconnect the J 44152 from the engine side of the automatic transmission inline 20-way connector.
  3. Install the J 44152 on the transmission side of the automatic transmission inline 20-way connector.
  4. Using the DMM and the J 35616 , measure the resistance between the ignition 1 voltage and the TCC PWM solenoid valve control circuits of the J 44152 . Refer to Automatic Transmission Inline 20-Way Connector End View .

Is the resistance less than the specified value?

10 ohms

Go to Step 6

Go to Testing for Intermittent Conditions and Poor Connections

6

  1. Leave the DMM test leads connected.
  2. Disconnect the TCC PWM solenoid valve from the automatic transmission wiring harness.

Is the resistance less than the specified value?

10 ohms

Go to Step 7

Go to Step 8

7

Replace the automatic transmission wiring harness. Refer to Wiring Harness Replacement .

Did you complete the replacement?

--

Go to Step 10

--

8

Replace the TCC PWM solenoid valve. Refer to Torque Converter Clutch Pulse Width Modulation Solenoid Replacement .

Did you complete the replacement?

--

Go to Step 10

--

9

Replace the TCM. Refer to Control Module References for replacement, setup and programming.

Did you complete the replacement?

--

Go to Step 10

--

10

Perform the following procedure in order to verify the repair:

  1. Select DTC.
  2. Select Clear Info.
  3. Operate the vehicle under the following conditions:
  4. • Drive the vehicle in D4.
    • Allow the TCC duty cycle to be 36% or greater.
  5. Select Specific DTC.
  6. Enter DTC P2763.

Has the test run and passed?

--

Go to Step 11

Go to Step 2

11

With the scan tool, observe the stored information, capture info. and DTC info.

Does the scan tool display any DTCs that you have not diagnosed?

--

Go to Diagnostic Trouble Code (DTC) List - Vehicle

System OK