GM Service Manual Online
For 1990-2009 cars only

DTC P0722 2.4L


Object Number: 1451478  Size: SF
Master Electrical Component List
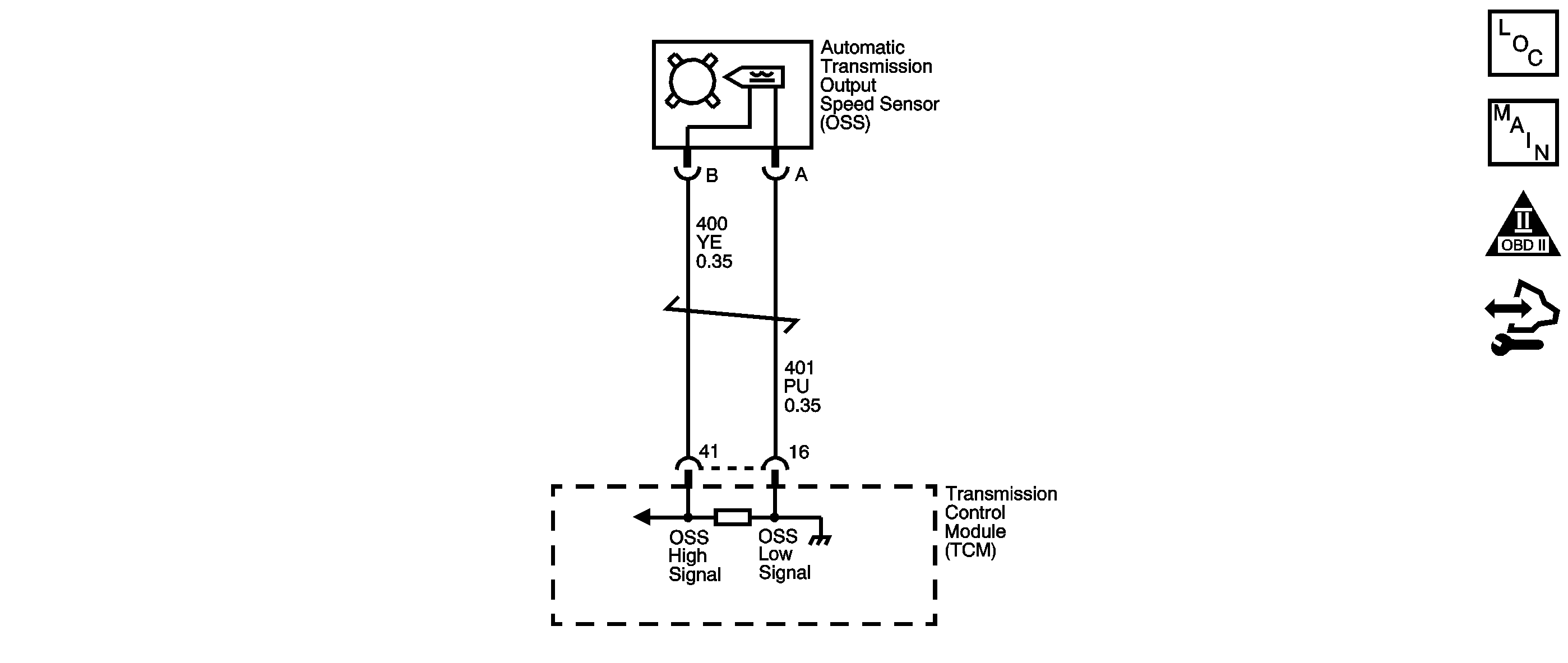
Automatic Transmission Controls Schematics
OBD II Symbol Description Notice
Control Module References

Circuit Description

The automatic transmission output speed sensor (OSS) provides vehicle speed information to the transmission control module (TCM). The OSS is a permanent magnet generator mounted to the transmission case. The OSS produces an AC voltage as the transmission speed sensor rotor teeth pass through the magnetic field of the sensor. The AC voltage level increases as the speed of the vehicle increases. The TCM converts the AC voltage into a digital signal. The TCM uses the vehicle speed signal to determine shift timing, torque converter clutch (TCC) apply, TCC release, and gear ratio calculations.

When the TCM detects a low output speed and the vehicle has a large engine speed in a drive gear, then DTC P0722 sets. DTC P0722 is a type B DTC.

DTC Descriptor

This diagnostic procedure supports the following DTC:

DTC P0722 Output Speed Sensor Circuit Low Voltage

Conditions for Running the DTC

    • No MAP DTCs P0107 or P0108.
    • No TP DTCs P0120 or P0220.
    • No ISS DTCs P0716 or P0717.
    • No OSS DTC P0723.
    • The engine is running for 5 seconds.
    • The transmission range is not PARK or NEUTRAL.
    • The Calc. Throttle Position is 8 percent or more.
    • The input speed is between 1,500 RPM and 5,000 RPM.
    • The engine torque is greater than 50 N·m (37 lb ft).
    • The TFT is -40°C (-40°F) or more.
    • The TCC slip speed is -20 RPM or more.

Conditions for Setting the DTC

The transmission OSS is less than 200 RPM for 4.5 seconds.

Action Taken When the DTC Sets

    • The TCM illuminates the malfunction indicator lamp (MIL) during the second consecutive trip in which the Conditions for Setting the DTC are met.
    • The TCM commands maximum line pressure.
    • The TCM freezes transmission adaptive functions.
    • The TCM calculates output speed from input speed, engine speed, and commanded gear.
    • The TCM records the operating conditions when the Conditions for Setting the DTC are met. The TCM stores this information as Freeze Frame and Failure Records.
    • The TCM stores DTC P0722 in TCM history during the second consecutive trip in which the Conditions for Setting the DTC are met.

Conditions for Clearing the MIL/DTC

    • The TCM turns OFF the MIL during the third consecutive trip in which the diagnostic test runs and passes.
    • A scan tool can clear the MIL/DTC.
    • The TCM clears the DTC from TCM history if the vehicle completes 40 warm-up cycles without an emission related diagnostic fault occurring.
    • The TCM cancels the DTC default actions when the ignition switch is OFF long enough in order to power down the TCM.

Test Description

The numbers below refer to the step numbers on the diagnostic table.

  1. This step tests the ability of the OSS to produce an AC voltage. This step also verifies the integrity of the wiring to the TCM.

  2. This step tests the OSS circuit for correct resistance.

Step

Action

Value(s)

Yes

No

1

Did you perform the Diagnostic System Check - Vehicle?

--

Go to Step 2

Go to Diagnostic System Check - Vehicle

2

  1. Install a scan tool.
  2. Turn ON the ignition, with the engine OFF.
  3. Important: Before clearing the DTC, use the scan tool in order to record the Freeze Frame and Failure Records. Using the Clear Info function erases the Freeze Frame and Failure Records from the TCM.

  4. Record the DTC Freeze Frame and Failure Records.
  5. Clear the DTC.
  6. Notice: Support the lower control arms in the normal horizontal position in order to avoid damage to the drive axles. Do not operate the vehicle in gear with the wheels hanging down at full travel.

  7. Raise and support the drive wheels.
  8. Start and idle the engine.
  9. Place the transmission in DRIVE.
  10. Select Transmission OSS on the scan tool.

With the drive wheels rotating, does Transmission OSS increase when the wheel speed increases?

--

Go to Testing for Intermittent Conditions and Poor Connections

Go to Step 3

3

  1. Turn OFF the ignition.
  2. Disconnect the TCM connector.
  3. Using the J 35616 GM-approved terminal test kit, connect the DMM between the OSS high signal circuit and the OSS low signal circuit at the TCM connector.
  4. Select AC volts.
  5. Turn ON the ignition, with the engine OFF.
  6. Rotate the right front drive wheel by hand.
  7. Observe the DMM display.

Can a voltage greater than the specified value be obtained?

0.5 V AC

Go to Step 14

Go to Step 4

4

  1. Leave the DMM test leads connected.
  2. Measure circuit resistance.

Is the circuit resistance within the specified range?

1,530-1,870 ohms

Go to Step 8

Go to Step 5

5

Is the circuit resistance greater than the specified value?

1,870 ohms

Go to Step 11

Go to Step 6

6

  1. Leave the DMM test leads connected.
  2. Disconnect the OSS connector at the transmission.

Is the circuit resistance less than the specified value?

1,530 ohms

Go to Step 7

Go to Step 13

7

Test the high signal circuit and the low signal circuit of the OSS for being shorted together.

Refer to Circuit Testing and Wiring Repairs .

Did you find and correct the condition?

--

Go to Step 15

--

8

Test the high signal circuit of the OSS for a short to ground.

Refer to Testing for Short to Ground and Wiring Repairs .

Did you find and correct the condition?

--

Go to Step 15

Go to Step 9

9

  1. Connect the TCM connector.
  2. Select DC volts on the DMM.
  3. Using the J 35616 GM-approved terminal test kit, connect the DMM test leads to the OSS high signal and the OSS low signal circuit of the OSS connector.
  4. Turn ON the ignition, with the engine OFF.

Does the DMM display system voltage?

--

Go to Step 10

Go to Step 12

10

Test the high signal circuit of the OSS for a short to voltage.

Refer to Testing for a Short to Voltage and Wiring Repairs .

Did you find and correct the condition?

--

Go to Step 15

--

11

  1. Test the high signal circuit of the OSS for an open.
  2. Test the low signal circuit of the OSS for an open.

Refer to Testing for Continuity and Wiring Repairs .

Did you find and correct a condition?

--

Go to Step 15

Go to Step 13

12

  1. Remove the OSS.
  2. Refer to Vehicle Speed Sensor Replacement .

  3. Inspect the OSS and the transmission for the following conditions:
  4. • Incorrect OSS
    • OSS damage
    • Excessive OSS to speed sensor rotor gap
    • Incorrect speed sensor rotor alignment
    • Speed sensor rotor damage
  5. Repair any of the above conditions as necessary.

Refer to Final Drive Assembly Disassemble or Output Speed Sensor Installation .

Did you complete the repair?

--

Go to Step 15

--

13

Replace the OSS.

Refer to Vehicle Speed Sensor Replacement .

Did you complete the replacement?

--

Go to Step 15

--

14

Replace the TCM.

Refer to Control Module References for replacement, setup, and programming.

Did you complete the replacement?

--

Go to Step 15

--

15

Perform the following procedure in order to verify the repair:

  1. Select DTC.
  2. Select Clear Info.
  3. Operate the vehicle and ensure that the transmission OSS is greater than 500 RPM for 3 seconds.
  4. Select Specific DTC.
  5. Enter DTC P0722.

Has the test run and passed?

--

Go to Step 16

Go to Step 2

16

With the scan tool, observe the stored information, capture info and DTC info.

Does the scan tool display any DTCs that you have not diagnosed?

--

Go to Diagnostic Trouble Code (DTC) List - Vehicle

System OK