GM Service Manual Online
For 1990-2009 cars only

Object Number: 1595305  Size: LF
Master Electrical Component List
Automatic Transmission Controls Schematics
OBD II Symbol Description Notice
Control Module References

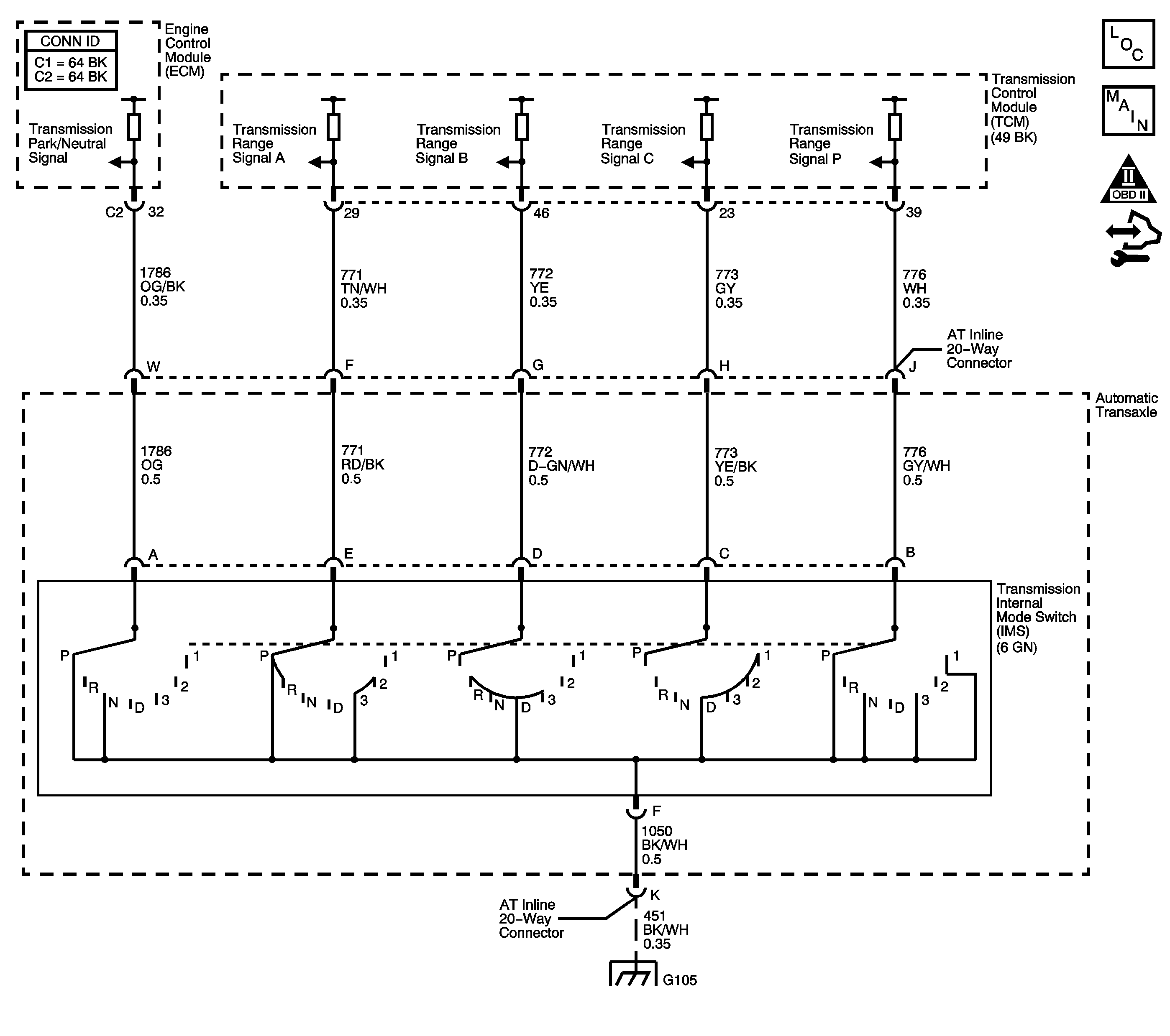
Circuit Description

The transmission internal mode switch (IMS) is a sliding contact switch attached to the selector detent inside the transmission side cover. The 4 inputs to the transmission control module (TCM) indicate the transmission range selector position. The input voltage level at the TCM is high, B+, when the IMS is open and low when the switch is closed to ground. The 4 input parameters represented are Signals A, B, C and P - Parity. Refer to Transmission Internal Mode Switch Logic .

If the TCM detects the IMS Signal B is always high, then DTC P1822 sets. DTC P1822 is a type B DTC.

DTC Descriptor

This diagnostic procedure supports the following DTC:

DTC P1822 Internal Mode Switch B Circuit High Voltage

Conditions for Running the DTC

    • The engine speed is greater than 500 RPM for 5 seconds.
    • No engine torque malfunction.
    • The engine torque is 50 N·m (37 lb ft) or greater.

Conditions for Setting the DTC

The IMS Signal B is continuously high this ignition cycle, and the following conditions occur:

    • The IMS indicates PARK or NEUTRAL for 1 second or greater.
    • The IMS indicates transitional position D2-D1 for 8 seconds or greater.

Action Taken When the DTC Sets

    • The TCM requests the engine control module (ECM) to illuminate the malfunction indicator lamp (MIL) during the consecutive trip in which the Conditions for Setting the DTC are met.
    • The TCM commands maximum line pressure.
    • The TCM commands an alternate coast shift pattern where downshifts occur at higher vehicle speeds while coasting.
    • The TCM freezes transmission adaptive functions.
    • The TCM disables the touch activated power (TAP) shift operation.
    • The TCM assumes D4 for shifting.
    • The TCM records the operating conditions when the Conditions for Setting the DTC are met. The TCM stores this information as Failure Records.
    • The TCM stores DTC P1822 in TCM history during the consecutive trip in which the Conditions for Setting the DTC are met.

Conditions for Clearing the DTC

    • A scan tool can clear the DTC.
    • The TCM clears the DTC from TCM history if the vehicle completes 40 warm-up cycles without an emission related diagnostic fault occurring.
    • The TCM cancels the DTC default actions when the ignition switch is OFF long enough in order to power down the TCM.

Test Description

The number below refers to the step number on the diagnostic table.

  1. This step tests the integrity of the engine harness and TCM by inspecting for Signal B state change from HI to LOW. A LOW signal indicates the fault is either in the internal transmission harness or the switch. A HI signal indicates the fault is either in the engine harness or the TCM.

Step

Action

Values

Yes

No

1

Did you perform the Diagnostic System Check - Vehicle?

--

Go to Step 2

Go to Diagnostic System Check - Vehicle

2

  1. Install a scan tool.
  2. Turn ON the ignition with the engine OFF.
  3. Important: Before clearing the DTC, use the scan tool in order to record the Failure Records. Using the Clear Info function erases the Failure Records from the TCM.

  4. Record the DTC Freeze Frame and Failure Records.
  5. Clear the DTC.
  6. Select IMS on the scan tool.
  7. Place the range selector in D4.

Does the scan tool IMS parameter indicate Drive 4?

--

Go to Testing for Intermittent Conditions and Poor Connections

Go to Step 3

3

  1. Turn OFF the ignition.
  2. Disconnect the automatic transmission inline 20-way connector. Additional DTCs may set.
  3. Install the J 44152 jumper harness on the engine side of the automatic transmission inline 20-way connector.
  4. Using the J 35616 GM-approved terminal test kit, connect a fused jumper wire from the transmission range signal B circuit of the J 44152 to a good ground. Refer to Automatic Transmission Inline 20-Way Connector End View .
  5. Turn ON the ignition, with the engine OFF.
  6. Select IMS A/B/C/P on the scan tool.

Does IMS signal B circuit indicate LOW?

--

Go to Step 5

Go to Step 4

4

Test the transmission range signal B circuit of the IMS for an open between the TCM connector and the automatic transmission inline 20-way connector. Refer to Testing for Continuity and Wiring Repairs .

Did you find and correct a condition?

--

Go to Step 9

Go to Step 8

5

Test the transmission range signal B circuit of the IMS for an open between the automatic transmission inline 20-way connector and the IMS. Refer to Testing for Continuity .

Did you find the condition?

--

Go to Step 6

Go to Step 7

6

Replace the automatic transmission wiring harness. Refer to Wiring Harness Replacement .

Did you complete the replacement?

--

Go to Step 9

--

7

Replace the lever assembly manual shaft detent with internal mode switch. Refer to Manual Shift Detent Lever with Shaft Position Switch Assembly Removal in Transmission Unit Repair Manual.

Did you complete the replacement?

--

Go to Step 9

--

8

Replace the TCM. Refer to Control Module References for replacement, setup and programming.

Did you complete the replacement?

--

Go to Step 9

--

9

Perform the following procedure in order to verify the repair:

  1. Select DTC.
  2. Select Clear Info.
  3. Start the engine and idle in PARK for 10 seconds.
  4. Select IMS A/B/C/P on the scan tool.
  5. Move the range selector from PARK to D4.
  6. Ensure the IMS signal B changes from HI to LOW.
  7. Select Specific DTC.
  8. Enter DTC P1822.

Has the test run and passed?

--

Go to Step 10

Go to Step 2

10

With a scan tool, observe the stored information, capture info and DTC info.

Does the scan tool display any DTCs that you have not diagnosed?

--

Go to Diagnostic Trouble Code (DTC) List - Vehicle

System OK