GM Service Manual Online
For 1990-2009 cars only

Front Hinge Pillar Body Sectioning Coupe

Removal Procedure

Caution: Refer to Approved Equipment for Collision Repair Caution in the Preface section.

Caution: Sectioning should be performed only in the recommended areas. Failure to do so may compromise the structural integrity of the vehicle and cause personal injury if the vehicle is in a collision.


Object Number: 1550202  Size: SH

The coupe body side outer panel are available in one-piece side frames. You can perform any one of these replacement procedures separately or in any combination, depending upon the extent of damage to the vehicle. Sectioning must take place in specified areas only. Stay away from the door and window opening radius areas. Section only in straight areas of the openings.

  1. Disable the SIR system. Refer to SIR Disabling and Enabling .
  2. Disconnect the negative battery cable. Refer to Battery Negative Cable Disconnection and Connection .
  3. Remove all related panels and components.
  4. Repair as much of the damaged area as possible. Refer to Dimensions - Body .
  5. Remove the sealers and anti-corrosion materials from the repair area, as necessary. Refer to Anti-Corrosion Treatment and Repair .
  6. Important: Sectioning can be done anywhere in the straight areas of the windshield pillar and along the rocker panel.

  7. Locate the area on the panel where sectioning will be performed.

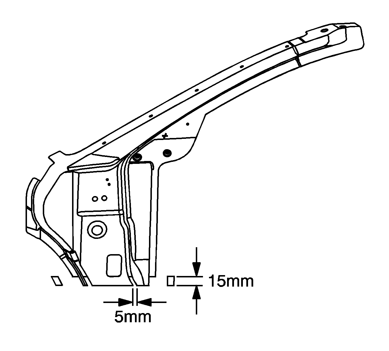
  8. Object Number: 1550183  Size: SH
  9. Measure from any trim attachment hole within the recommended sectioning areas. Mark the location for section cutting on the vehicle at the windshield pillar and rocker panel locations.
  10. Important: Note the number and location of the factory welds for installation of the hinge pillar.

  11. Locate and drill out all factory welds.
  12. Important: Do NOT damage any other panels or reinforcements when cutting at the marked locations.

  13. Cut the panel at the location laid out in the previous steps.

  14. Object Number: 1550205  Size: SH
  15. Remove the damaged hinge pillar.

Installation Procedure

  1. Locate the area on the service panel to be sectioned.
  2. Measure and mark the cut line location on the service part at the same location as on the vehicle layout.

  3. Object Number: 1550227  Size: SH
  4. Cut the outer front hinge pillar in corresponding locations to fit the remaining original panel. The sectioning joint should be trimmed to allow a gap of 1½ times the metal thickness at the sectioning joint.

  5. Object Number: 876967  Size: SH
  6. Create a 50 mm (2 in) backing plate from the unused portion of the service part for the windshield area.
  7. Create a 100 mm (4 in) backing plate from the unused portion of the service part for the rocker area.
  8. Trim the backing plates as necessary to fit behind the panel at the sectioning joint.
  9. Important: If the location of the original plug weld holes can not be determined, space the plug weld holes every 40 mm (1 1/2 in) apart.

  10. Drill 8 mm (5/16 in) plug weld holes along the sectioning area in the service part, and at the locations noted from the original panel.

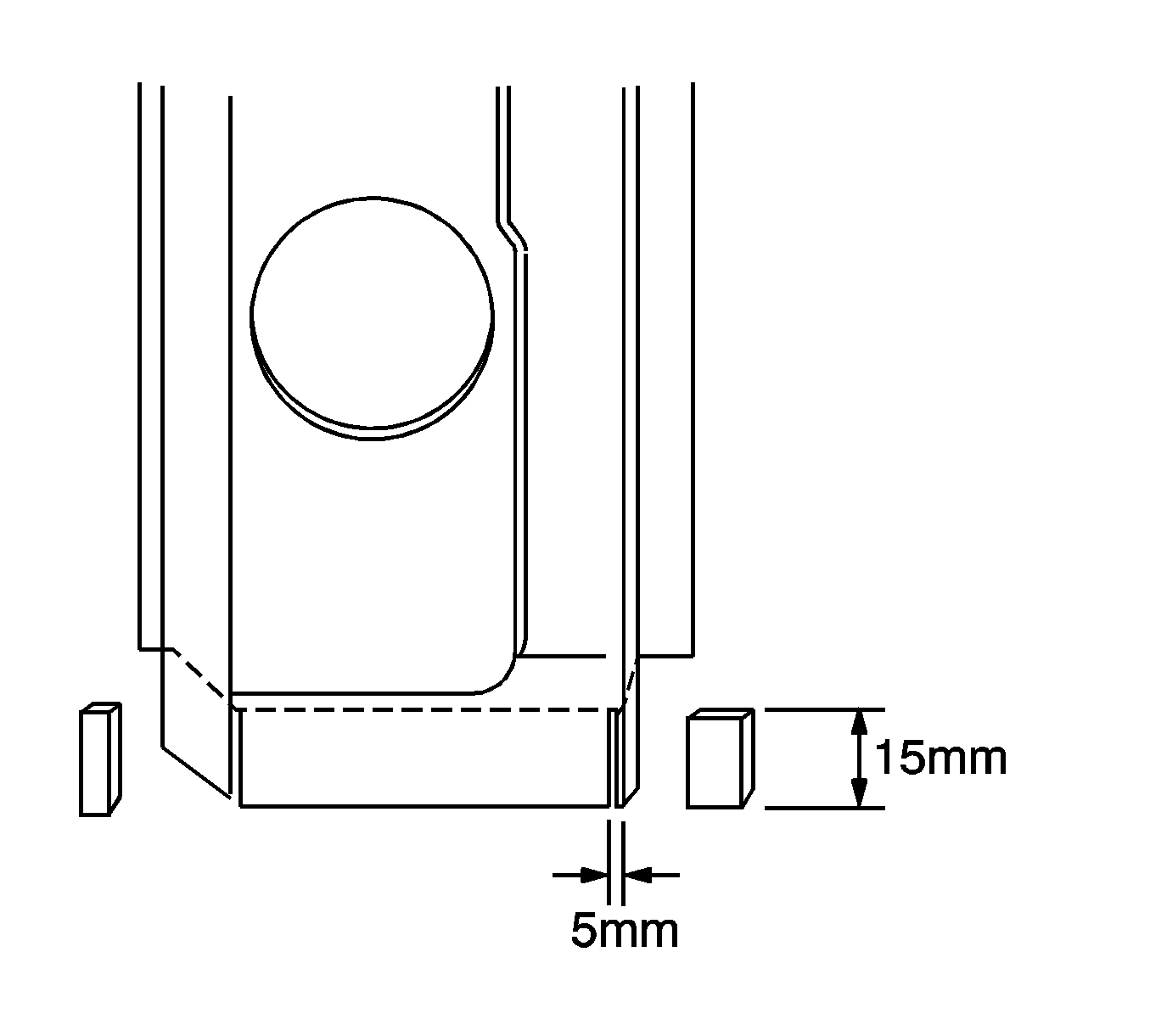
  11. Object Number: 1215040  Size: SH
  12. Prepare all mating surfaces as necessary.
  13. Apply 3M Weld-Thru Coating P/N 05916 or equivalent to all mating surfaces.
  14. Fit the backing plates halfway into the sectioning joints, 25 mm (1 in) at the windshield pillar and 50 mm (2 in) at the rocker panel areas. Clamp the plates in place, and plug weld to the section joint
  15. Position the outer front pillar to the vehicle using 3-dimensional measuring equipment. Clamp the pillar in place.
  16. Plug weld accordingly.

  17. Object Number: 1550236  Size: SH
  18. Plug weld accordingly.
  19. Stitch weld the butt weld locations.
  20. To create a solid weld with minimum heat distortion, make a 25 mm (1 in) stitch weld along the seam with gaps of 25 mm (1 in). Go back and complete the stitch weld.
  21. Clean and prepare all of the welded surfaces.
  22. Apply the sealers and anti-corrosion materials to the repair area, as necessary. Refer to Anti-Corrosion Treatment and Repair .
  23. Paint the repaired area. Refer to Basecoat/Clearcoat Paint Systems .
  24. Install all of the related panels and components.
  25. Connect the negative battery cable. Refer to Battery Negative Cable Disconnection and Connection .
  26. Enable the SIR system. Refer to SIR Disabling and Enabling .

Front Hinge Pillar Body Sectioning Sedan

Removal Procedure

Caution: Refer to Approved Equipment for Collision Repair Caution in the Preface section.

Caution: Sectioning should be performed only in the recommended areas. Failure to do so may compromise the structural integrity of the vehicle and cause personal injury if the vehicle is in a collision.


Object Number: 1215013  Size: SH

The sedan and extended sedan body side outer panel are available in one-piece side frames. You can perform any one of these replacement procedures separately or in any combination, depending upon the extent of damage to the vehicle. Sectioning must take place in specified areas only. Stay away from the door and window opening radius areas. Section only in straight areas of the openings.

  1. Disable the SIR system. Refer to SIR Disabling and Enabling .
  2. Disconnect the negative battery cable. Refer to Battery Negative Cable Disconnection and Connection .
  3. Remove all related panels and components.
  4. Repair as much of the damaged area as possible. Refer to Dimensions - Body .
  5. Remove the sealers and anti-corrosion materials from the repair area, as necessary. Refer to Anti-Corrosion Treatment and Repair .
  6. Important: Sectioning can be done anywhere in the straight areas of the windshield pillar and along the rocker panel.

  7. Locate the area on the panel where sectioning will be performed.

  8. Object Number: 1215017  Size: SH
  9. Measure from any trim attachment hole within the recommended sectioning areas. Mark the location for section cutting on the vehicle at the windshield pillar and rocker panel locations.
  10. Important: Note the number and location of the factory welds for installation of the hinge pillar.

  11. Locate and drill out all factory welds.
  12. Important: Do NOT damage any other panels or reinforcements when cutting at the marked locations.

  13. Cut the panel at the location laid out in the previous steps.

  14. Object Number: 1215018  Size: SH
  15. Remove the damaged hinge pillar.

Installation Procedure

  1. Locate the area on the service panel to be sectioned.
  2. Measure and mark the cut line location on the service part at the same location as on the vehicle layout.

  3. Object Number: 1215039  Size: SH
  4. Cut the outer front hinge pillar in corresponding locations to fit the remaining original panel. The sectioning joint should be trimmed to allow a gap of 1½ times the metal thickness at the sectioning joint.

  5. Object Number: 876967  Size: SH
  6. Create a 50 mm (2 in) backing plate from the unused portion of the service part for the windshield area.
  7. Create a 100 mm (4 in) backing plate from the unused portion of the service part for the rocker area.
  8. Trim the backing plates as necessary to fit behind the panel at the sectioning joint.
  9. Important: If the location of the original plug weld holes can not be determined, space the plug weld holes every 40 mm (1 1/2 in) apart.

  10. Drill 8 mm (5/16 in) plug weld holes along the sectioning area in the service part, and at the locations noted from the original panel.

  11. Object Number: 1215040  Size: SH
  12. Prepare all mating surfaces as necessary.
  13. Apply 3M Weld-Thru Coating P/N 05916 or equivalent to all mating surfaces.
  14. Fit the backing plates halfway into the sectioning joints, 25 mm (1 in) at the windshield pillar and 50 mm (2 in) at the rocker panel areas. Clamp the plates in place, and plug weld to the section joint
  15. Position the outer front pillar to the vehicle using 3-dimensional measuring equipment. Clamp the pillar in place.
  16. Plug weld accordingly.

  17. Object Number: 1215041  Size: SH
  18. Plug weld accordingly.
  19. Stitch weld the butt weld locations.
  20. To create a solid weld with minimum heat distortion, make a 25 mm (1 in) stitch weld along the seam with gaps of 25 mm (1 in). Go back and complete the stitch weld.
  21. Clean and prepare all of the welded surfaces.
  22. Apply the sealers and anti-corrosion materials to the repair area, as necessary. Refer to Anti-Corrosion Treatment and Repair .
  23. Paint the repaired area. Refer to Basecoat/Clearcoat Paint Systems .
  24. Install all of the related panels and components.
  25. Connect the negative battery cable. Refer to Battery Negative Cable Disconnection and Connection .
  26. Enable the SIR system. Refer to SIR Disabling and Enabling .

Front Hinge Pillar Body Sectioning Convertible

Removal Procedure

Caution: Refer to Approved Equipment for Collision Repair Caution in the Preface section.

Caution: Refer to Glass and Sheet Metal Handling Caution in the Preface section.

Caution: Refer to Collision Sectioning Caution in the Preface section.


    Object Number: 1713612  Size: SH

    Important: The hinge pillar can be replaced at the factory seams, but requires the removal of the windshield, rocker outer-most panel, and the upper fender rail. The sectioning procedures have been developed as a more cost-effective alternative to complete replacement. The specific area to be sectioned is determined by the extent of the damage to the vehicle.

  1. Disable the SIR system. Refer to SIR Disabling and Enabling .
  2. Disconnect the negative battery cable. Refer to Battery Negative Cable Disconnection and Connection .
  3. Remove all related panels and components.
  4. Repair as much of the damage as possible to factory specifications. Refer to Dimensions - Body .
  5. Caution: Refer to Foam Sound Deadeners Caution in the Preface section.

  6. Note the location and remove the sealers and anti-corrosion materials from the repair area, as necessary. Refer to Anti-Corrosion Treatment and Repair .

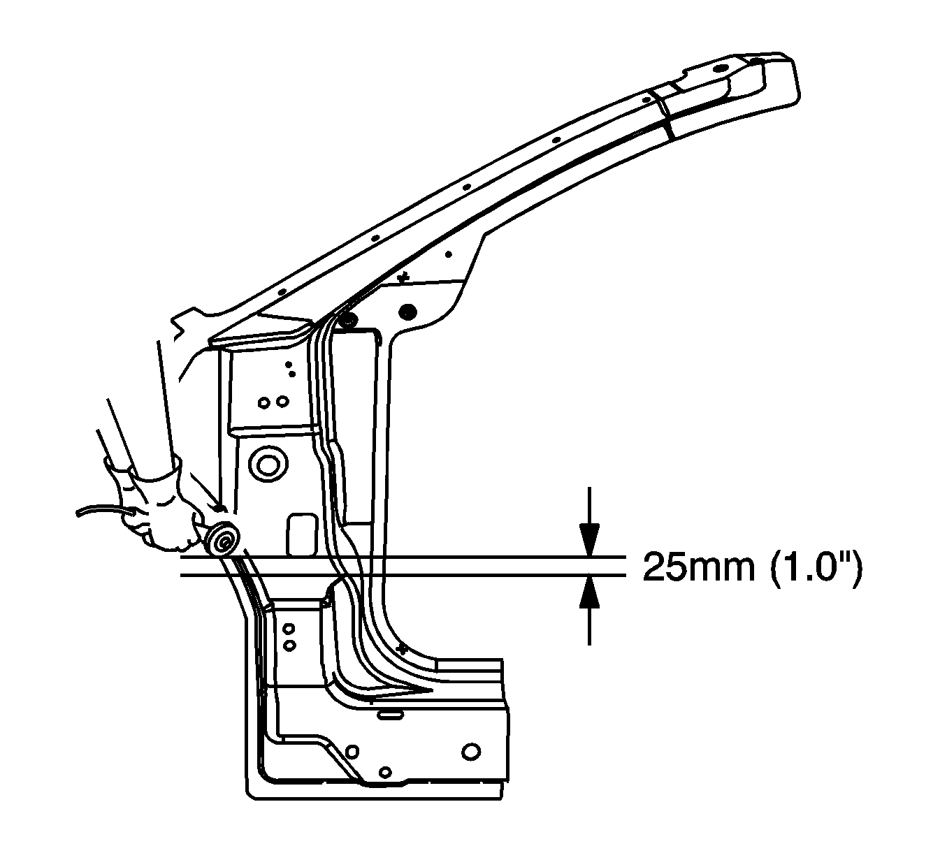
  7. Object Number: 1713615  Size: SH
  8. Measure 25 mm (1 im) down from the large wiring harness hole (1) in the hinge pillar. Mark a horizontal line.

  9. Object Number: 1713617  Size: SH

    Important: Do not damage any inner panels or reinforcements.

  10. Cut the panel in the locations where sectioning is to be performed.

  11. Object Number: 1713619  Size: SH
  12. Locate and drill out all factory welds. Note the number and location of the welds for installation of the service part.
  13. Remove the damaged lower outer hinge pillar.

Installation Procedure


    Object Number: 1713620  Size: SH
  1. On the vehicle, cut and remove 13 mm (1/2 in) from the flanges on either side of the remaining section of the original hinge pillar, Cut 5 mm (3/16 in) wide gaps in the bottom corners.
  2. Important: The metal of the hinge pillar is of a heavy gaauge. However, the tab can be created using the appropriate tools.


    Object Number: 1713621  Size: SH
  3. Step the tabs inward on the original hinge pillar to allow the service section to fit over the original hinge pillar.

  4. Object Number: 1713622  Size: SH
  5. On the service part, cut just below the conduit hole (1).

  6. Object Number: 1713623  Size: SH
  7. Drill 8 mm (5/16 in) plug weld holes in the service part as necessary in the locations noted from the original panel and along the sectioning cut.
  8. Prepare all attachment surfaces as necessary.
  9. Apply 3M Weld-Thru Coating P/N 05916 or equivalent to all mating surfaces.

  10. Object Number: 1713624  Size: SH
  11. Position the created service part to the vehicle using 3-dimensional measuring equipment, carefully overlapping the service part over the original panel. Clamp in place.

  12. Object Number: 1713625  Size: SH
  13. Plug weld accordingly (2).
  14. Important: To create a solid weld with minimum heat distortion, make 25 mm (1 in) stitch welds along the seam with 25 mm (1 in) gaps between them. Complete the stitch weld.

  15. Clean and prepare all welded surfaces.
  16. Apply the sealers and anti-corrosion materials to the repair area, as necessary. Refer to Anti-Corrosion Treatment and Repair .
  17. Paint the repair area. Refer to Basecoat/Clearcoat Paint Systems .
  18. Install all related panels and components.
  19. Connect the negative battery cable. Refer to Battery Negative Cable Disconnection and Connection .
  20. Enable the SIR system. Refer to SIR Disabling and Enabling .