GM Service Manual Online
For 1990-2009 cars only

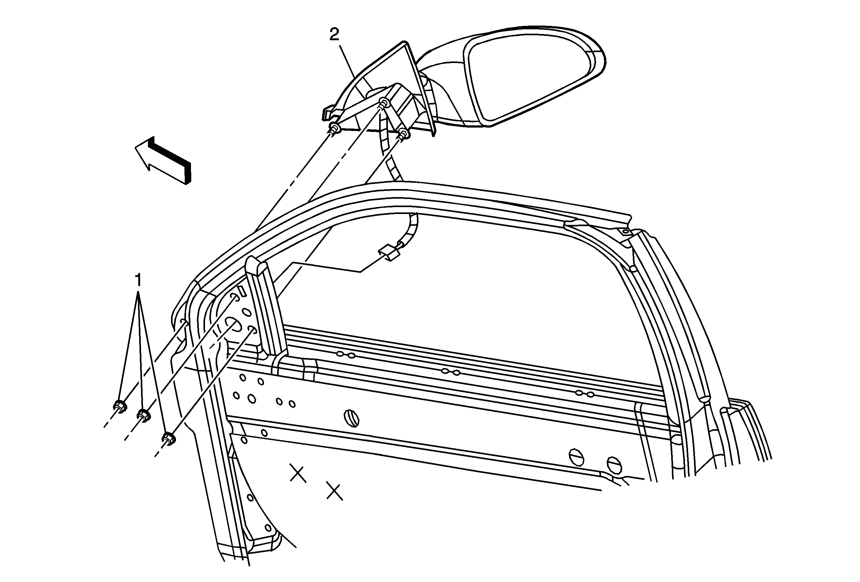
Outside Rearview Mirror Replacement Coupe and Convertible


Object Number: 1563331  Size: SF

Callout

Component Name

Notice: Refer to Fastener Notice in the Preface section.

Fastener Tightening Specifications: Refer to Fastener Tightening Specifications .

Preliminary Procedure

Remove the interior trim panel. Refer to Front Side Door Trim Panel Replacement .

1

Mirror Outside Rearview Bolt

Tip:
Disconnect the mirror electrical connector.

Tighten
10 N·m (89 lb in)

2

Outside Rearview Mirror Assembly

Outside Rearview Mirror Replacement Sedan


Object Number: 1576743  Size: MF

Callout

Component Name

Notice: Refer to Fastener Notice in the Preface section.

Fastener Tightening Specifications: Refer to Fastener Tightening Specifications .

Preliminary Procedures

Remove the interior trim panel. Refer to Front Side Door Trim Panel Replacement .

1

Outside Rearview Mirror Nuts (Qty: 3)

Tip
Disconnect the mirror electrical connector.

Tighten
10 N·m (89 lb in)

2

Outside Rearview Mirror Assembly