GM Service Manual Online
For 1990-2009 cars only

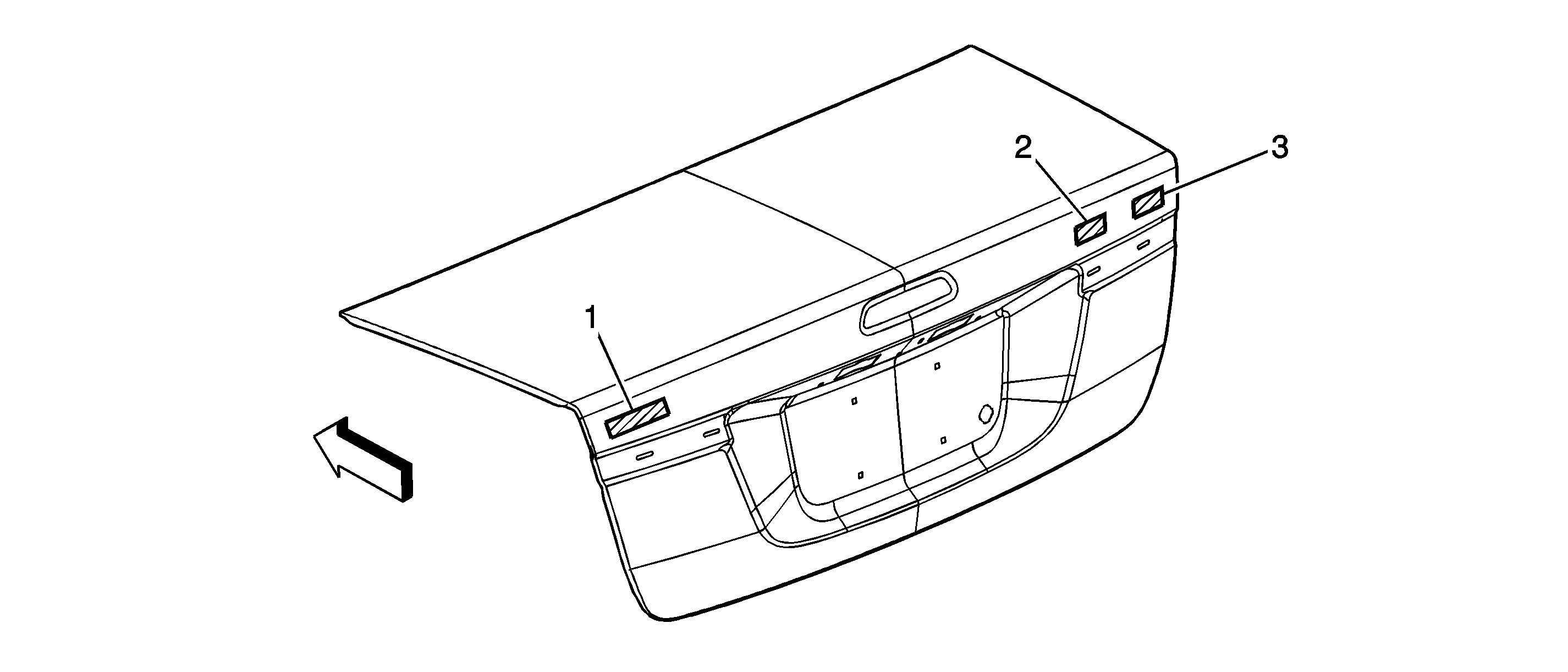
Rear Compartment Lid Emblem/Nameplate Replacement Coupe/Convertible


Object Number: 1572289  Size: SF

Callout

Component Name

Fastener Tightening Specifications: Refer to Fastener Tightening Specifications .

1

Rear Compartment Lid Name Plate Assembly (Pontiac G6)

Tip

    • When removing protective liners from adhesive tape, be careful not to touch tape with hands and do not allow tape to come in contact with dirt or any foreign matter prior to adhesion.
    • Use a J 25070 or equivalent to remove the old nameplate. Clean all adhesive from rear compartment lid, wipe surface dry with a clean lint-free towel prior to installing new nameplate.

2

Rear Compartment Lid Emblem Assembly (Pontiac Emblem)

Tip

    • When removing protective liners from adhesive tape, be careful not to touch tape with hands and do not allow tape to come in contact with dirt or any foreign matter prior to adhesion.
    • Use a J 25070 or equivalent to remove the old emblem. Clean all adhesive from rear compartment lid, wipe surface dry with a clean lint-free towel prior to installing new nameplate.

3

Rear Compartment Lid Name Plate Assembly (V6)

Tip

    • When removing protective liners from adhesive tape, be careful not to touch tape with hands and do not allow tape to come in contact with dirt or any foreign matter prior to adhesion.
    • Use a J 25070 or equivalent to remove the old nameplate. Clean all adhesive from rear compartment lid, wipe surface dry with a clean lint-free towel prior to installing new nameplate.

Rear Compartment Lid Emblem/Nameplate Replacement Sedan


Object Number: 1572291  Size: SF

Callout

Component Name

Fastener Tightening Specifications: Refer to Fastener Tightening Specifications .

1

Rear Compartment Lid Name Plate Assembly (Pontiac G6)

Tip

    • When removing protective liners from adhesive tape, be careful not to touch tape with hands and do not allow tape to come in contact with dirt or any foreign matter prior to adhesion.
    • Use a J 25070 or equivalent to remove old nameplate. Clean all adhesive from rear compartment lid, wipe surface dry with a clean lint-free towel prior to installing new nameplate.

2

Rear Compartment Lid Emblem Assembly (Pontiac Emblem)

Tip

    • When removing protective liners from adhesive tape, be careful not to touch tape with hands and do not allow tape to come in contact with dirt or any foreign matter prior to adhesion.
    • Use a J 25070 or equivalent to remove old emblem. Clean all adhesive from rear compartment lid, wipe surface dry with a clean lint-free towel prior to installing new emblem.

3

Rear Compartment Lid Name Plate Assembly (V6)

Tip

    • When removing protective liners from adhesive tape, be careful not to touch tape with hands and do not allow tape to come in contact with dirt or any foreign matter prior to adhesion.
    • Use a J 25070 or equivalent to remove old nameplate. Clean all adhesive from rear compartment lid, wipe surface dry with a clean lint-free towel prior to installing new nameplate.