GM Service Manual Online
For 1990-2009 cars only

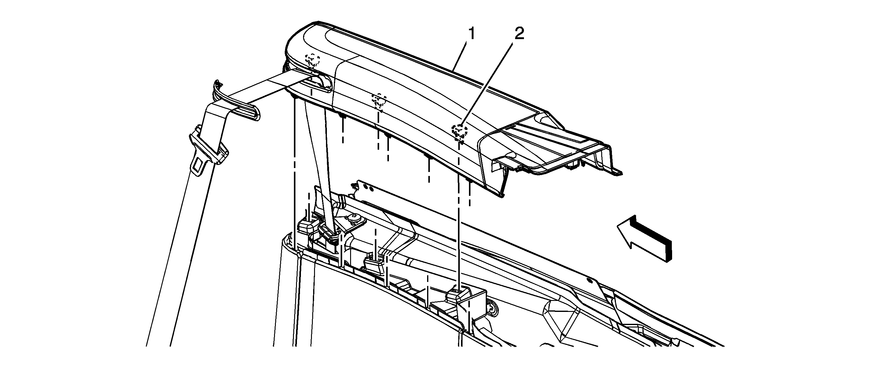
Lock Pillar Upper Garnish Molding Replacement Convertible


Object Number: 1566280  Size: SF

Callout

Component Name

Preliminary Procedure

Unbolt the front seat belt fastener from the front seat. Refer to Seat Belt Retractor Pretensioner Replacement - Front .

1

Body Side Upper Trim Panel Assembly

2

Body Side Upper Trim Panel Clip (Qty: 3)