GM Service Manual Online
For 1990-2009 cars only

Object Number: 1722430  Size: MH

Each cylinder is serviced by 2 hoses:

    • The rod end (1)
    • The closed end (2)

Object Number: 1722445  Size: SH

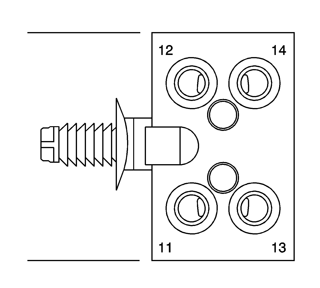
This is a view of the manifold plate on the hydraulic pump. The hoses and plate are numbered to identify their correct locations.


Object Number: 1722453  Size: SH

This is a view of the folding top cylinder valve located in the front left of the rear compartment. The hoses and valve body are numbered to identify their correct locations.

Each hose has an identification number stamped on the cylinder side and on the pump side near the connection point. Corresponding numbers are also stamped on the pump manifold plate to aid in identification.

The following chart identifies the hose that supplies fluid to each specific cylinder.

Folding Top Hydraulic Cylinder Hose Identification Chart

Hydraulic Cylinders

Hose Location and Number

Rod End

Closed End

Folding Top Main Hydraulic Cylinder Hose to Valve Assembly

11 - Left

13 - Right

12 - Left

14 - Right

Main Hydraulic Cylinder Hose from Valve Assembly to Pump

11 / 13

12 / 14

Storage Compartment Lid Rear Hinge Hydraulic Cylinder Hose

21

22

Front Roof Latch Hydraulic Cylinder Hose - 2 Piece with Quick Connect

51

52

Storage Compartment Lid Front Hinge Hydraulic Cylinder Hose

31 - Left

33 - Right

32 - Left

34 - Right

Storage Compartment Lid Rear Hinge Lower Hydraulic Cylinder Hose

41

42