GM Service Manual Online
For 1990-2009 cars only

Object Number: 1572360  Size: SF

Callout

Component Name

Notice: Refer to Fastener Notice in the Preface section.

Fastener Tightening Specifications: Refer to Fastener Tightening Specifications .

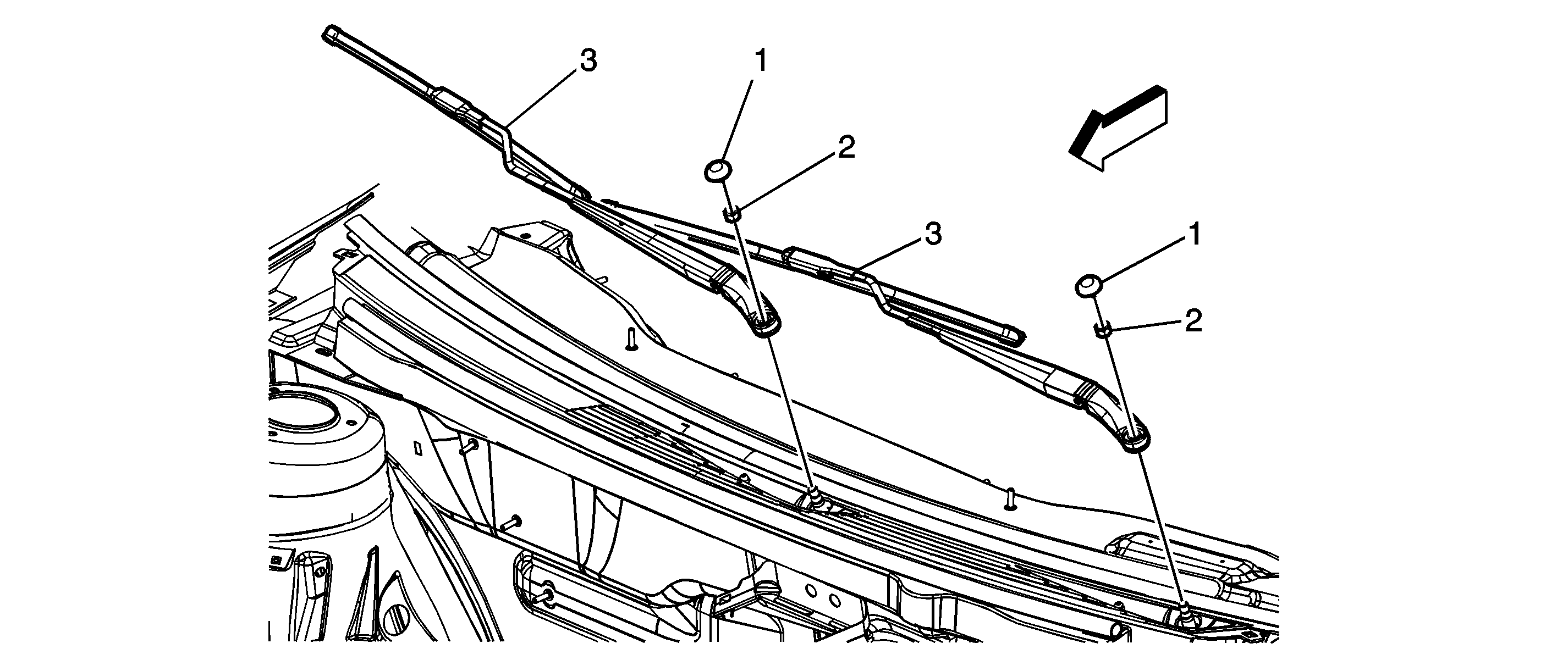
1

Cap, Windshield Washer Arm Finish

Tip
Use a small flat-bladed tool to remove finish cap.

2

Nut, Windshield Washer Arm

Tip
Hold wiper arm blade tip to the orange circle in the lower blackout area of the windshield while torquing nut.

Tighten
35 N·m (26 lb ft)

3

Arm Assembly, Windshield Washer

Tip
Slightly rock arm on pivot shaft to remove.