GM Service Manual Online
For 1990-2009 cars only
Makes
🢒
Pontiac
🢒
2006
🢒
G6
🢒
Body
🢒
Wiring Systems
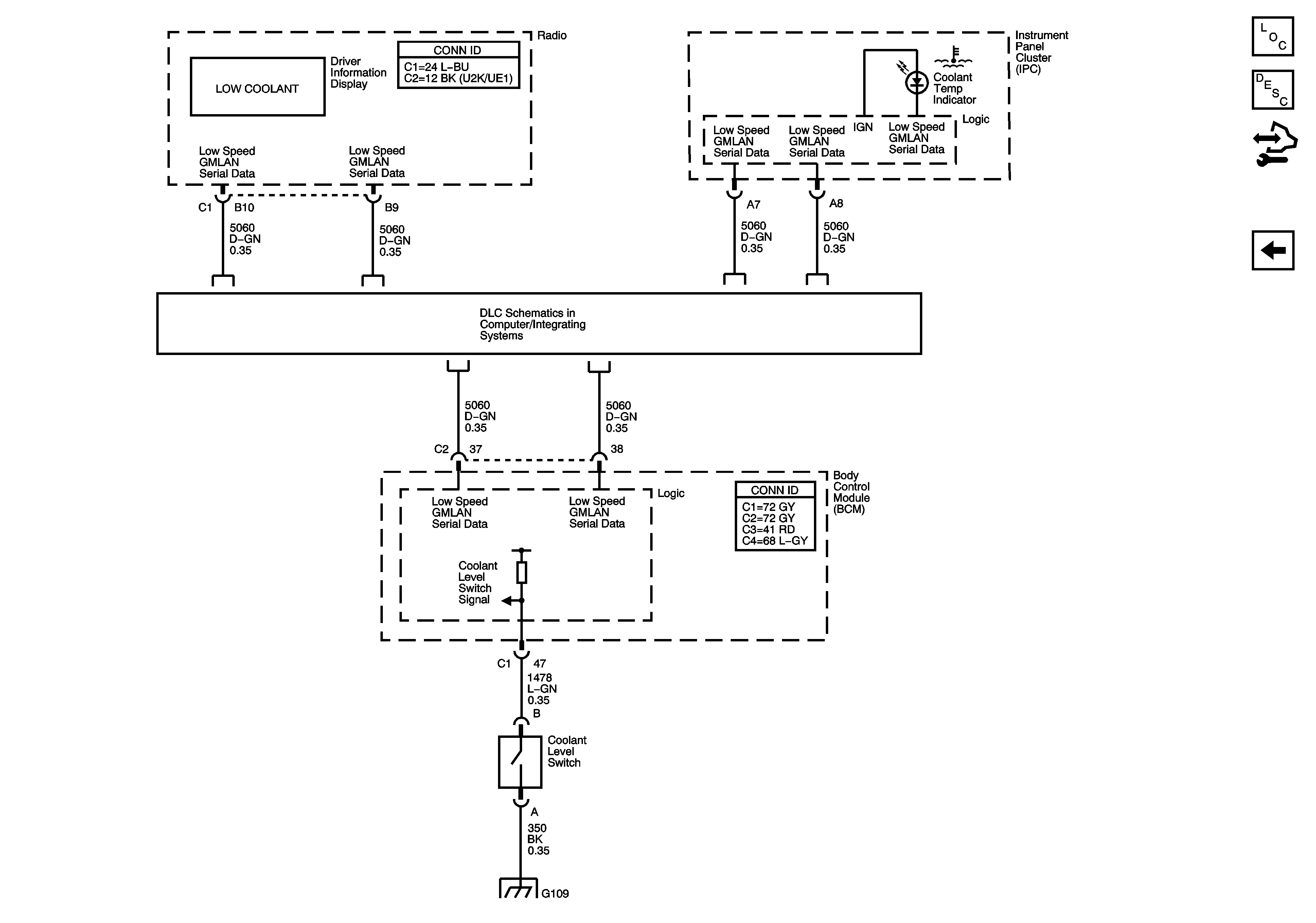
🢒 Engine Cooling Schematics
Figure
1:
Cooling Fans
Figure
2:
Coolant Indicator