GM Service Manual Online
For 1990-2009 cars only

Rear Brake Hose Replacement Disc

Caution: Refer to Brake Fluid Irritant Caution in the Preface section.

Notice: Refer to Brake Fluid Effects on Paint and Electrical Components Notice in the Preface section.

Removal Procedure

  1. Raise and support the vehicle. Refer to Lifting and Jacking the Vehicle .
  2. Remove the rear tire and wheel assembly. Refer to Tire and Wheel Removal and Installation .

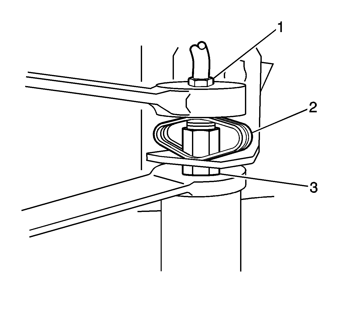
  3. Object Number: 1195821  Size: SH
  4. Clean all dirt and foreign material from the brake hose ends and brake pipe fitting.
  5. Use a flare nut wrench on the brake pipe fitting (1) and a backup wrench on the brake hose (3) as shown.
  6. Remove the brake hose retainer (2).

  7. Object Number: 1335522  Size: SH
  8. Remove the rear brake hose banjo bolt from the brake caliper.
  9. Remove the brake hose from the brake caliper.
  10. Remove and discard the 2 copper brake hose gaskets. These gaskets may be stuck to the brake caliper and/or the brake hose end.
  11. Cap or plug the opening in the brake caliper and the brake hose to prevent fluid loss and contamination.

Installation Procedure


    Object Number: 1335522  Size: SH

    Important: Install the NEW copper brake hose gaskets.

  1. Remove the caps or plugs from the opening in the brake caliper and the brake hose.
  2. Notice: Refer to Fastener Notice in the Preface section.

  3. Install 2 new copper gaskets, the brake hose and the brake hose banjo bolt to the brake caliper.
  4. Tighten
    Tighten the brake hose banjo bolt to 50 N·m (37 lb ft).


    Object Number: 1195821  Size: SH
  5. Remove the caps or plugs from the brake pipe fitting end and the brake hose end.
  6. Install the brake hose to the brake hose body bracket.
  7. Install the brake hose retainer (2) over the anti-rotation tabs of the brake hose (3).
  8. Connect the brake pipe fitting (1) to the brake hose (3).
  9. Use a backup wrench on the brake hose (3).
  10. Tighten
    Tighten the brake pipe fitting to 20 N·m (15 lb ft).

  11. Ensure that the hose does not make contact with any part of the suspension. If the hose makes contact, remove the hose and correct the condition.
  12. Bleed the hydraulic brake system. Refer to Hydraulic Brake System Bleeding .
  13. Install the tire and wheel assembly. Refer to Tire and Wheel Removal and Installation .
  14. Lower the vehicle.