GM Service Manual Online
For 1990-2009 cars only
Connector 1: Heated Seat Control Module - Driver C1 (KA1)
Connector 2: Heated Seat Control Module - Driver C2 (KA1)
Connector 3: Heated Seat Control Module - Driver C3 (KA1)
Connector 4: Heated Seat Control Module - Passenger C1 (KA1)
Connector 5: Heated Seat Control Module - Passenger C2 (KA1)
Connector 6: Heated Seat Control Module - Passenger C3 (KA1)
Connector 7: Heated Seat Switch - Driver (KA1)
Connector 8: Heated Seat Switch - Passenger (KA1)
Connector 9: Seat Adjuster Switch - Driver (AG1)
Connector 10: Seat Adjuster Switch - Driver (ASN)
Connector 11: Seat Front Vertical Motor (AG1)
Connector 12: Seat Horizontal Motor (AG1)
Connector 13: Seat Rear Vertical Motor (AG1)
Connector 14: Seat Vertical Motor (ASN)

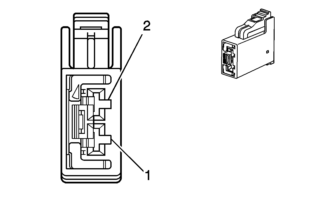
Heated Seat Control Module - Driver C1 (KA1)


Object Number: 1415180  Size: CH

Connector Part Information

  • OEM: 7283-5629-40
  • Service: See Catalog
  • Description: 4-Way F YESC/USCAR Class II Series (GY)

Terminal Part Information

  • Pins: 1,4
  • Terminal/Tray: 7116-4111-02/9
  • Core/Insulation Crimp: E/A
  • Release Tool/Test Probe: 12094430/J-35616-4A (PU)
  • Pins: 2-3
  • Terminal/Tray: 7116-4100-08/9
  • Core/Insulation Crimp: E/C
  • Release Tool/Test Probe: 12094430/J-35616-2A (GY)

Heated Seat Control Module - Driver C1 (KA1)

Pin

Wire Color

Circuit No.

Function

1

BK

1150

Ground

2

L-BU/BK

1505

Driver Heated Seat Switch Signal

3

YE

243

Accessory Voltage

4

RD/WH

1140

Battery Positive Voltage

Heated Seat Control Module - Driver C2 (KA1)


Object Number: 1415175  Size: CH

Connector Part Information

  • OEM: 7182-5579-40
  • Service: See Catalog
  • Description: 2-Way F (GY)

Terminal Part Information

  • Terminal/Tray: See Terminal Repair Kit
  • Core/Insulation Crimp: See Terminal Repair Kit
  • Release Tool/Test Probe: See Terminal Repair Kit

Heated Seat Control Module - Driver C2 (KA1)

Pin

Wire Color

Circuit No.

Function

1

BK

2424

Driver Heated Seat Back Element Control

2

BK

2432

Driver Heated Seat Back Element Supply Voltage

Heated Seat Control Module - Driver C3 (KA1)


Object Number: 1415180  Size: CH

Connector Part Information

  • OEM: 7183-5629-40
  • Service: See Catalog
  • Description: 4-Way F (GN)

Terminal Part Information

  • Terminal/Tray: See Terminal Repair Kit
  • Core/Insulation Crimp: See Terminal Repair Kit
  • Release Tool/Test Probe: See Terminal Repair Kit

Heated Seat Control Module - Driver C3 (KA1)

Pin

Wire Color

Circuit No.

Function

1

RD

2077

Heated Seat Cushion Element Supply Voltage

2

GY

2080

Driver Heated Seat Cushion Temperature Sensor Low Reference

3

GY

2079

Heated Seat Cushion Temperature Sensor Signal

4

BK

2078

Heated Seat Cushion Element Control

Heated Seat Control Module - Passenger C1 (KA1)


Object Number: 1415180  Size: CH

Connector Part Information

  • OEM: 7283-5629-40
  • Service: See Catalog
  • Description: 4-Way F YESC/USCAR Class II Series (GY)

Terminal Part Information

  • Pins: 1,4
  • Terminal/Tray: 7116-4111-02/9
  • Core/Insulation Crimp: E/A
  • Release Tool/Test Probe: 12094430/J-35616-4A (PU)
  • Pins: 2-3
  • Terminal/Tray: 7116-4100-08/9
  • Core/Insulation Crimp: E/C
  • Release Tool/Test Probe: 12094430/J-35616-2A (GY)

Heated Seat Control Module - Passenger C1 (KA1)

Pin

Wire Color

Circuit No.

Function

1

BK

1150

Ground

2

L-BU/BK

1505

Passenger Heated Seat Switch Signal

3

YE

243

Accessory Voltage

4

RD/WH

1140

Battery Positive Voltage

Heated Seat Control Module - Passenger C2 (KA1)


Object Number: 1415175  Size: CH

Connector Part Information

  • OEM: 7182-5579-40
  • Service: See Catalog
  • Description: 2-Way F (GY)

Terminal Part Information

  • Terminal/Tray: See Terminal Repair Kit
  • Core/Insulation Crimp: See Terminal Repair Kit
  • Release Tool/Test Probe: See Terminal Repair Kit

Heated Seat Control Module - Passenger C2 (KA1)

Pin

Wire Color

Circuit No.

Function

1

BK

2433

Passenger Heated Seat Back Element Control

2

BK

2481

Passenger Heated Seat Back Element Supply Voltage

Heated Seat Control Module - Passenger C3 (KA1)


Object Number: 1415180  Size: CH

Connector Part Information

  • OEM: 7183-5629-40
  • Service: See Catalog
  • Description: 4-Way F (GN)

Terminal Part Information

  • Terminal/Tray: See Terminal Repair Kit
  • Core/Insulation Crimp: See Terminal Repair Kit
  • Release Tool/Test Probe: See Terminal Repair Kit

Heated Seat Control Module - Passenger C3 (KA1)

Pin

Wire Color

Circuit No.

Function

1

RD

2479

Passenger Heated Seat Cushion Element Supply Voltage

2

GY

2435

Passenger Heated Seat Cushion Temperature Sensor Low Reference

3

GY

2434

Passenger Heated Seat Cushion Temperature Sensor Signal

4

BK

2480

Passenger Heated Seat Cushion Element Control

Heated Seat Switch - Driver (KA1)


Object Number: 280764  Size: CH

Connector Part Information

  • OEM: 12064993
  • Service: 12102485
  • Description: 6-Way F Micro-Pack 100 Series (BK)

Terminal Part Information

  • Pins: 5, 7-8
  • Terminal/Tray: 12146447/3
  • Core/Insulation Crimp: E/C
  • Release Tool/Test Probe: 12031876-1/J-35616-6 (BU)
  • Pins: 6
  • Terminal/Tray: 7116-4111-02/9
  • Core/Insulation Crimp: E/A
  • Release Tool/Test Probe: 12094430/J-35616-4A (PU)

Heated Seat Switch - Driver (KA1)

Pin

Wire Color

Circuit No.

Function

5

YE

243

Accessory Voltage

6

BK

1150

Ground

7

L-BU/BK

1505

Driver Heated Seat Switch Signal

8

GY

8

Instrument Panel Lamps Supply Voltage

9-10

--

--

Not Used

Heated Seat Switch - Passenger (KA1)


Object Number: 280764  Size: CH

Connector Part Information

  • OEM: 12064993
  • Service: 12102485
  • Description: 6-Way F Micro-Pack 100 Series (BK)

Terminal Part Information

  • Pins: 5, 7-8
  • Terminal/Tray: 12146447/3
  • Core/Insulation Crimp: E/C
  • Release Tool/Test Probe: 12031876-1/J-35616-6 (BU)
  • Pins: 6
  • Terminal/Tray: 7116-4111-02/9
  • Core/Insulation Crimp: E/A
  • Release Tool/Test Probe: 12094430/J-35616-4A (PU)

Heated Seat Switch - Passenger (KA1)

Pin

Wire Color

Circuit No.

Function

5

YE

243

Accessory Voltage

6

BK

1150

Ground

7

L-BU/BK

1505

Passenger Heated Seat Switch Signal

8

GY

8

Instrument Panel Lamps Supply Voltage

9-10

--

--

Not Used

Seat Adjuster Switch - Driver (AG1)


Object Number: 556473  Size: CH

Connector Part Information

  • OEM: 15326924
  • Service: 15306174
  • Description: 8-Way F GT 280 Series (BK)

Terminal Part Information

  • Terminal/Tray: 15304713/19
  • Core/Insulation Crimp: F/D
  • Release Tool/Test Probe: 15315247/J-35616-4A (PU)

Seat Adjuster Switch - Driver (AG1)

Pin

Wire Color

Circuit No.

Function

A

L-BU

283

Driver Seat Rear Vertical Motor Down Control

B

BK

1150

Ground

C

L-GN

284

Driver Seat Horizontal Motor Rearward Control

D

RD/BK

1242

Battery Positive Voltage

E

D-BU

287

Driver Seat Vertical Motor Down Control

F

TN

285

Driver Seat Horizontal Motor Forward Control

G

D-GN

286

Driver Seat Vertical Motor Up Control

H

YE

282

Driver Seat Rear Vertical Motor Up Control

Seat Adjuster Switch - Driver (ASN)


Object Number: 73146  Size: CH

Connector Part Information

  • OEM: 12052854
  • Service: 88953358
  • Description: 7-Way F Metri-Pack 280 Series (BK)

Terminal Part Information

  • Terminal/Tray: 12015858/4
  • Core/Insulation Crimp: F/G
  • Release Tool/Test Probe: 12094430/J-35616-4A (PU)

Seat Adjuster Switch - Driver (ASN)

Pin

Wire Color

Circuit No.

Function

A

BK

1150

Ground

B

YE

286

Driver Seat Vertical Motor Up Control

C

L-BU

287

Driver Seat Vertical Motor Down Control

D-E

--

--

Not Used

F

RD/BK

1242

Battery Positive Voltage

G

BK

1150

Ground

Seat Front Vertical Motor (AG1)


Object Number: 808706  Size: CH

Connector Part Information

  • OEM: 12064749
  • Service: 12101888
  • Description: 2-Way F Metri-Pack 480 Series (BK)

Terminal Part Information

  • Terminal/Tray: 12084595/2
  • Core/Insulation Crimp: F/G
  • Release Tool/Test Probe: 12094430/J-35616-40 (BU)

Seat Front Vertical Motor (AG1)

Pin

Wire Color

Circuit No.

Function

A

D-BU

287

Driver Seat Vertical Motor Down Control

B

D-GN

286

Driver Seat Vertical Motor Up Control

Seat Horizontal Motor (AG1)


Object Number: 808706  Size: CH

Connector Part Information

  • OEM: 12064749
  • Service: 12101888
  • Description: 2-Way F Metri-Pack 480 Series (BK)

Terminal Part Information

  • Terminal/Tray: 12084595/2
  • Core/Insulation Crimp: F/G
  • Release Tool/Test Probe: 12094430/J-35616-40 (BU)

Seat Horizontal Motor (AG1)

Pin

Wire Color

Circuit No.

Function

A

L-GN

284

Driver Seat Horizontal Motor Rearward Control

B

TN

285

Driver Seat Horizontal Motor Forward Control

Seat Rear Vertical Motor (AG1)


Object Number: 808706  Size: CH

Connector Part Information

  • OEM: 12064749
  • Service: 12101888
  • Description: 2-Way F Metri-Pack 480 Series (BK)

Terminal Part Information

  • Terminal/Tray: 12084595/2
  • Core/Insulation Crimp: F/G
  • Release Tool/Test Probe: 12094430/J-35616-40 (BU)

Seat Rear Vertical Motor (AG1)

Pin

Wire Color

Circuit No.

Function

A

YE

282

Driver Seat Rear Vertical Motor Up Control

B

L-BU

283

Driver Seat Rear Vertical Motor Down Control

Seat Vertical Motor (ASN)


Object Number: 808706  Size: CH

Connector Part Information

  • OEM: 12064749
  • Service: 12101888
  • Description: 2-Way F Metri-Pack 480 Series (BK)

Terminal Part Information

  • Terminal/Tray: 12084595/2
  • Core/Insulation Crimp: F/G
  • Release Tool/Test Probe: 12094430/J-35616-40 (BU)

Seat Vertical Motor (ASN)

Pin

Wire Color

Circuit No.

Function

A

YE

286

Driver Seat Vertical Motor Up Control

B

L-BU

287

Driver Seat Vertical Motor Down Control