GM Service Manual Online
For 1990-2009 cars only

DTC P1887 3.5L


Object Number: 1379704  Size: MF
Master Electrical Component List
Automatic Transmission Controls Schematics
OBD II Symbol Description Notice
Control Module References

Circuit Description

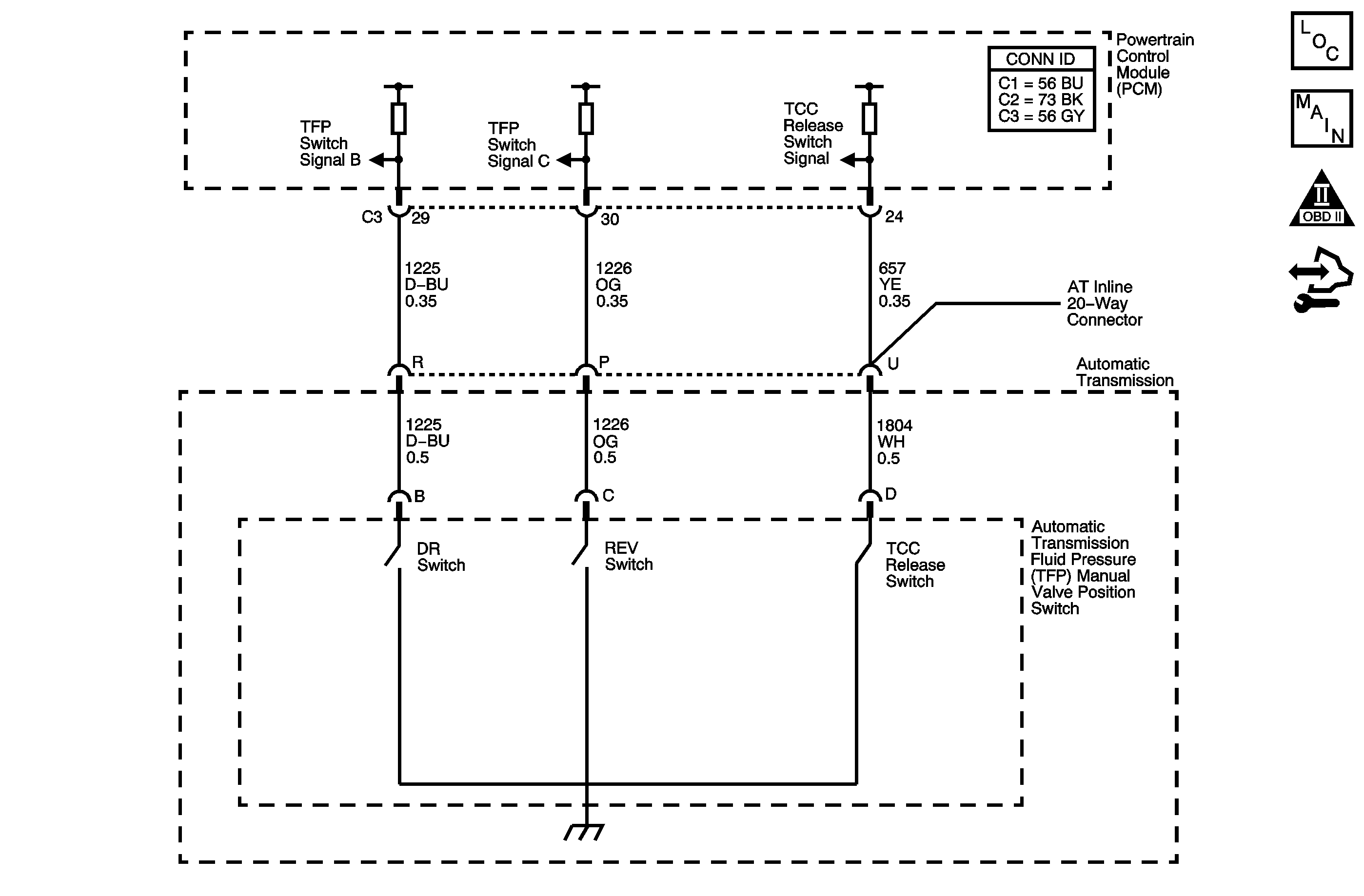
The torque converter clutch (TCC) release switch is part of the automatic transmission fluid pressure (TFP) manual valve position switch. The TFP manual valve position switch is attached to the control valve body. The TCC release switch is normally-closed.

The switch signals the powertrain control module (PCM) that the TCC is released. This is accomplished by torque converter release fluid pressure acting on the switch contact, thus opening the switch. When the voltage is high on the circuit, the PCM recognizes that the TCC is no longer engaged.

When the PCM determines that the TCC release switch is open, indicating that the TCC is not applied, and the TCC slip speed indicates that the TCC is applied, then DTC P1887 sets. DTC P1887 is a type B DTC.

DTC Descriptor

This diagnostic procedure supports the following DTC:

DTC P1887 Torque Converter Clutch (TCC) Release Switch Circuit

Conditions for Running the DTC

    • No MAF DTCs P0101, P0102 or P0103.
    • No MAP DTCs P0107 or P0108.
    • No ISS DTCs P0716 or P0717.
    • No TCC DTCs P0741 or P0742.
    • No TCC electrical DTC P2761.
    • The engine is running for 5 seconds or more and not in fuel cut off.
    • The engine torque is greater than 41 N·m (30 lb ft).
    • The TCC is commanded ON.
    • The TCC slip speed is -20 to +60 RPM.

Conditions for Setting the DTC

The TCC release switch is open, release fluid pressure present, for 6 seconds, twice during the same trip.

Action Taken When the DTC Sets

    • The PCM illuminates the malfunction indicator lamp (MIL) during the second consecutive trip in which the Conditions for Setting the DTC are met.
    • The PCM forces the TCC OFF.
    • The PCM inhibits TCC engagement.
    • The PCM freezes transmission adaptive functions.
    • The PCM inhibits 4th gear when in HOT mode.
    • The PCM records the operating conditions when the Conditions for Setting the DTC are met. The PCM stores this information as Freeze Frame and Failure Records.
    • The PCM stores DTC P1887 in PCM history during the second consecutive trip in which the Conditions for Setting the DTC are met.

Conditions for Clearing the MIL/DTC

    • The PCM turns OFF the MIL during the third consecutive trip in which the diagnostic test runs and passes.
    • A scan tool can clear the MIL/DTC.
    • The PCM clears the DTC from PCM history if the vehicle completes 40 warm-up cycles without an emission-related diagnostic fault occurring.
    • The PCM cancels the DTC default actions when the ignition switch is OFF long enough in order to power down the PCM.

Diagnostic Aids

Ensure the wiring harness is not stretched too tightly or other components are pressing on the connector body. Also, inspect for proper clearance to any other components and wiring. Refer to Testing for Intermittent Conditions and Poor Connections .

Test Description

The numbers below refer to the step numbers on the diagnostic table.

  1. This step tests the ability of the PCM to recognize a grounded circuit.

  2. This step tests for a mechanical or hydraulic condition.

DTC P1887

Step

Action

Yes

No

1

Did you perform the Diagnostic System Check - Vehicle?

Go to Step 2

Go to Diagnostic System Check - Vehicle

2

  1. Install a scan tool.
  2. Turn ON the ignition, with the engine OFF.
  3. Important: Before clearing the DTC, use the scan tool in order to record the Freeze Frame and Failure Records. Using the Clear Info function erases the Freeze Frame and Failure Records from the PCM.

  4. Record the DTC Freeze Frame and Failure Records.
  5. Clear the DTC.
  6. Select TCC Release Pressure on the scan tool.

Does the scan tool indicate TCC release pressure is present?

Go to Step 3

Go to Step 6

3

  1. Turn OFF the ignition.
  2. Disconnect the AT inline 20-way connector. Additional DTCs may set.
  3. Install the J 44152 jumper harness (20 pins) on the engine side of the AT inline 20-way connector.
  4. Using the J 35616 GM-approved terminal test kit, connect a fused jumper wire from the TCC release switch signal circuit of the J 44152 to ground.
  5. Refer to Automatic Transmission Inline 20-Way Connector End View .

  6. Turn ON the ignition, with the engine OFF.

Does the scan tool indicate TCC release pressure is present?

Go to Step 4

Go to Step 5

4

Test the signal circuit of the TCC release switch for an open between the PCM connector C3 and the AT inline 20-way connector.

Refer to Testing for Continuity and Wiring Repairs .

Did you find and correct the condition?

Go to Step 11

Go to Step 10

5

Test the signal circuit of the TCC release switch for an open between the AT inline 20-way connector and the TFP manual valve position switch.

Refer to Testing for Continuity .

Did you find the condition?

Go to Step 8

Go to Step 9

6

  1. Use the scan tool snapshot mode in order to record TCC Slip Speed and TCC Release Pressure.
  2. Operate the vehicle under the following conditions:
  3. • Road test the vehicle with gear select lever in D4.
    • Increase the vehicle speed until the TCC is applied.
    • Ensure that slip speed is less than 60 RPM.

With the TCC applied and slip speed less than 60 RPM does the scan tool indicate TCC release pressure is present?

Go to Step 7

Go to Testing for Intermittent Conditions and Poor Connections

7

  1. Inspect for the following conditions:
  2. • Leaking torque converter O-ring seal (41)
    • Cut torque converter O-ring seal (41)
    • Refer to Case and Associated Parts in Component Location .
    • Debris or flash blocking the channel plate (27) at the TCC release exhaust passage (48)
    • Refer to Case and Associated Parts or Channel Plate Passages in Component Location .
    • Leaking oil pump bearing and seal assembly (200) seal
    • Cut oil pump bearing and seal assembly (200) seal
    • Oil pump bearing and seal assembly (200) installed backwards
    • Refer to Oil Pump Cleaning and Inspection in Transmission Unit Repair Manual.
    • Misaligned valve body to spacer plate gasket (22)
    • Misaligned spacer plate to channel plate gasket (24)
    • Channel plate (27) turbine shaft sleeve installed backwards, or with no press fit
    • Valve body spacer plate (23), release exhaust orifice (46), blocked by debris, valve body to spacer plate gasket (22), or spacer plate to channel plate gasket (24)
    • Refer to Control Valve Body Assembly and Gasket Removal in Transmission Unit Repair Manual.
    • Cut turbine shaft to sprocket seal (33)
    • Missing turbine shaft to sprocket seal (33)
    • Refer to Drive Sprocket, Driven Sprocket, and Drive Link Disassemble in Transmission Unit Repair Manual.
  3. Repair any of the above conditions as necessary.

Did you complete the repair?

Go to Step 11

--

8

Replace the automatic transmission wiring harness.

Refer to Wiring Harness Replacement .

Did you complete the repair?

Go to Step 11

--

9

Replace the TFP manual valve position switch.

Refer to Transmission Fluid Pressure Manual Valve Position Switch Replacement .

Did you complete the repair?

Go to Step 11

--

10

Replace the PCM.

Refer to Control Module References for replacement, setup, and programming.

Did you complete the replacement?

Go to Step 11

--

11

Perform the following procedure in order to verify the repair:

  1. Select DTC.
  2. Select Clear Info.
  3. Operate the vehicle under the following conditions:
  4. • Drive the vehicle in D4 in order to obtain 74 km/h (45 mph).
    • With the TCC commanded ON and engaged, TCC release pressure must not be present for 3 seconds.
  5. Select Specific DTC.
  6. Enter DTC P1887.

Has the test run and passed?

Go to Step 12

Go to Step 2

12

With the scan tool, observe the stored information, capture info and DTC info.

Does the scan tool display any DTCs that you have not diagnosed?

Go to Diagnostic Trouble Code (DTC) List - Vehicle

System OK