GM Service Manual Online
For 1990-2009 cars only

Rear Spoiler Replacement Sedan

Removal Procedure


    Object Number: 1464534  Size: SH

    Notice: Use of harsh chemicals when cleaning can damage exterior lamps. Suggested cleaners are a mild soap and water, or Varnish Makers and Painters (VM&P) Naptha. VM&P Naptha is a specific type of naptha and should not be substituted by any other naptha.

  1. Open the rear compartment.
  2. Remove the nuts from the spoiler.
  3. Remove the spoiler from the rear compartment lid.

Installation Procedure


    Object Number: 1464534  Size: SH
  1. Position the studs of the spoiler into the clearance holes of the rear compartment lid.
  2. Notice: Use the correct fastener in the correct location. Replacement fasteners must be the correct part number for that application. Fasteners requiring replacement or fasteners requiring the use of thread locking compound or sealant are identified in the service procedure. Do not use paints, lubricants, or corrosion inhibitors on fasteners or fastener joint surfaces unless specified. These coatings affect fastener torque and joint clamping force and may damage the fastener. Use the correct tightening sequence and specifications when installing fasteners in order to avoid damage to parts and systems.

  3. Install the nuts to the rear compartment lid spoiler.
  4. Tighten
    Tighten the nuts to 5 N·m (44 lb in).

  5. Close the rear compartment.

Rear Spoiler Replacement Convertible


Object Number: 1847148  Size: SF

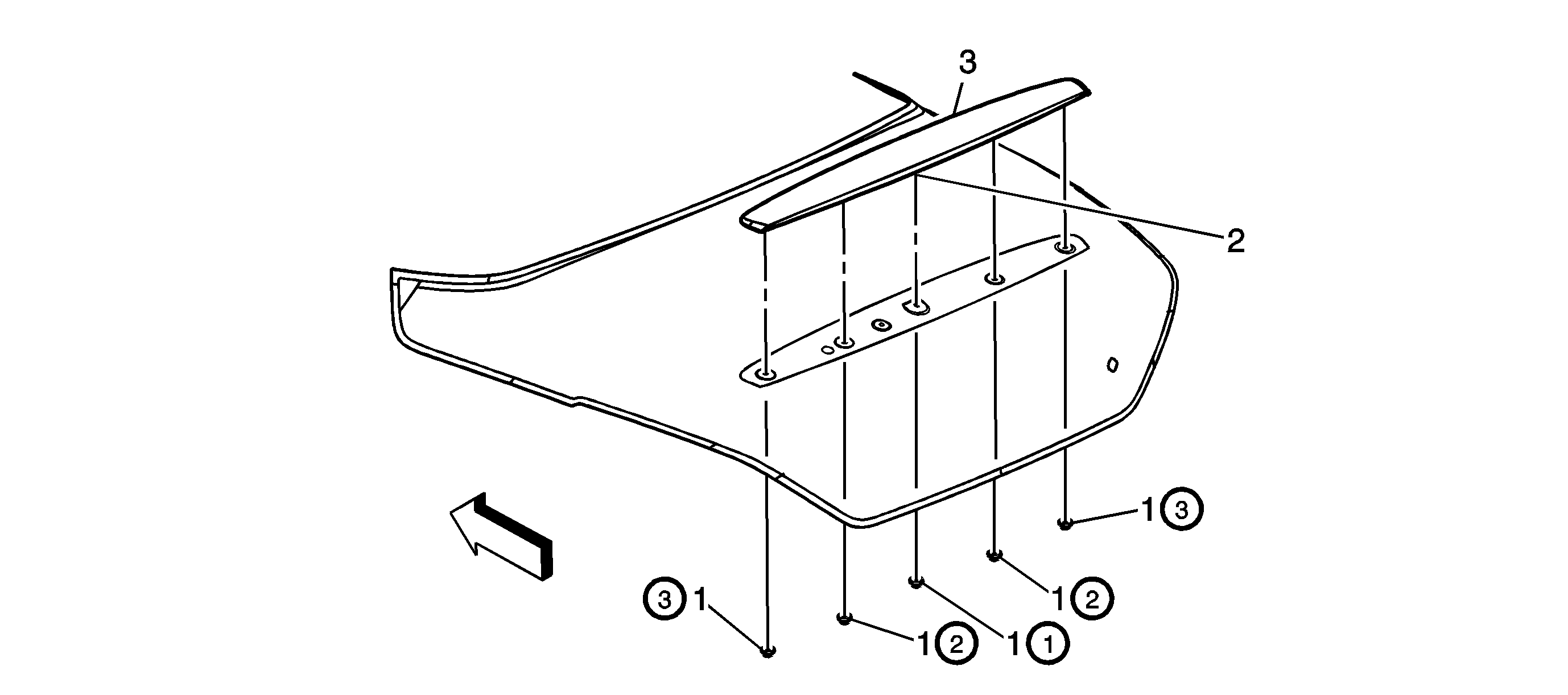
Callout

Component Name

Preliminary Procedure

Remove the rear compartment lid inner panel trim. Refer to Rear Compartment Lid Inner Panel Trim Replacement.

1

Rear Compartment Lid Applique Assembly Nuts (Qty: 5)

Notice: Refer to Fastener Notice in the Preface section.

Tighten
Tighten the nuts in the mandatory sequence shown to 6 N·m (53 lb in)

2

Integral Clip

Procedure

  1. Place the applique studs to the holes in the rear compartment lid.
  2. Engage the W-Base clip to the rear compartment lid.
  3. Open the rear compartment lid.
  4. Secure the five nuts as previously stated.

3

Rear Compartment Lid Applique Assembly