GM Service Manual Online
For 1990-2009 cars only
Figure 1:

Case and Associated Parts (1 of 2)


Object Number: 1390694  Size: LF
(1)Torque Converter Assembly
(2)Torque Converter Housing to Main Case Bolt
(3)Torque Converter Housing Assembly - Model Dependent
(4)Torque Converter Housing Fluid Seal Assembly
(5)Reverse Clutch Housing Thrust Washer - Selective
(6)Direct and Reverse Clutch Assembly
(7)Forward and Coast Clutch Assembly
(8)Input Sun Gear - W/Forward Clutch Roller Inner Race Shaft
(9)Direct Clutch Hub Thrust Washer
(10)Direct Clutch Assembly- W/Input and Reaction Carrier in Hub
(11)Input and Reaction Carrier Inner Shaft Thrust Washer
(12)Intermediate Clutch Sprag Assembly
(14)Intermediate and Overdrive Clutch Housing Retainer Ring - Selective
(15)Overdrive Clutch Housing Assembly
(16)Low Clutch Sprag Assembly
(17)Low Clutch Roller Thrust Bearing
(18)Center Support
(19)Input and Reaction Carrier Assembly
(20)Input and Reaction Carrier Thrust Bearing
(21)Output Shaft Assembly W/Rear Internal Gear - Model Dependent
(22)Input and Reaction Carrier Washer Selective Steel - Model Dependent
(23)Input and Reaction Carrier Thrust Bearing
(24)Automatic Transmisssion Case Assembly
(70)Transmission Cooler Bypass Valve - Model Dependent
(71)Transmission Cooler Bypass Bolt - Model Dependent
(72)Transmission Cooler Bypass Seals - Model Dependent
Figure 2:

Case and Associated Parts (2 of 2)


Object Number: 951680  Size: LF
(24)Automatic Transmission Case Assembly
(25)Automatic Transmission Case Extension Gasket - Model Dependent
(25)Automatic Transmission Case Extension Gasket - Model Dependent
(26)Output Shaft Bearing - Model Dependent
(27)Automatic Transmission Case Extension - Model Dependent
(27)Automatic Transmission Case Extension - Model Dependent
(28)Output Shaft Bearing - Model Dependent
(28)Output Shaft Bearing - Model Dependent
(29)Automatic Transmission Prop Shaft - Model Dependent
(30)Output Shaft Assembly Retainer - Model Dependent
(31)Automatic Transmission Prop Shaft Flange - Model Dependent
(32)Automatic Transmission Prop Shaft Flange - O-Ring Seal - Model Dependent
(33)Automatic Transmission Prop Shaft Thrust Washer - Model Dependent
(34)Prop Shaft Flange Nut - Model Dependent
(35)Automatic Transmission Case Extension Bolt - Model Dependent
(35)Automatic Transmission Case Extension Bolt - Model Dependent
(36)Automatic Transmission Fluid Level Hole Plug
(37)Automatic Transmission Fluid Level Hole Plug O-Ring Seal
(38)Center Support Fluid Passage Sleeve
(39)Overdrive Clutch Fluid Passage Sleeve
(40)Automatic Transmission Pressure Test Plug
(42)Output Speed Sensor
(43)Output Speed Sensor Bolt
(44)Input Speed Sensor
(45)Input Speed Sensor Bolt
(46)Automatic Transmission Fluid Pump Cover Gasket
(47)Control Valve Body and Accumulator Assembly
(49)Control Valve Body Bolt M6 x 1.0 x 50
(50)Control Valve Body Bolt M6 x 1.0 x 38
(51)Control Valve Body Bolt M6 x 1.0 x 50
(52)Manual Shaft Detent Assembly
(53)Control Valve Body Bolt M6 x 1.0 x 68
(54)Wiring Harness Clip
(55)Automatic Transmission Wiring Harness
(56)Automatic Transmission Wiring Harness - O-Ring Seal - 2
(57)Automatic Transmission Filter Seal - 2
(59)Automatic Transmission Fluid Filter
(60)Automatic Transmission Fluid Pan Gasket
(61)Automatic Transmission Fluid Pan Magnet
(62)Automatic Transmission Fluid Pan Assembly
(63)Automatic Transmission Fluid Pan Drain Plug
(64)Automatic Transmission Fluid Pan Drain Plug Seal
(65)Automatic Transmission Fluid Pan Bolt
(66)Automatic Transmission Pressure Test Plug O-Ring Seal
(67)Input and Reaction Carrier Thrust Washer Selective Plastic - Model Dependent
(68)Automatic Transmission Prop Shaft Flange Seal - Model Dependent
(69)Input and Reaction Carrier Thrust Bearing - Model Dependent
Figure 3:

Fluid Pump Assembly


Object Number: 802011  Size: LF
(200)Reverse Clutch Housing Fluid Seal Ring - 3
(201)Input Shaft Bearing Assembly
(202)Automatic Transmission Fluid Pump Cover Assembly
(203)Check Valve Retainer and Ball Assembly
(203)Check Valve Retainer and Ball Assembly
(204)Valve Bushing/Spring Retainer
(204)Valve Bushing/Spring Retainer
(205)Line Boost Valve Bushing Seal
(206)Line Boost Valve Bushing
(207)Line Boost Valve
(208)Line Boost Valve Spring
(209)Pressure Regulator Valve Spring
(210)Pressure Regulator Valve
(211)Automatic Transmission Fluid Pump Retainer Pin
(211)Automatic Transmission Fluid Pump Retainer Pin
(212)Automatic Transmission Pump Cover Seal
(213)Automatic Transmission Fluid Pump Screen Assembly
(214)Brass Orifice Insert
(215)Turbine Shaft Bushing
(216)Automatic Transmission Fluid Pump Slide - Selective
(217)Automatic Transmission Fluid Pump Slide Seal Support
(218)Automatic Transmission Fluid Pump Slide Seal
(219)Automatic Transmission Fluid Pump Slide Ring
(220)Automatic Transmission Fluid Pump Slide Ring
(221)Automatic Transmission Fluid Pump Vane Ring
(222)Automatic Transmission Fluid Pump Vane
(223)Automatic Transmission Fluid Pump Rotor - Selective
(224)Automatic Transmission Fluid Pump Rotor Guide
(225)Automatic Transmission Fluid Pump Vane Ring
(226)Torque Converter Bushing
(227)Torque Converter Housing
(228)Torque Converter Housing Seal Bolt M4 x 0.7 x 10.0 - 4
(229)Torque Converter Housing Seal
(231)Automatic Transmission Fluid Pump Slide Pin Assembly
(232)Orifice Sleeve
(233)Orifice Cup Plug - 2
(233)Orifice Cup Plug - 2
(234)TCC Control Valve Spring
(234)TCC Control Valve Spring
(235)TCC Control Valve
(236)Automatic Transmission Fluid Pump Retainer Pin
(237)TCC Enable Valve
(238)Pressure Relief Ball Valve Spring
(239)Pressure Relief Ball Valve
(240)Automatic Transmission Fluid Pump Bolt M6 x 1.0 x 40
(241)Automatic Transmission Fluid Pump Bolt M8 x 1.25 x 40
(242)Automatic Transmission Fluid Pump Slide O-ring Seal
Figure 4:

Control Valve Body and Accumulator Assembly


Object Number: 951808  Size: LF
(300)Control Valve Body Bolt M6 x 1.0 x 38 - 7
(301)Control Valve Top Channel Plate
(302)Control Valve Channel Plate Ball Check Spring
(303)Control Valve Channel Plate Gasket
(304)Control Valve Bottom Channel Plate
(305)Control Valve Body Gasket
(306)Control Valve Body Ball Check Valve
(307)Control Valve Body Spacer Plate
(308)TCC PWM Solenoid Valve Filter Assembly
(309)Control Valve Body Spacer Plate Gasket
(310)Control Valve Rear Body Assembly
(311)Control Valve Front Body Assembly
(312)Pressure Control Solenoid Valve Filter Assembly
(313)Direct Clutch Accumulator Piston Spring - Model Dependent
(314)Direct Clutch Accumulator Piston Fluid Seal Ring - Model Dependent
(315)Direct Clutch Accumulator Piston - Model Dependent
(316)Direct Clutch Accumulator Piston Fluid Seal Ring - Model Dependent
(317)Direct Clutch Accumulator Housing - Model Dependent
(318)Accumulator Housing Bolt M6 x 1.0 x 30 - 12 - Model Dependent
(318)Accumulator Housing Bolt M6 x 1.0 x 30 - 12
(318)Accumulator Housing Bolt M6 x 1.0 x 30 - 12
(318)Accumulator Housing Bolt M6 x 1.0 x 30 - 12
(319)Overdrive Clutch Accumulator Piston Spring
(320)Overdrive Clutch Accumulator Piston Fluid Seal Ring
(321)Overdrive Clutch Accumulator Piston
(322)Overdrive Clutch Accumulator Piston Fluid Seal Ring
(323)Overdrive Clutch Accumulator Housing
(324)Intermediate Clutch Accumulator Piston Spring
(325)Intermediate Clutch Accumulator Piston Fluid Seal Ring
(326)Intermediate Clutch Accumulator Piston
(327)Intermediate Clutch Accumulator Piston Fluid Seal Ring
(328)Intermediate Clutch Accumulator Housing
(329)2nd Clutch Accumulator Piston Spring - Model Dependent
(330)2nd Clutch Accumulator Piston Seal Ring - Model Dependent
(331)2nd Clutch Accumulator Piston - Model Dependent
(332)2nd Clutch Accumulator Piston Seal Ring - Model Dependent
(333)2nd Clutch Accumulator Housing - Model Dependent
(334)2nd Clutch Accumulator Piston Inner Spring - Model Dependent
Figure 5:

Front Control Valve Body


Object Number: 802016  Size: MF
(340)Front Control Valve Body
(341)Safety Mode Valve
(342)Safety Mode Valve Spring
(343)Valve Spring Retainer - 3
(343)Valve Spring Retainer - 3
(343)Valve Spring Retainer - 3
(344)3-4 Shift Valve Spring
(345)3-4 Shift Valve
(346)3-4 Shift Control Valve
(347)TCC Regulator Apply Valve Spring
(348)TCC Regulator Apply Valve
(349)Solenoid Valve - O-Ring Seal
(350)Solenoid Valve - O-Ring Seal
(351)Solenoid Valve Retainer - 2
(351)Solenoid Valve Retainer - 2
(352)TCC PWM Solenoid Valve
(353)Feed Limit Valve
(354)Feed Limit Valve Spring
(355)Pressure Control Solenoid - O-Ring Seal
(356)Pressure Control Solenoid - O-Ring Seal
(357)Pressure Control (PC) Solenoid Assembly
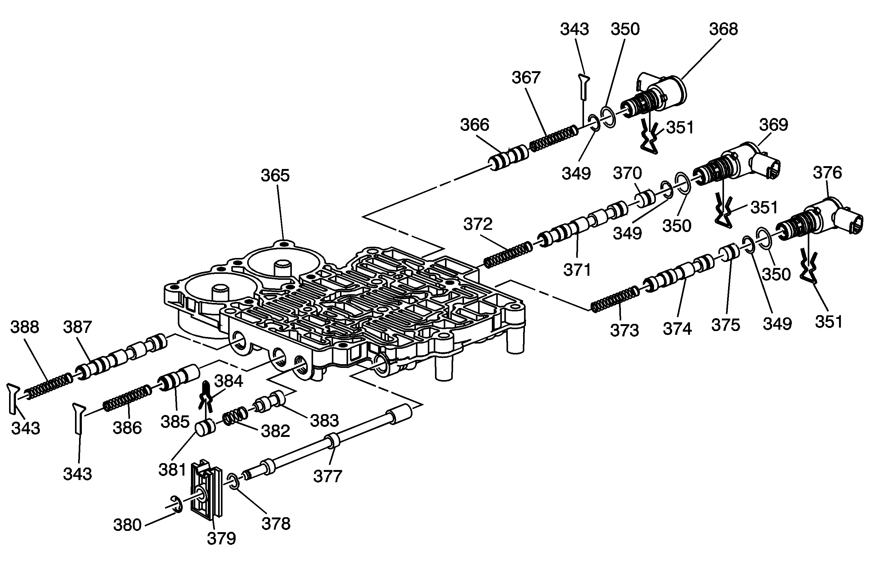
Figure 6:

Rear Control Valve Body


Object Number: 802018  Size: MF
(343)Valve Spring Retainer
(343)Valve Spring Retainer
(343)Valve Spring Retainer
(349)Solenoid Valve - O-Ring Seal
(349)Solenoid Valve - O-Ring Seal
(349)Solenoid Valve - O-Ring Seal
(350)Solenoid Valve - O-Ring Seal
(350)Solenoid Valve - O-Ring Seal
(350)Solenoid Valve - O-Ring Seal
(351)Solenoid Valve Retainer
(351)Solenoid Valve Retainer
(351)Solenoid Valve Retainer
(365)Rear Control Valve Body
(366)1-2 Shift Control Valve
(367)1-2 Shift Control Valve Spring
(368)1-2 Shift Solenoid (SS) Valve Assembly
(369)2-3 Shift Solenoid (SS) Valve Assembly
(370)2-3 Shift Control Valve
(371)2-3 Shift Valve
(372)2-3 Shift Valve Spring
(373)4-5 Shift Valve Spring
(374)4-5 Shift Valve
(375)4-5 Shift Control Valve
(376)4-5 Shift Solenoid (SS) Valve Assembly
(377)Manual Valve
(378)Manual Valve Link Washer - Waved
(379)Manual Valve Link
(380)Manual Valve Link Retainer
(381)Low Pressure Control Valve Bore Plug
(382)Low Pressure Control Valve Spring
(383)Low Pressure Control Valve
(384)Low Pressure Control Valve Bore Retainer
(385)Reverse Lockout Valve
(386)Reverse Lockout Valve Spring
(387)1-2 Shift Valve
(388)1-2 Shift Valve Spring
Figure 7:

Direct and Reverse Clutch Assembly


Object Number: 951816  Size: LF
(400)Reverse Clutch Housing Bushing
(401)Reverse Clutch - W/Input Housing Assembly
(402)Reverse Clutch Piston Inner Seal
(403)Reverse Clutch Housing Ball Check Valve
(404)Reverse Clutch Piston
(405)Direct Clutch Housing Ball Check Valve
(406)Direct Clutch Piston Assembly
(407)Direct and Reverse Clutch Spring
(408)Direct and Reverse Clutch Spring Retainer
(409)Direct and Reverse Clutch Spring Retainer Ring
(410)Direct Clutch Apply Plate
(411)Direct Clutch Plate Assembly - Outer Spline - 4
(412)Direct Clutch Plate Assembly - Inner Spline - 4
(413)Direct Clutch Backing Plate
(414)Direct Clutch Backing Plate Retainer Ring - Selective
(415)Reverse Clutch Spacer
(416)Reverse Clutch Apply Plate
(417)Reverse Clutch Plate Assembly - Outer Spline - 2
(418)Reverse Clutch Plate Assembly - Inner Spline - 2
(419)Reverse Clutch Backing Plate
(420)Reverse Clutch Backing Plate Retainer Ring - Selective
Figure 8:

Forward and Coast Clutch Assembly


Object Number: 951822  Size: LF
(430)Input Shaft - O-Ring Seal
(431)Input Shaft Fluid Seal Ring
(432)Input Shaft Fluid Seal Ring - 3
(433)Forward Clutch - W/Input Housing Assembly
(434)Forward Clutch Housing Ball Check Valve Assembly
(435)Forward Clutch Bushing
(436)Forward Clutch Piston Assembly
(437)Coast Clutch Piston Ball Check Valve Assembly
(438)Coast Clutch Piston Assembly
(439)Forward and Coast Clutch Spring
(440)Forward and Coast Clutch Spring Retainer Ring
(441)Coast Clutch Spacer Plate - Selective
(442)Coast Clutch Apply Plate
(443)Coast Clutch Plate Assembly - Outer Spline - 3
(444)Coast Clutch Plate Assembly - Inner Spline - 3
(445)Coast Clutch Backing Plate
(446)Coast Clutch Housing
(447)Forward Clutch Apply Plate
(448)Forward Clutch Plate Assembly - Outer Spline - 4
(449)Forward Clutch Plate Assembly - Inner Spline - 4
(450)Forward Clutch Backing Plate
(451)Forward Clutch Backing Plate Retainer Ring - Selective
Figure 9:

Input Sun Gear Shaft and Forward Sprag Clutch Assembly


Object Number: 802026  Size: MF
(455)Forward Clutch Roller Inner Race Thrust Ring
(456)Forward Clutch Roller Inner Bearing
(457)Input Sun Gear Shaft Assembly
(458)Forward Clutch Roller Outer Race Washer
(459)Forward Clutch Sprag Outer Race
(460)Forward Clutch Sprag Assembly Retainer Rings - 2
(460)Forward Clutch Sprag Assembly Retainer Rings - 2
(461)Forward Clutch Sprag Assembly
(462)Orificed Cup Plug - Lube
Figure 10:

Direct Clutch Drum and Shaft Assembly


Object Number: 802029  Size: MF
(465)Input and Reaction Carrier Bushing - 2
(465)Input and Reaction Carrier Bushing - 2
(466)Direct Clutch Drum
Figure 11:

Intermediate Sprag Clutch Assembly


Object Number: 802034  Size: MF
(470)Overdrive and Reverse Clutch - W/Hub Assembly
(471)Intermediate Clutch Roller Thrust Washer
(472)Intermediate Clutch Sprag Assembly Retainer Rings - 2
(472)Intermediate Clutch Sprag Assembly Retainer Rings - 2
(473)Intermediate Clutch Sprag Assembly
(474)Intermediate Clutch Sprag Outer Race
(475)Intermediate Clutch Roller Thrust Washer
(476)Intermediate Clutch Roller Thrust Bearing Assembly
(477)Intermediate Clutch Roller Thrust Bearing Assembly Retainer
Figure 12:

Overdrive and Intermediate Clutch Assembly


Object Number: 951832  Size: LF
(480)Overdrive Clutch Backing Plate Retainer Ring - Selective
(481)Overdrive Clutch Backing Plate
(482)Overdrive Clutch Plate Assembly - Inner Spline
(483)Overdrive Clutch Plate Assembly - Outer Spline
(484)Overdrive Clutch Spacer
(485)Overdrive Clutch Spring Retainer Ring
(486)Overdrive Clutch Piston Spring
(487)Overdrive Clutch Piston Assembly
(488)Intermediate Clutch Backing Plate Retainer Ring - Selective
(489)Intermediate Clutch Backing Plate
(490)Intermediate Clutch Plate Assembly - Inner Spline - 3
(491)Intermediate Clutch Plate Assembly - Outer Spline - 3
(492)Intermediate Clutch Apply Plate
(493)Overdrive Clutch Housing
(494)Intermediate Clutch Spring
(495)Intermediate Clutch Piston Assembly
(496)Intermediate Clutch Housing
(497)Intermediate Clutch Housing Retainer Ring
Figure 13:

Low Clutch Sprag Assembly


Object Number: 802038  Size: MF
(500)Low Clutch Roller Retainer
(501)Low Clutch Roller Thrust Washer
(501)Low Clutch Roller Thrust Washer
(502)Low Clutch Sprag Assembly Retainer Rings - 2
(502)Low Clutch Sprag Assembly Retainer Rings - 2
(503)Low Clutch Sprag Assembly
(504)Low Clutch Sprag Outer Race
(505)Low Clutch Sprag Inner Race
Figure 14:

Center Support Assembly


Object Number: 951845  Size: LF
(510)Low and Reverse Clutch Plate Retainer Ring - Selective
(511)Low and Reverse Clutch Backing Plate
(512)Low and Reverse Clutch Plate Assembly - Inner Spline - 5
(513)Low and Reverse Clutch Plate Assembly - Outer Spline - 5
(514)Low and Reverse Clutch Apply Plate
(515)Low and Reverse Clutch Spring Retainer Ring
(516)Low and Reverse Clutch Spring
(517)Low and Reverse Clutch Piston
(518)Center Support
(519)Input and Reaction Bearing Assembly
(520)2nd Clutch Piston
(521)2nd Clutch Spring
(522)2nd Clutch Spring Retainer Ring
(523)2nd Clutch Apply Plate
(524)2nd Clutch Plate Assembly - Outer Spline - 5
(525)2nd Clutch Plate Assembly - Inner Spline - 5
(526)2nd Clutch Backing Plate
(527)2nd Clutch Backing Plate Retainer Ring - Selective
(528)2nd Coast Clutch Piston Assembly
(529)2nd Coast Clutch Spring
(530)2nd Coast Clutch Spring Retainer Ring
(531)2nd Coast Clutch Spacer
(532)2nd Coast Clutch Plate Assembly - Outer Spline - 3
(533)2nd Coast Clutch Plate Assembly - Inner Spline - 3
(534)2nd Coast Clutch Backing Plate
(535)2nd Coast Clutch Plate -Backing Plate -Retainer Ring -Selective
Figure 15:

Planetary Carrier Assembly


Object Number: 802041  Size: LF
(540)Input and Reaction Carrier Outer Retainer Ring
(541)Input and Reaction Bearing Assembly
(542)2nd Clutch Roller Inner Race Bearing Assembly
(543)2nd Clutch Sprag Retainer
(544)2nd Clutch Roller Outer Race Washer
(544)2nd Clutch Roller Outer Race Washer
(545)2nd Clutch Sprag Outer Race
(546)2nd Clutch Sprag Assembly Retainer - 2
(546)2nd Clutch Sprag Assembly Retainer - 2
(547)2nd Clutch Sprag Assembly
(548)Input and Reaction Carrier Bushing
(549)2nd Clutch Sprag Inner Race
(550)Reaction Internal Gear
(551)Reaction Internal Gear Flange Washer
(552)Reaction Carrier Bushing - 2
(552)Reaction Carrier Bushing - 2
(553)Input and Reaction Carrier
(554)Input and Reaction Bearing Assembly
Figure 16:

Rear Internal Gear Output Shaft Assembly


Object Number: 951857  Size: MF
(560)Rear Internal Gear
(561)Input and Reaction Carrier Bushing
(562a)Output Shaft Assembly - Model Dependent
(562b)Output Shaft Assembly - Model Dependent
(562c)Output Shaft Assembly - Model Dependent
(563)Rear Internal Retainer Ring
(564)Cup Plug
Figure 17:

Park Pawl Assembly


Object Number: 1257399  Size: LF
(600)Manual Shaft Detent Lever
(601)Manual Shaft Detent Lever Pin
(602)Transmission Manual Shift Shaft Switch Assembly
(603)Manual Shaft Detent Lever Pin
(604)Transmission Case
(605)Manual Shift Shaft Seal - Model Dependent
(605)Manual Shift Shaft Seal - Model Dependent
(606a)Manual Shift Shaft - 2WD - Model Dependent
(606b)Manual Shift Shaft - AWD - Model Dependent
(607)Park Pawl Actuator Bracket
(608)Park Pawl Actuator Bracket
(609)Park Pawl Actuator Bracket Bolt M8 x 1.25 x 25 - 2
(610)Park Pawl Shaft
(611)Park Pawl Spring
(612)Park Pawl
(613)Park Pawl Actuator Assembly
(614)Cup Plug - Model Dependent
(615)Transmission Manual Shift Shaft Spacer - Model Dependent