GM Service Manual Online
For 1990-2009 cars only

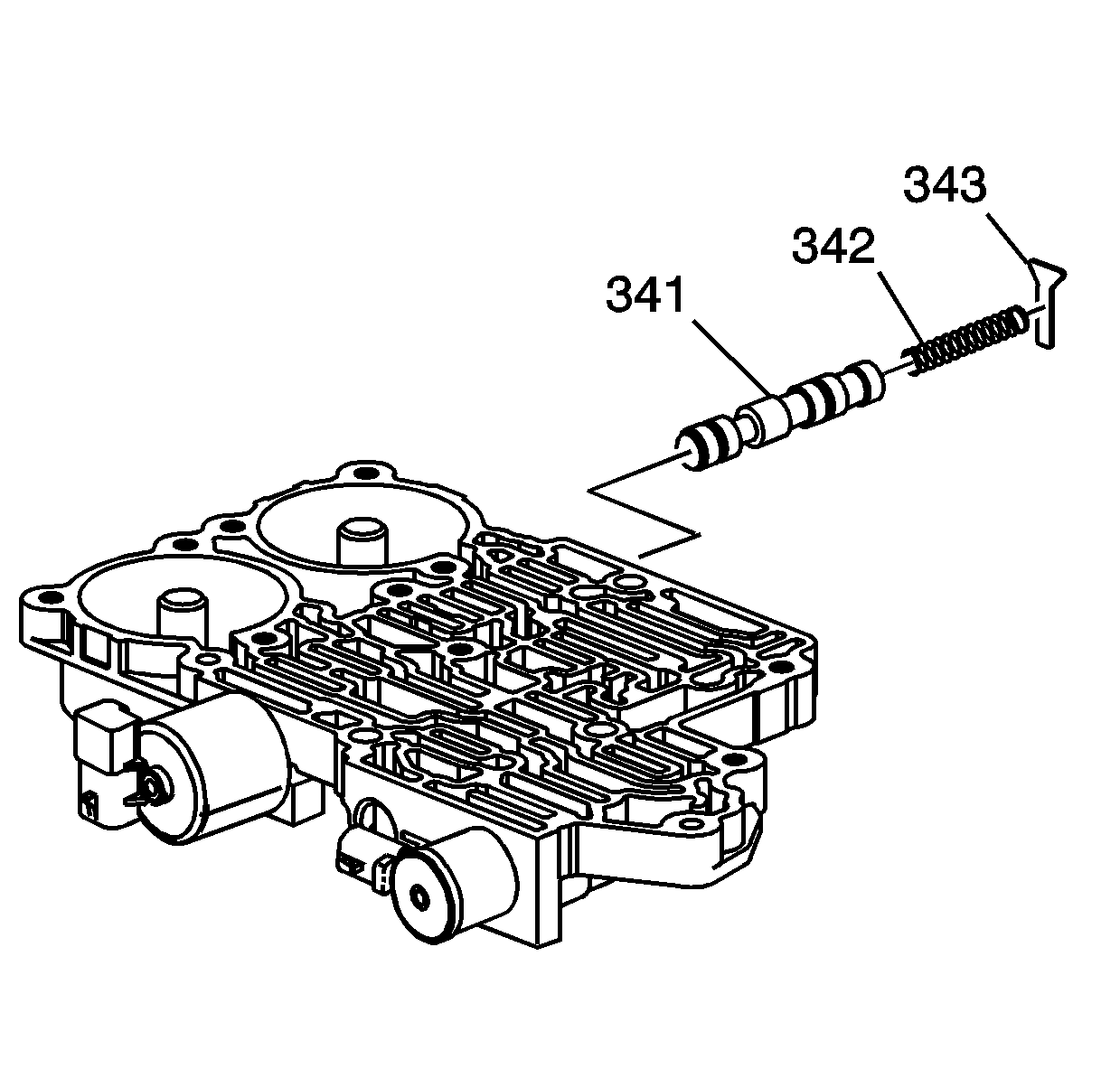
    Object Number: 801951  Size: SH
  1. Remove the safety mode valve retainer (343).
  2. Remove the safety mode valve spring (342).
  3. Remove the safety mode valve (341).

  4. Object Number: 801952  Size: SH
  5. Remove the 3-4 shift valve retainer (343).
  6. Remove the 3-4 shift valve spring (344).
  7. Remove the 3-4 shift valve (345).
  8. Remove the 3-4 shift control valve (346).

  9. Object Number: 801953  Size: SH
  10. Remove the tcc pwm solenoid valve retainer (351).
  11. Remove the tcc pwm solenoid (352).
  12. Remove the tcc regulator apply valve (348).
  13. Remove the tcc regulator apply valve spring (347).

  14. Object Number: 801954  Size: SH
  15. Remove the feed limit valve retainer (343).
  16. Remove the feed limit valve spring (354).
  17. Remove the feed limit valve (353).

  18. Object Number: 801956  Size: SH
  19. Remove the pressure control solenoid retainer (351).
  20. Remove the pressure control solenoid (357).