GM Service Manual Online
For 1990-2009 cars only
Makes
🢒
Pontiac
🢒
2006
🢒
G6
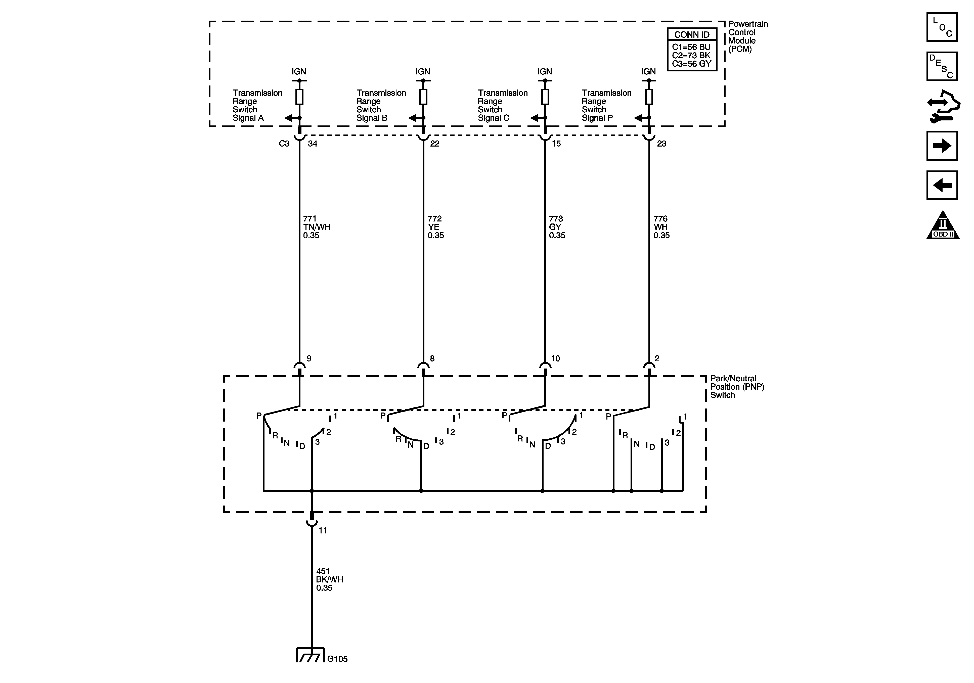
🢒 PNP Switch (LX9)
PNP Switch (LX9)
PNP Switch (LX9)
Master Electrical Component List
Transmission Component and System Description
Control Module References
Tap Up/Tap Down Switch (LX9)
Transmission Switches, TFT and A/T ISS Sensor (LX9)
Automatic Transmission Schematic Icons
G103, G104 and G105