GM Service Manual Online
For 1990-2009 cars only

All Models (Except GXP and Retractable Hardtop)

Caution: Storing a jack, a tire, or other equipment in the passenger compartment of the vehicle could cause injury. In a sudden stop or collision, loose equipment could strike someone. Store all these in the proper place.

To store the flat tire and jack in the compact spare tire compartment:

  1. Open the trunk. See Trunk for more information.
  2. Remove the bolt extension (in the yellow sleeve) from the jack and remove the center cap from the wheel.

  3. Object Number: 1518593  Size: B3
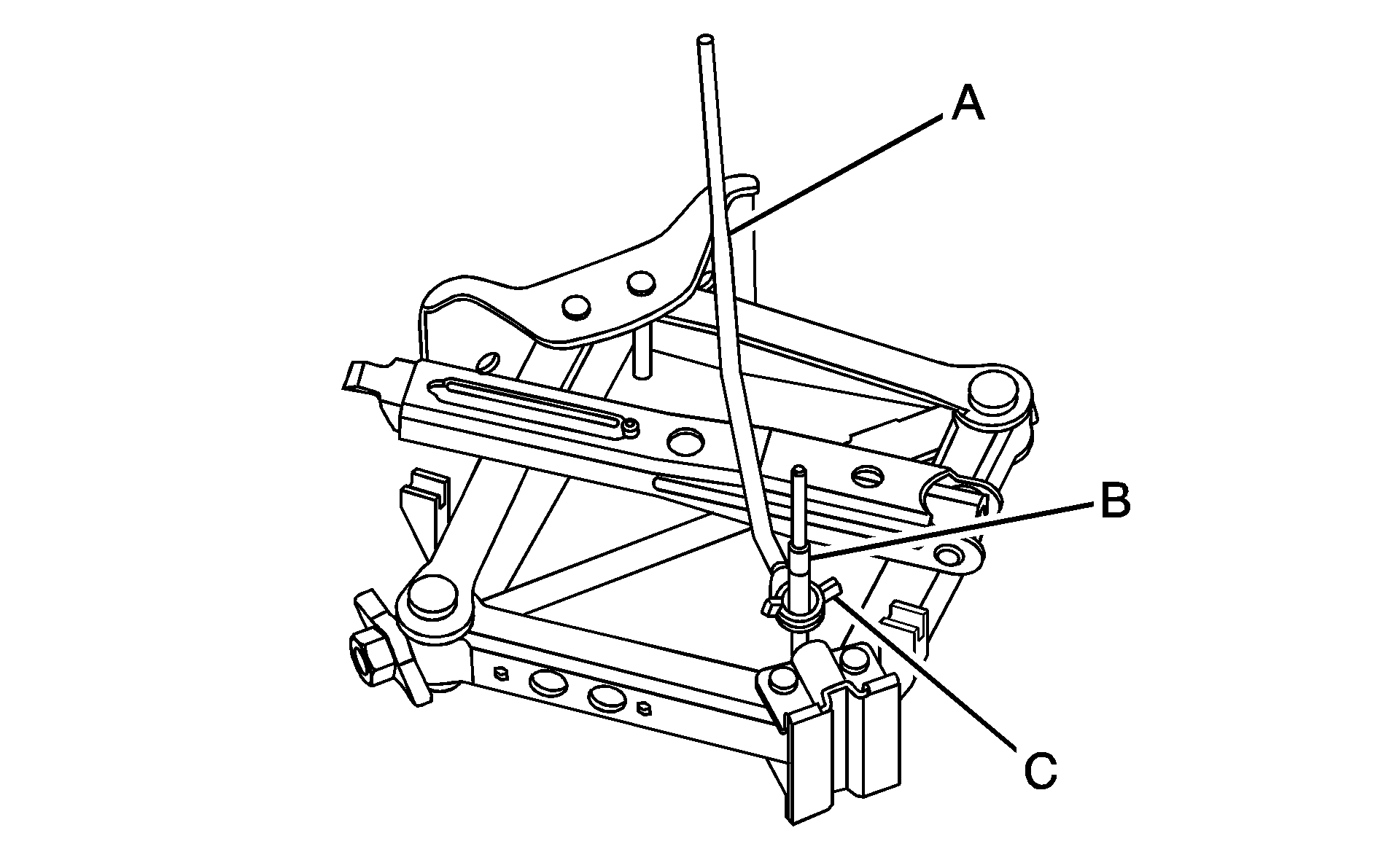
  4. Place the jack over the bolt (A) on the floor, making sure it contacts the bolt as shown, and thread the jack retainer nut until it contacts the jack.
  5. With the valve stem up, place the tire on the compartment floor with the rear of the tire beneath the trim panel. The tire may not lay completely flat.
  6. Line up a the wheel center hole or a wheel nut hole with the bolt.
  7. With the cap in place to prevent the wheel from being scratched, screw the bolt extension onto the bolt through the wheel hole aligned with the bolt.
  8. Remove the yellow cap from the bolt extension.
  9. Secure the tire and wheel with the larger wing nut.

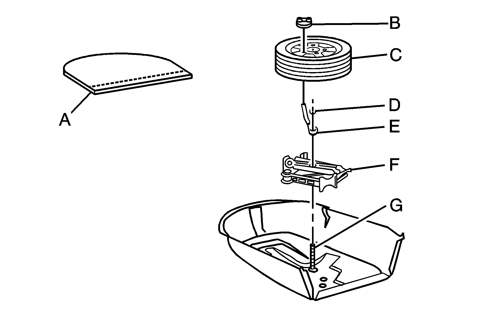
Object Number: 1910986  Size: B3
  1. Cover

  2. Wing Nut

  3. Flat Tire (valve stem up) or Compact Spare Tire

  4. Extension

  5. Nut

  6. Jack

  7. Bolt

The compact spare is for temporary use only. Replace the compact spare tire with a full-size tire as soon as you can. See Compact Spare Tire .

GXP and Retractable Hardtop Models

To store the flat tire and jack in the compact spare tire compartment:

  1. Make sure the retractable hardtop is in the up position.
  2. Open the trunk. See Trunk for more information.
  3. If you have a retractable hardtop model, unlatch the trunk cargo cover so that it is in the open position.
  4. Remove the bolt extension (in the yellow sleeve) from the jack and remove the center cap from the wheel.

  5. Object Number: 1554321  Size: B3
  6. Place the jack over the bolt (B) on the floor, making sure it contacts the bolt as shown.
  7. Place the extension bolt (A) onto the bolt (B).
  8. Thread the jack retainer nut (C) until it is at or near the end of the threads.
  9. While placing the flat tire in the wheel tub, reach under the wheel and lift the extension bolt so that the threaded end of the bolt passes through the center hole of the wheel.
  10. Remove the yellow cap.
  11. Secure the tire and wheel with the larger wing nut.
  12. Replace the cover.

  13. Object Number: 1910986  Size: B3
  1. Cover

  2. Retainer

  3. Flat Tire (Valve Stem Up) or Compact Spare Tire

  4. Nut

  5. Bolt Extension

  6. Jack and Wheel Wrench

  7. Bolt

The compact spare tire is for temporary use only. Replace the compact spare tire with a full-size tire as soon as you can. See Compact Spare Tire .