GM Service Manual Online
For 1990-2009 cars only

Rocker Panel Molding Replacement G6

Removal Procedure

  1. Open the front and rear doors.
  2. Raise the vehicle to gain access to the lower rocker molding retaining clips.
  3. Notice: Use a plastic, flat-bladed tool to prevent paint damage when removing an emblem/name plate.

  4. Apply masking tape to protect the painted surfaces.

  5. Object Number: 891002  Size: SH
  6. Remove the rocker molding to fender screw (1) and quarter panel screw (2).

  7. Object Number: 141863  Size: SH

    Important: The rocker molding retaining clips (2) maybe damaged when removing from the underbody and must be replaced.

  8. Use a flat-bladed tool (3), to aid in the removal of the rocker molding retaining clips (2) from the underside of the rocker molding.

  9. Object Number: 891045  Size: SH
  10. Use a flat-bladed tool to aid in the removal of the rocker molding clips (3), working the tool by hand between the rocker panel and the rocker molding top edge until it releases.

  11. Object Number: 141861  Size: SH

    Important: The inner rocker molding clips are located along the upper inside edge of the rocker molding.

  12. Remove the rocker molding by sliding it rearward until it releases from the retainer clips.
  13. Pull the top edge of the rocker molding (2) away from the rocker panel (1) by sliding it rearward until it disengages from the inner retaining clips (3).
  14. Remove the rocker molding from the vehicle.

Installation Procedure


    Object Number: 891045  Size: SH

    Important: Replace all the damaged retaining clips (3, 4) before reinstalling the rocker molding.

  1. Position the rocker molding retaining clips (3) to the locator holes in the rocker panel.
  2. Apply heavy hand pressure to secure the fasteners in the rocker panel.
  3. Install the lower rocker molding retaining clips.
  4. Notice: Use the correct fastener in the correct location. Replacement fasteners must be the correct part number for that application. Fasteners requiring replacement or fasteners requiring the use of thread locking compound or sealant are identified in the service procedure. Do not use paints, lubricants, or corrosion inhibitors on fasteners or fastener joint surfaces unless specified. These coatings affect fastener torque and joint clamping force and may damage the fastener. Use the correct tightening sequence and specifications when installing fasteners in order to avoid damage to parts and systems.


    Object Number: 891002  Size: SH
  5. Install the rocker molding to fender screw (1) and quarter panel screw (2).
  6. Tighten
    Tighten the rocker molding to fender screw (1) and quarter panel screws (2) to 2 N·m (18 lb in).

  7. Remove the masking tape.
  8. Lower the vehicle.
  9. Inspect the doors to rocker molding for alignment.
  10. Close the front and rear doors.

Rocker Panel Molding Replacement GXP Coupe


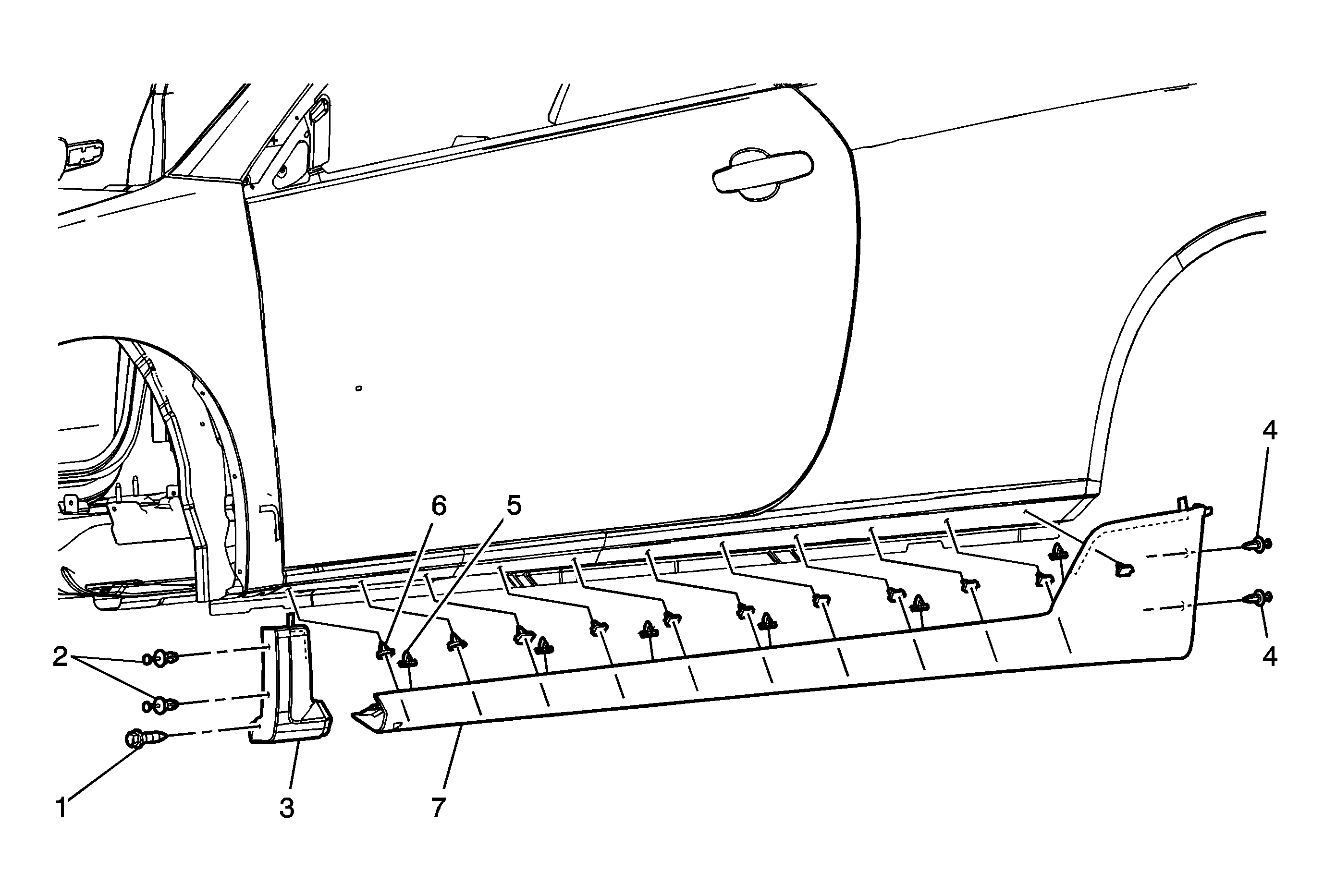
Object Number: 1973730  Size: MF

Callout

Component Name

Preliminary Procedure

  1. Open the door in order access and remove the lower rocker molding retainers.
  2. Raise and support the vehicle. Refer to Lifting and Jacking the Vehicle.
  3. Remove the mud guards, if equipped.

1

Rocker Panel Molding Screw

Notice: Refer to Exterior Trim Emblem Removal Notice in the Preface section.

Notice: Refer to Fastener Notice in the Preface section.

Tighten
2.0 N·m (18 lb in)

2

Front Wheelhouse Liner Retainer (Qty: 2)

3

Rocker Panel Front Molding

Procedure

  1. Remove the lower front rocker molding clip from the rocker panel pinch weld flange.
  2. Release the adhesive tape by using a flat-bladed plastic tool under the molding.
  3. Clean all the adhesive tape from the lower fender panel using a 50/50 solution by volume of clean drinkable water and isopropyl alcohol.
  4. Wipe the lower fender panel surface dry with a lint-free towel prior to installation of the front lower rocker panel.
  5. When removing protective liners from the adhesive tape, be careful not to touch the tape and do not allow the tape to come in contact with dirt or any foreign matter prior to adhesion.

4

Rear Rocker Panel Molding Assembly Retainer (Qty: 2)

Tip
Using a suitable retainer release tool, release the six lower retainer clips.

5

Rocker Panel Molding Lower Assembly Retainer (Qty:6)

Tip
Using a suitable retainer release tool, release the six lower retainer clips.

6

Rocker Panel Molding Upper Assembly Retainer (Qty: 11)

Tip
Using a suitable retainer release tool, release the eleven retainers from the upper flange.

7

Rocker Panel Rear Molding Assembly

Procedure

  1. Remove the lower rear rocker molding clip from the rocker panel pinch weld flange.
  2. Release the adhesive tape by using a flat-bladed plastic tool under the molding.
  3. Clean all the adhesive tape from the lower body panel using a 50/50 solution by volume of clean drinkable water and isopropyl alcohol.
  4. Wipe the lower body panel surface dry with a lint-free towel prior to installation of the rear rocker panel molding assembly.
  5. When removing protective liners from the adhesive tape, be careful not to touch the tape and do not allow the tape to come in contact with dirt or any foreign matter prior to adhesion.