GM Service Manual Online
For 1990-2009 cars only

Coolant Heater Cord Replacement 3.6L Engine

Removal Procedure

    Caution: Refer to Battery Disconnect Caution in the Preface section.

  1. Disconnect the battery ground cable. Refer to Battery Negative Cable Disconnection and Connection.
  2. Drain the cooling system. Refer to Cooling System Draining and Filling.
  3. Remove the engine covers. Refer to Engine Cover Replacement.

  4. Object Number: 2033472  Size: SH
  5. Disconnect the coolant heater cord electrical connector (1).

  6. Object Number: 2033476  Size: SH
  7. Disengage the coolant heater cord to wiring harness heat shield stud retaining clip (1).
  8. Caution: Refer to Safety Glasses Caution in the Preface section.

    Caution: Refer to Vehicle Lifting Caution in the Preface section.

  9. Raise and support the vehicle. Refer to Lifting and Jacking the Vehicle.

  10. Object Number: 2033477  Size: SH
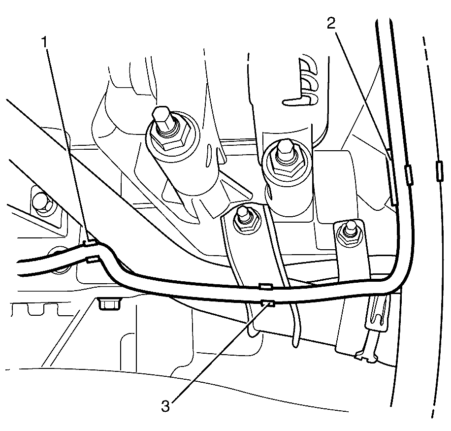
  11. Disengage the coolant heater cord to engine block retaining clip (1).
  12. Disengage the coolant heater cord to coolant inlet pipe bracket retaining clip (2).
  13. Lower the vehicle.

  14. Object Number: 2033478  Size: SH
  15. Disengage the coolant heater cord to generator cable retaining clips (1).
  16. Disengage the coolant heater cord to vehicle body ground cable bolt retaining clip (2).

  17. Object Number: 2033479  Size: SH
  18. Disengage the coolant heater cord to vehicle body retaining clip (2).
  19. Remove the coolant heater cord (1) from the vehicle.

Installation Procedure


    Object Number: 2033479  Size: SH
  1. Position the coolant heater cord (1) to the vehicle.
  2. Engage the coolant heater cord to vehicle body retaining clip (2).

  3. Object Number: 2033478  Size: SH
  4. Engage the coolant heater cord to vehicle body ground cable bolt retaining clip (2).
  5. Engage the coolant heater cord to generator cable retaining clips (1).
  6. Raise the vehicle.

  7. Object Number: 2033477  Size: SH
  8. Engage the coolant heater cord to coolant inlet pipe bracket retaining clip (2).
  9. Engage the coolant heater cord to engine block retaining clip (1).
  10. Lower the vehicle.

  11. Object Number: 2033476  Size: SH
  12. Engage the coolant heater cord to wiring harness heat shield stud retaining clip (1).

  13. Object Number: 2033472  Size: SH
  14. Connect the coolant heater cord electrical connector (1).
  15. Fill the cooling system. Refer to Cooling System Draining and Filling.
  16. Install the engine covers. Refer to Engine Cover Replacement.
  17. Connect the battery ground cable. Refer to Battery Negative Cable Disconnection and Connection.

Coolant Heater Cord Replacement 6.0L Engine

Removal Procedure

    Caution: Refer to Battery Disconnect Caution in the Preface section.

  1. Disconnect the battery ground cable. Refer to Battery Negative Cable Disconnection and Connection.
  2. Caution: Refer to Safety Glasses Caution in the Preface section.

    Caution: Refer to Vehicle Lifting Caution in the Preface section.

  3. Raise and support the vehicle. Refer to Lifting and Jacking the Vehicle.

  4. Object Number: 2030058  Size: SH
  5. Disconnect the coolant heater cord electrical connector (1).
  6. Lower the vehicle.

  7. Object Number: 2033474  Size: SH
  8. Disengage the coolant heater cord to generator cable retaining clips (1).

  9. Object Number: 2033475  Size: SH
  10. Disengage the coolant heater cord to air cleaner assembly stud retaining clips (1).
  11. Remove the coolant heater cord (2) from the vehicle.

Installation Procedure


    Object Number: 2033475  Size: SH
  1. Position the coolant heater cord (2) to the vehicle.
  2. Engage the coolant heater cord to air cleaner assembly stud retaining clips (1).

  3. Object Number: 2033474  Size: SH
  4. Engage the coolant heater cord to generator cable retaining clips (1).
  5. Raise the vehicle.

  6. Object Number: 2030058  Size: SH
  7. Connect the coolant heater cord electrical connector (1).
  8. Lower the vehicle.
  9. Connect the battery ground cable. Refer to Battery Negative Cable Disconnection and Connection.