GM Service Manual Online
For 1990-2009 cars only

Removal Procedure


    Object Number: 1940020  Size: SH
  1. Using a suitable tool remove the inside door handle to door retaining screw cover (3) from the door trim panel (1).
  2. Remove the inside door handle to door retaining screw (2).

  3. Object Number: 1940016  Size: SH
  4. Remove the door trim panel to door retaining screws (1).

  5. Object Number: 2040654  Size: SH
  6. Detach the top of the door trim panel in order to release the inner belt seal clips (1).
  7. Important: Firmly pull the armrest handle outwards to release the door trim panel to door retaining clips.

  8. Remove the door trim panel from the door to allow access to door handle cable and door lock cable .

  9. Object Number: 1939929  Size: SH

    Important: The door handle and lock cables slide out and lift up to remove from the door trim panel.

  10. Disconnect the inside door handle cable (1) and door lock cable (2) from the door trim panel.

  11. Object Number: 2041028  Size: SH
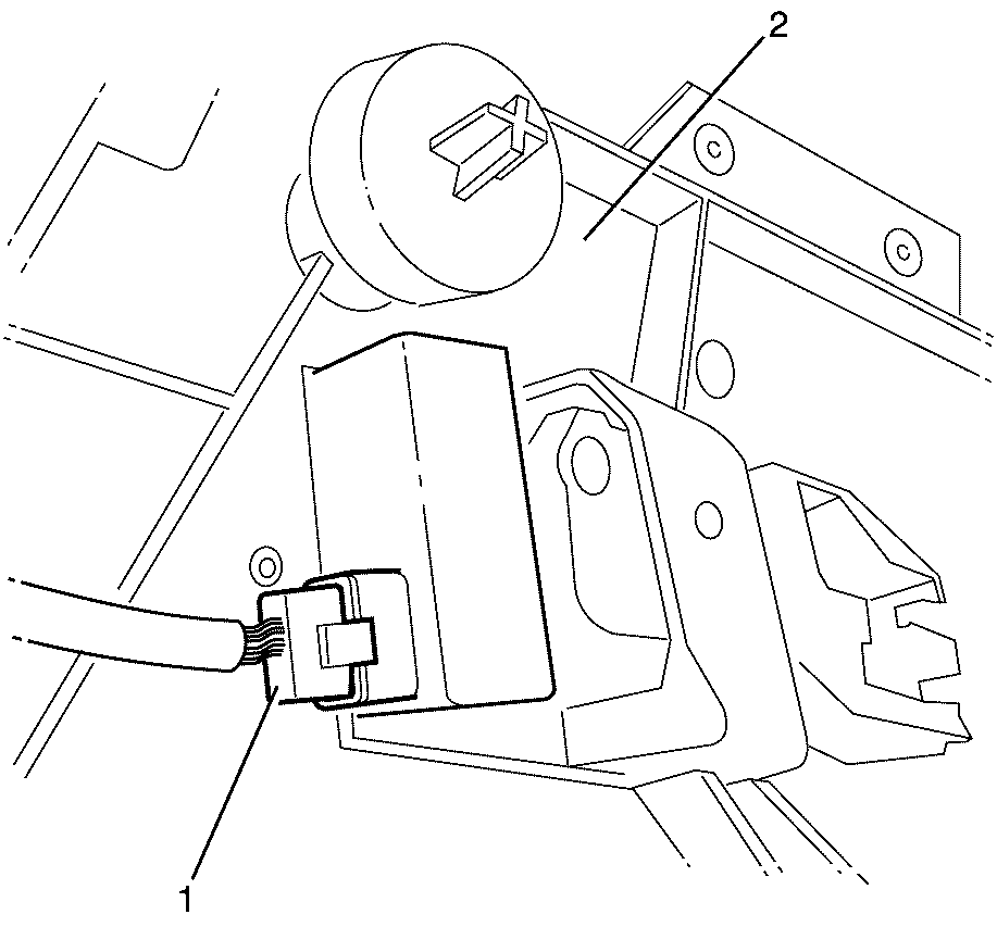
  12. Disconnect the window switch (1) from the door trim panel (2).
  13. Remove the door trim panel (2) from the door.

Installation Procedure

    Important: The green retaining clips are along the front edge and the white retaining clips are along the back edge.

  1. Make sure that all of the retaining clips are on the door trim panel and not still attached to the door sheetmetal.
  2. Important: Do not fully install the door trim panel at this stage. The inside door handle cable, door lock cable and window switch have to be attached first.

  3. Position the door trim panel to the door.

  4. Object Number: 2041028  Size: SH
  5. Connect the window switch (1) to the door trim panel (2).

  6. Object Number: 1939929  Size: SH
  7. Connect the inside door handle cable (2) and door lock cable (1) to the door trim panel.

  8. Object Number: 1940026  Size: SH

    Important: Datum pins (1, 2) assist in aligning the door trim panel to the door.

    Important: Apply pressure around the door trim panel (3) to secure the retainers to the door.

  9. Position the door trim panel (3) to the door.
  10. Notice: Refer to Fastener Notice in the Preface section.


    Object Number: 1940016  Size: SH
  11. Install the door trim panel to door retaining screws (1).
  12. Tighten
    Tighten the screws to 3 N-m (27 lb in).

    Notice: Refer to Fastener Notice in the Preface section.


    Object Number: 1940020  Size: SH
  13. Install the inside door handle to door retaining screw (2).
  14. Tighten
    Tighten the screws to 3 N-m (27 lb in).

  15. Install the inside door handle to door retaining screw cover (3) to the door trim panel (1).