GM Service Manual Online
For 1990-2009 cars only

Removal Procedure

  1. Remove the rear seat cushion. Refer to Rear Seat Cushion Replacement.

  2. Object Number: 1943537  Size: SH
  3. Remove the rear seat back to body retaining nuts (1).

  4. Object Number: 2039080  Size: SH
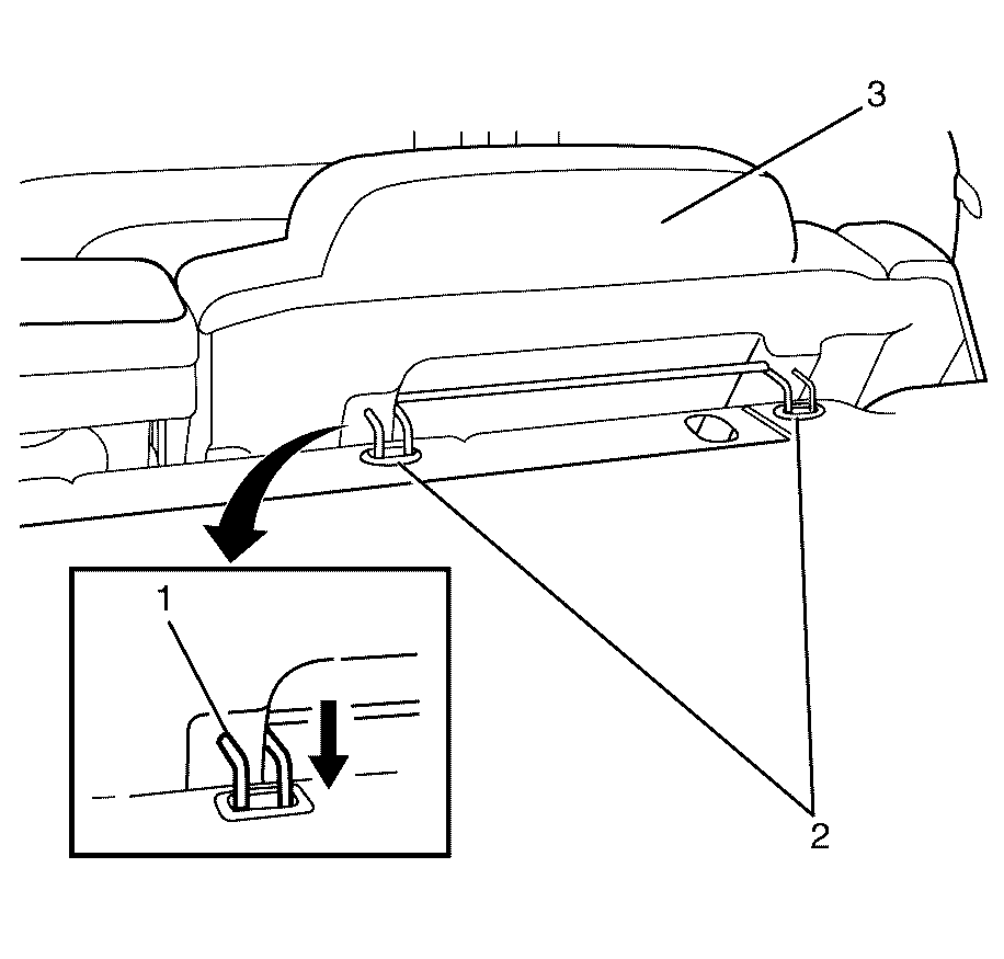
  5. Lift the rear seat back retaining hook (1) out of the retaining slots (2).
  6. Remove the rear seat back (3) from the vehicle.

Installation Procedure


    Object Number: 2039076  Size: SH
  1. Install the rear seat back (3) to the vehicle.
  2. Insert the rear seat back retaining hooks (1) into the retaining slots (2).
  3. Notice: Refer to Fastener Notice in the Preface section.


    Object Number: 1943537  Size: SH
  4. Install the rear seat back to body retaining nuts (1).
  5. Tighten
    Tighten the nuts to 27  N·m (20 lb ft).

  6. Install the rear seat cushion. Refer to Rear Seat Cushion Replacement.