GM Service Manual Online
For 1990-2009 cars only
Figure 1:

Security Warning Lamp, Ignition key (Transponder), Theft Deterrent Module (TDM), Engine Control Module (ECM) and Body Control Module (BCM)


Object Number: 1958135  Size: LF
(1)Security Warning Lamp
(2)Ignition Key (Transponder)
(3)Theft Deterrent Module (TDM)
(4)Engine Control Module (ECM)
(5)Body Control Module (BCM)
Figure 2:

Park Brake Subsystem Components


Object Number: 1960744  Size: LF
(1)Park Brake Assembly
(2)Park Brake Switch
(3)Park Brake Switch Electrical Connector
Figure 3:

Dual Zone -- View From Passenger Side


Object Number: 2044502  Size: LF
(1)Evaporator Temperature Sensor
(2)Evaporator Core
(3)Evaporator Temperature Sensor Connector
(4)Recirculation Actuator
(5)HVAC Control Module
(6)Blower Motor
(7)Blower Motor Control Module
(8)Air Temperature Actuator - Right
Figure 4:

Dual Zone -- I/P Components


Object Number: 2044505  Size: LF
(1)Inside Air Temperature Sensor
(2)Inside Air Temperature Sensor Vent
(3)Infotainment Unit (Incorporates HVAC Controls)
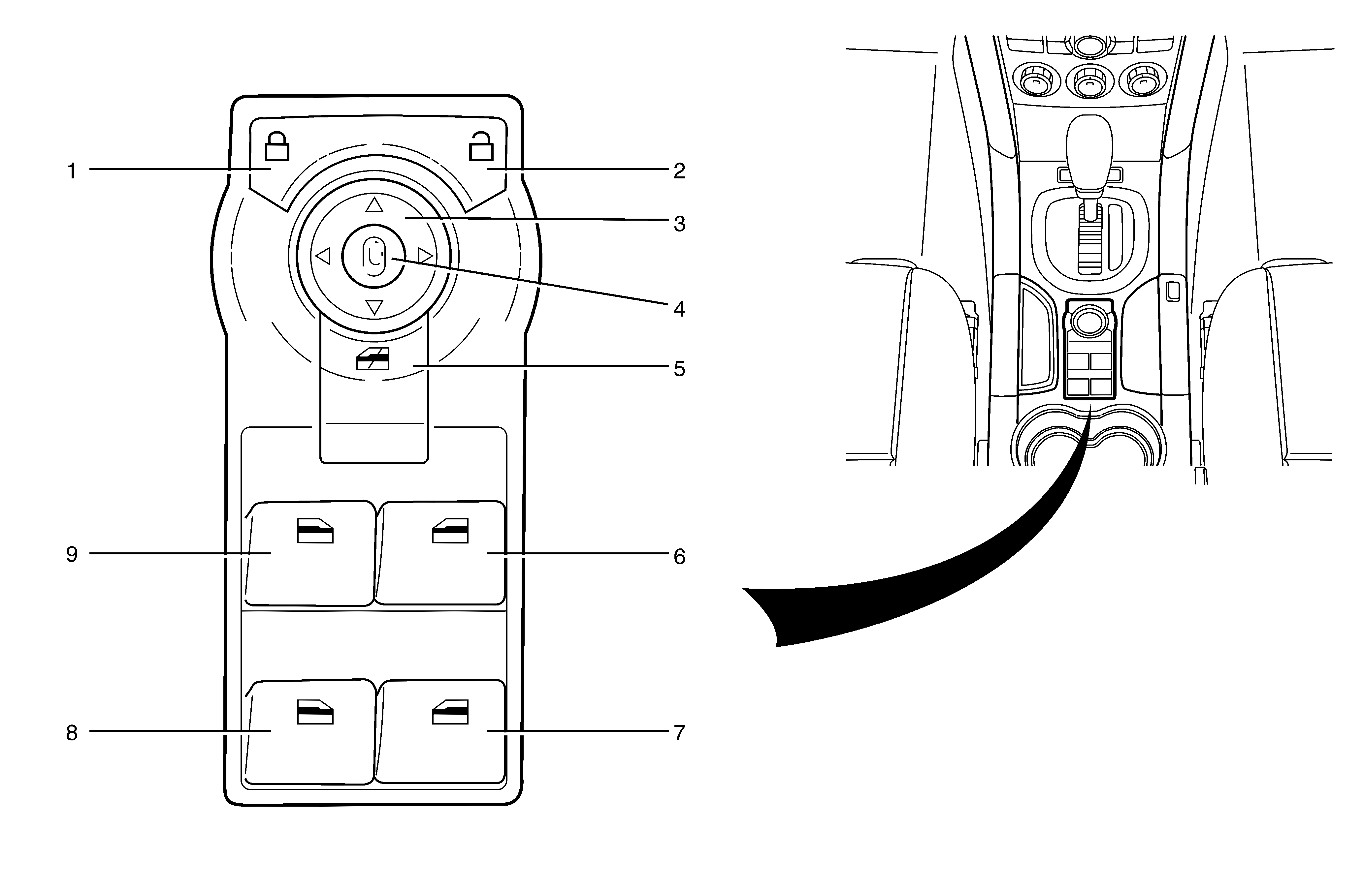
Figure 5:

Door Switches


Object Number: 1960835  Size: SF
(1)Door Lock Switch
(2)Door Unlock Switch
(3)Mirror Direction Switch
(4)Mirror Selection Switch
(5)Window Lock Switch
(6)R/H Front Window Switch
(7)R/H Rear Window Switch
(8)L/H Rear Window Switch
(9)L/H Front Window Switch
Figure 6:

Dual Zone -- View From Passenger Side


Object Number: 2044502  Size: LF
(1)Evaporator Temperature Sensor
(2)Evaporator Core
(3)Evaporator Temperature Sensor Connector
(4)Recirculation Actuator
(5)HVAC Control Module
(6)Blower Motor
(7)Blower Motor Control Processor
(8)Air Temperature Actuator - Right
Figure 7:

Dual Zone -- View From Drivers Side


Object Number: 2044503  Size: LF
(1)Mode Actuator
(2)Inside Air Temperature Sensor Venturi
(3)Air Temperature Lever- Rear
(4)Mode Door Actuator - Auxiliary
(5)Air Temperature Actuator - Left
Figure 8:

Dual Zone -- I/P Components


Object Number: 2044505  Size: LF
(1)Inside Air Temperature Sensor
(2)Inside Air Temperature Sensor Vent
(3)Infotainment Unit (Incorporates HVAC Controls)
Figure 9:

View From Drivers Side


Object Number: 2044503  Size: LF
(1)Mode Actuator
(2)Air Temperature Lever - Rear
(3)Mode Door Actuator - Auxiliary
(4)Air Temperature Actuator - Left
Figure 10:

I/P Components


Object Number: 2060240  Size: SH
(1)Infotainment Unit (Incorporates HVAC Controls)
Figure 11:

View From Passenger Side


Object Number: 2060242  Size: SH
(1)Evaporator Temperature Sensor
(2)Evaporator Core
(3)Evaporator Temperature Sensor Connector
(4)Recirculation Actuator
(5)HVAC Control Module
(6)Blower Motor
(7)Blower Motor Control Processor