GM Service Manual Online
For 1990-2009 cars only

Removal Procedure

    Caution: Refer to Battery Disconnect Caution in the Preface section.

    Caution: Refer to SIR Caution in the Preface section.


    Object Number: 1943555  Size: SH
  1. Disconnect the battery ground cable from the battery. Refer to Battery Negative Cable Disconnection and Connection.
  2. Disable the SIR system. Refer to SIR Disabling and Enabling.
  3. Remove the front seat. Refer to Front Seat Replacement - Bucket.
  4. Remove seat back assembly. Refer to Front Seat Back Replacement.
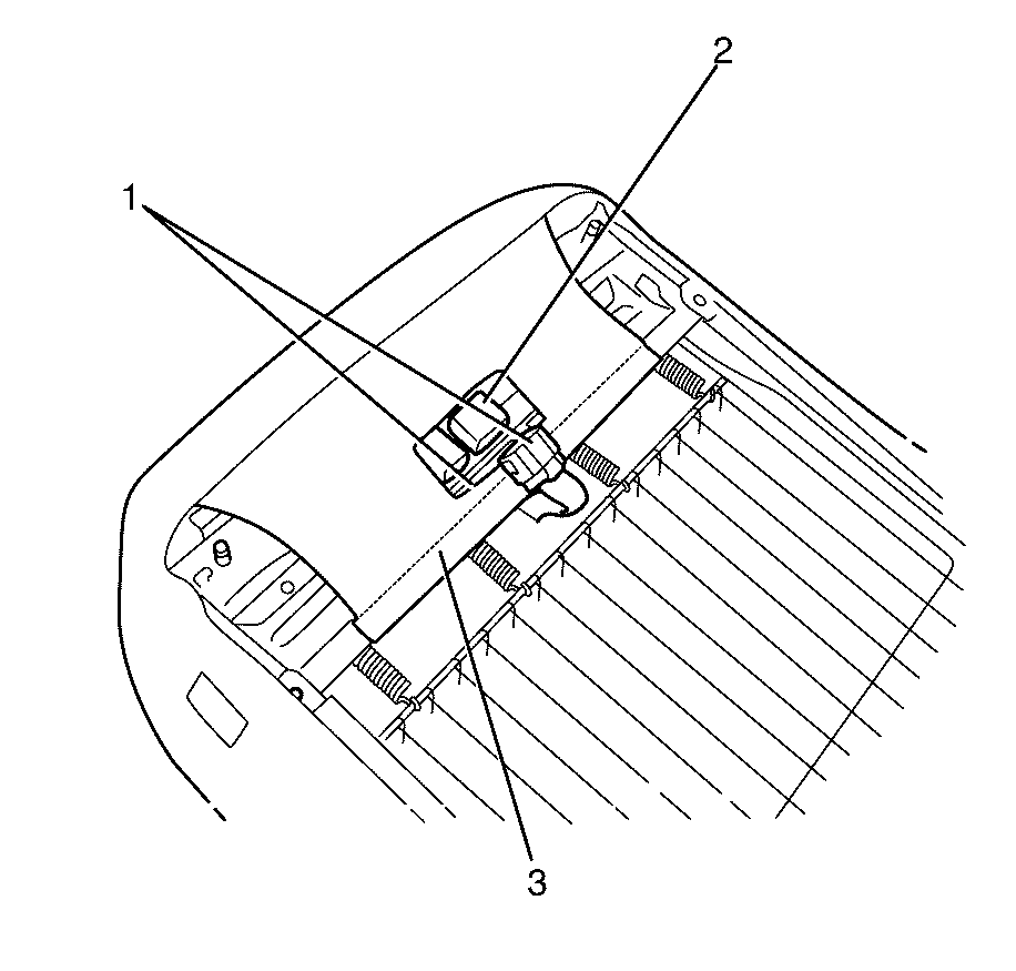
  5. Disengage the front and side J-strips (2) away from the seat adjuster (3).
  6. Lift the cover and pad assembly away from the seat frame and then release the J-strip (2).
  7. Remove the pad and cover assembly (1).
  8. Place pad and cover assembly on a clean and suitable work surface.

  9. Object Number: 1943556  Size: SH
  10. Fold the rear corners of the seat cushion cover (1) over the seat cushion pad (2).

  11. Object Number: 2041480  Size: SH

    Important: The passenger presence module is only located in the passenger seat.

  12. Disconnect the passenger presence module electrical connector (1) from the passenger presence module (2).
  13. Disengage the J-strip (3).

  14. Object Number: 1943557  Size: SH
  15. While holding the front seat cushion pad (1) pull the rear corners of the front seat cushion cover (2) forward and away from the pad to disengage the hook and loop strips (3).
  16. Pull the cover up and over the forward edge of the pad.
  17. Remove the seat cushion cover.

Installation Procedure


    Object Number: 2065598  Size: SH

    Important: Press the folded edge of the seat cushion cover firmly into the corresponding groove in the pad to engage the hook and loop strips.

  1. Align the outer hook and loop strip (1) and the cross hook and loop strip (4) on the front seat cushion cover (2) with the front seat cushion cover pad (3).

  2. Object Number: 2041129  Size: SH
  3. Align the outer hook and loop strip (1) and the cross hook and loop strip (4) on the front seat cushion cover (2) with the front seat cushion cover pad (3).

  4. Object Number: 1943560  Size: SH
  5. Roll the front corners of the seat cover over the pad.
  6. Roll the sides of the seat cover over the pad.
  7. Roll the rear corners of the seat cover over the pad.
  8. Firmly run your finger in the seat cushion channels, to ensure a correct fitting.
  9. Place the seat cover and pad onto the seat cushion frame.

  10. Object Number: 2041480  Size: SH

    Important: The passenger presence module is only located in the passenger seat.

  11. Engage the J-strip (3) and re-connect the passenger presence module electrical connector (1) to the passenger presence module (2).
  12. Caution: Refer to SIR Caution in the Preface section.


    Object Number: 1943593  Size: SH
  13. Install the seat cushion (1) onto the seat adjuster assembly (3).
  14. Engage the J-strips (2) onto the seat adjuster assembly (3).
  15. Connect the active occupant sensing (AOS) control module.
  16. Install the seat back assembly. Refer to Front Seat Back Replacement.
  17. Install the front seat. Refer to Front Seat Replacement - Bucket.
  18. Enable the SIR system. Refer to SIR Disabling and Enabling.
  19. Connect the battery ground cable to the battery. Refer to Battery Negative Cable Disconnection and Connection.
  20. Re-zero the inflatable restraint passenger presence system. Refer to Passenger Presence System Programming and Setup.
  21. Test seat for correct mechanical and electrical operation.