GM Service Manual Online
For 1990-2009 cars only

Removal Procedure

  1. Remove the vehicle communication interface module (VCIM). Refer to Communication Interface Module Replacement.

  2. Object Number: 2094151  Size: SH
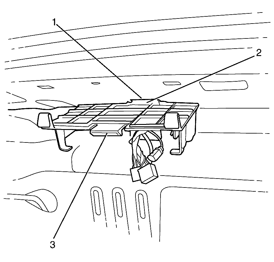
  3. Disengage the VCIM bracket to body retaining clips (2).
  4. Lower the rear end of the VCIM bracket (3) away from the body (1).

  5. Object Number: 2094152  Size: SH
  6. Slide the VCIM bracket retainer (2) out of the body slot (1).
  7. Remove the VCIM bracket (3) from the vehicle.

Installation Procedure


    Object Number: 2094152  Size: SH
  1. Install the VCIM bracket (3) to the vehicle.
  2. Slide the VCIM bracket retainer (2) into the body slot (1).

  3. Object Number: 2094151  Size: SH
  4. Apply suitable upward pressure to the VCIM bracket (3) to engage the VCIM bracket to body retaining clips (2) to the body (1).
  5. Install the VCIM. Refer to Communication Interface Module Replacement.