GM Service Manual Online
For 1990-2009 cars only

Removal Procedure

  1. Disconnect the fuel and EVAP lines at the engine compartment. Refer to Fuel Hose/Pipes Replacement - Engine Compartment .
  2. Disconnect the fuel and EVAP lines at the fuel tank. Refer to Fuel Tank Replacement .

  3. Object Number: 1372176  Size: SH
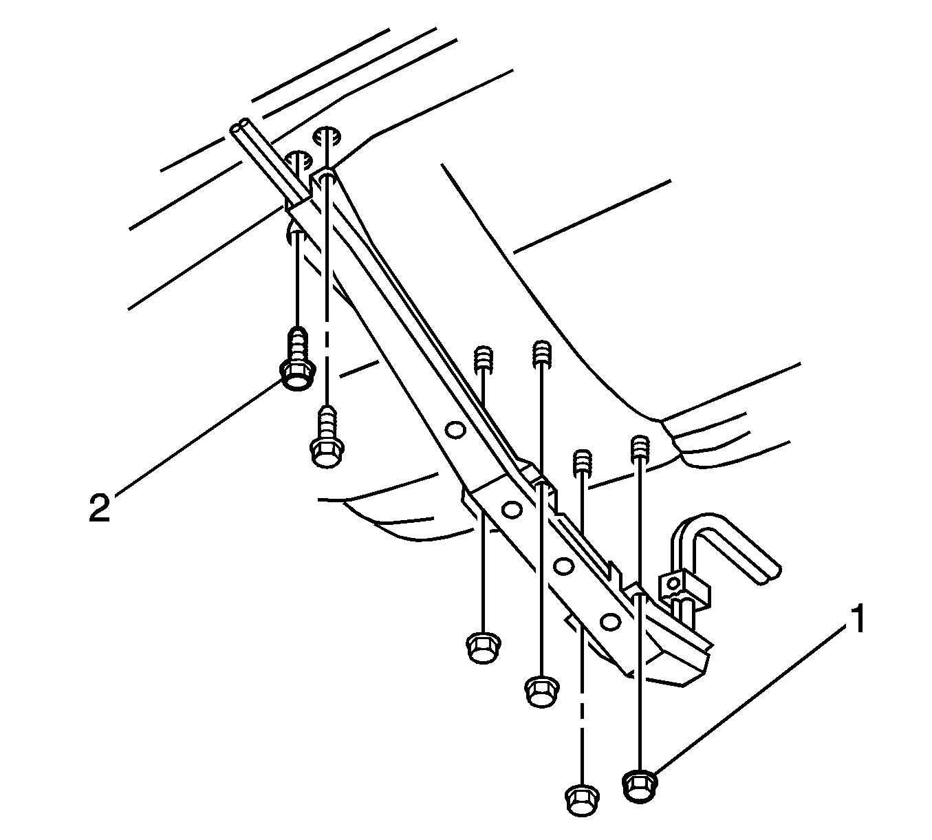
  4. Remove the bolts (2) and the nuts (1) securing the stone guard.

  5. Object Number: 1372184  Size: SH
  6. Remove all the fuel line bracket pop rivets securing the fuel and EVAP pipes to the under body.
  7. Remove the fuel and EVAP lines from the vehicle.

Installation Procedure

  1. Install the fuel and EVAP lines to the vehicle.

  2. Object Number: 1372184  Size: SH
  3. Install the fuel line bracket pop rivets.

  4. Object Number: 1372176  Size: SH
  5. Install the bolts (2) and the nuts (1) to the stone guard.
  6. Install the fuel and EVAP lines at the fuel tank. Refer to Fuel Tank Replacement .
  7. Install the fuel and EVAP lines at the engine compartment. Refer to Fuel Hose/Pipes Replacement - Engine Compartment .
  8. Inspect for leaks.
  9. 6.1. Turn ON the ignition for 2 seconds.
    6.2. Turn OFF the ignition for 2 seconds.
    6.3. Turn ON the ignition.
    6.4. Inspect for fuel leaks.