|
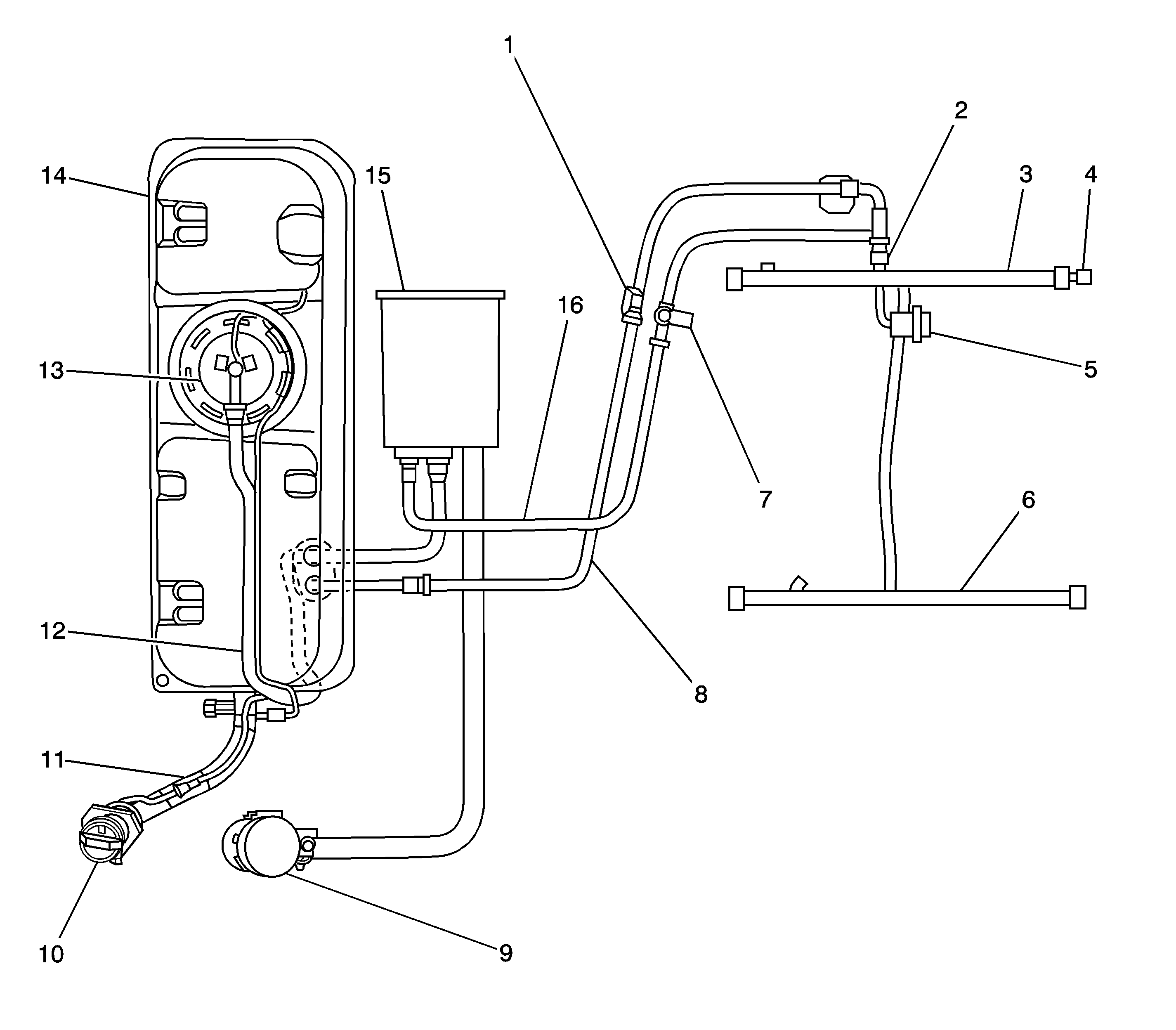
| (1) | Quick Connect
Fitting |
| (2) | Quick Connect
Fitting |
| (3) | Fuel Rail Bank
1 |
| (4) | Fuel Pressure
Schrader Valve |
| (5) | Fuel Pulse
Dampner |
| (6) | Fuel Rail Bank
2 |
| (7) | EVAP Service
Port |
| (8) | Fuel Feed Line
to Fuel Rail |
| (9) | EVAP Canister
Vent Solenoid |
| (10) | Fuel Fill
Cap |
| (11) | Fuel Fill
Pipe |
| (12) | Fuel Tank
to EVAP Canister Vapor Vent Hose |
| (13) | Modular Fuel
Pump and Sender Assembly |
| (14) | Fuel Tank |
| (15) | EVAP Canister |
| (16) | Vapor Purge
Pipe to Purge Solenoid |