GM Service Manual Online
For 1990-2009 cars only

Tools Required

J 22610 Clamp Pliers

Removal Procedure

This procedure is to be performed only after the drive shaft has been removed from the vehicle. For the removal procedure refer to Wheel Drive Shaft Replacement .

Important: Protect the drive shaft from damage.

  1. Place the wheel drive shaft horizontally in a bench vise.

  2. Object Number: 1275496  Size: SH
  3. Using a side cutter or other suitable tool, remove the large boot retaining clamp from the constant velocity joint boot and discard the clamp.
  4. Using a side cutter or other suitable tool, remove the small boot retaining clamp from the constant velocity joint boot and discard the clamp.

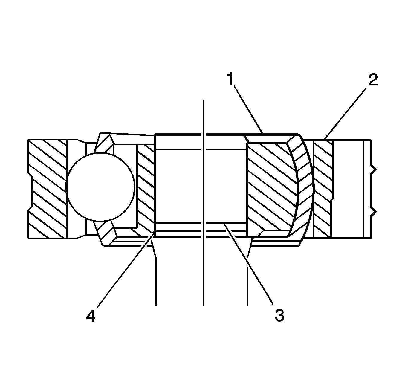
  5. Object Number: 1275511  Size: SH
  6. Remove the dust shield (2) and end cap (3) from the constant velocity joint by tapping with hammer and punch.
  7. Slide the boot toward the center of the drive shaft.

  8. Object Number: 1275621  Size: SH
  9. Remove the constant velocity joint retainer clip (2) from the drive shaft.
  10. Press the drive shaft from the constant velocity joint.
  11. Remove the constant velocity joint boot from the drive shaft.

  12. Object Number: 1275665  Size: SH
  13. Tilt the cage and inner race and remove one ball.
  14. Repeat the process to remove the remaining five balls.

  15. Object Number: 1275858  Size: SH
  16. Remove the inner race and cage
  17. Thoroughly clean the constant velocity (CV) joint components
  18. Inspect the constant velocity joint components for:
  19. • Pitting
    • Galling
    • Excessive play between ball (1) and cage (2).
    • Damage or cracking of the cage.
    • Cracking, galling, or chips of the races.
  20. If damaged, replace the constant velocity joint.
  21. Thoroughly clean and inspect the drive shaft boot for tears, cracking and deterioration.
  22. If the drive shaft seal is damaged, replace the boot.

Installation Procedure

Notice: Wheel drive shaft boots, seals and clamps should be protected from sharp objects any time service is performed on or near the wheel drive shaft(s). Damage to the boot(s), the seal(s) or the clamp(s) may cause lubricant to leak from the joint and lead to increased noise and possible failure of the wheel drive shaft.


    Object Number: 1276912  Size: SH
  1. Install the inner race and cage into the outer race ensuring the inner race step (5) is opposite of the outer race groove (1).

  2. Object Number: 1276086  Size: SH
  3. Align the thick sections (1) with the outer race with the narrow sections (2) on the inner race.

  4. Object Number: 1276096  Size: SH
  5. Tilt the cage and inner race and fit one ball.
  6. Repeat the process for the other five balls.
  7. Check the plunge of the inner parts. If there is no movement , the constant velocity joint has been assembled incorrectly. Reassemble the constant velocity joint.
  8. Remove the old sealing bead from the dust shields, end caps , and the constant velocity joint
  9. Install the large boot clamp over the drive shaft boot.
  10. Install the dust shield onto the drive shaft boot.

  11. Object Number: 1276351  Size: SH
  12. Using J 22610 , crimp the large clamp ensuring the crimp is positioned between 2 bolt holes.
  13. Important: Protect the axle shaft from damage.

  14. Install a new small boot retaining clamp onto the wheel drive shaft.
  15. Install the boot onto the driveshaft.

  16. Object Number: 1276384  Size: SH
  17. Press the constant velocity joint onto the drive shaft with the step on the inner race (3) facing the shoulder (4) on the drive shaft.

  18. Object Number: 1275621  Size: SH
  19. Install the constant velocity retaining clip (2).
  20. Pack one tube of grease into the inner side of the constant velocity joint and the boot.
  21. Pack a half tube of grease into the outside of the constant velocity joint.

  22. Object Number: 1276428  Size: SH
  23. Apply a 8 mm bead of RTV to the inside of the end cap and the dust shield (1). Allow to cure.
  24. Install the dust shield and end cap by gently tapping with a hammer and punch. Ensure the bolt holes are aligned.
  25. Position the small boot retaining clamp onto the neck of the boot.

  26. Object Number: 1276463  Size: SH
  27. Position the boot and small retaining clamp into the boot groove on the drive shaft.

  28. Object Number: 1276472  Size: SH

    Important: The boot must not be dimpled, stretched or out of shape in any way.

  29. Using a small screw driver (1), pry up the small end of the boot to equalize the air pressure.
  30. Measure the distance (a) between the edge of the boot and the edge of the last axle shaft groove closing edge. It should equal 81 mm (3.19 in).

  31. Object Number: 1276516  Size: SH
  32. Using J 22610 crimp the small end clamp.
  33. Remove the wheel drive shaft from the bench vise.
  34. To install the wheel drive shaft into the vehicle. Refer to Wheel Drive Shaft Replacement .