GM Service Manual Online
For 1990-2009 cars only

Removal Procedure

  1. Open the hood.
  2. Remove the upper radiator shroud. Refer to Fan Shroud Replacement in Engine Cooling.
  3. Remove the left-hand instrument panel outer cover. Refer to Instrument Panel Outer Trim Cover Replacement in Instrument Panel, Gages, and Console.

  4. Object Number: 1234726  Size: SH
  5. Disconnect the wiring harness from the right-hand strut tower.
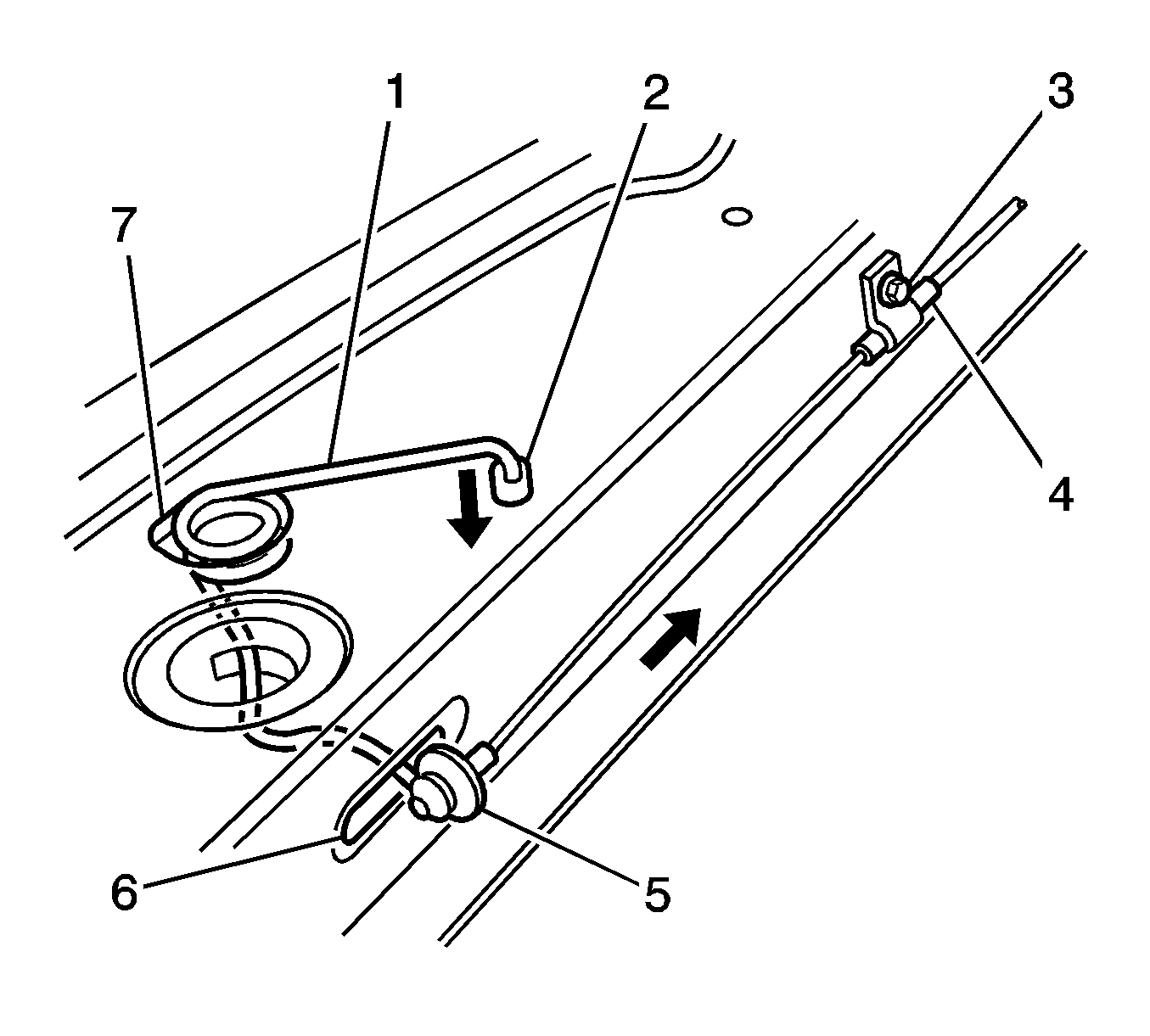
  6. Remove the hood latch release cable screw (3) and unhook release cable assembly (5) from the primary hood latch (1).
  7. Tie a wire or string to the end of the hood release cable (5). Ensure that the end of the wire or string remains in the engine compartment.

  8. Object Number: 1236078  Size: SH
  9. Using a flat-bladed tool, lever the retaining tabs (1) top and bottom on the release lever bracket (2) and slide the lever assembly (3) rearward.

  10. Object Number: 1236141  Size: SH
  11. From within the engine compartment, remove the cable assembly (1) from the wiring harness retainers (2).
  12. Push the release cable grommet (3) through the dash panel.
  13. Remove the hood latch release cable from the dash panel.

Installation Procedure


    Object Number: 1236141  Size: SH
  1. Tie the hood latch release cable to a wire or string. Feed the hood latch release cable grommet (3) through the dash panel.
  2. Apply strip caulk sealer, or equivalent, around the grommet.
  3. Route the hood release cable (1) along the engine compartment and fasten to the wiring harness retainers (2).

  4. Object Number: 1236078  Size: SH
  5. Install the hood latch release cable lever (3) to the bracket (2), ensuring the retaining tabs (1) fasten.

  6. Object Number: 1234726  Size: SH
  7. Install the release cable (5) to the primary hood latch (1).
  8. Install the hood latch release cable retainer (4) to the radiator support.
  9. Notice: Refer to Fastener Notice in the Preface section.

  10. Install the screw (3) to the hood release cable retainer (4).
  11. Tighten
    Tighten the hood release cable retainer screw to 2 N·m (17 lb in).

  12. Reconnect the wiring harness to the right-hand strut tower.
  13. Inspect the hood latch for proper operation.
  14. Install the left-hand instrument panel outer cover. Refer to Instrument Panel Outer Trim Cover Replacement in Instrument Panel, Gages and Console.
  15. Install the upper radiator shroud. Refer to Fan Shroud Replacement in Engine Cooling.
  16. Close the hood.