GM Service Manual Online
For 1990-2009 cars only

Cruise Release Switch Adjustment


    Object Number: 1583697  Size: SH
  1. Disconnect the negative battery cable. Refer to Battery Negative Cable Disconnection and Connection .
  2. Remove the left closeout panel. Refer to Instrument Panel Insulator Panel Replacement - Left Side .
  3. Remove the left ventilation ducts. Refer to Instrument Panel Air Outlet Ducts Replacement .
  4. Remove the stop lamp switch. Refer to Stop Lamp Switch Replacement .
  5. Disconnect the cruise switch electrical connector by pressing the connector locking tab while pulling on the cruise control switch connector.
  6. Turn the cruise control release switch assembly counterclockwise 90 degrees and pull out of the brake pedal support.
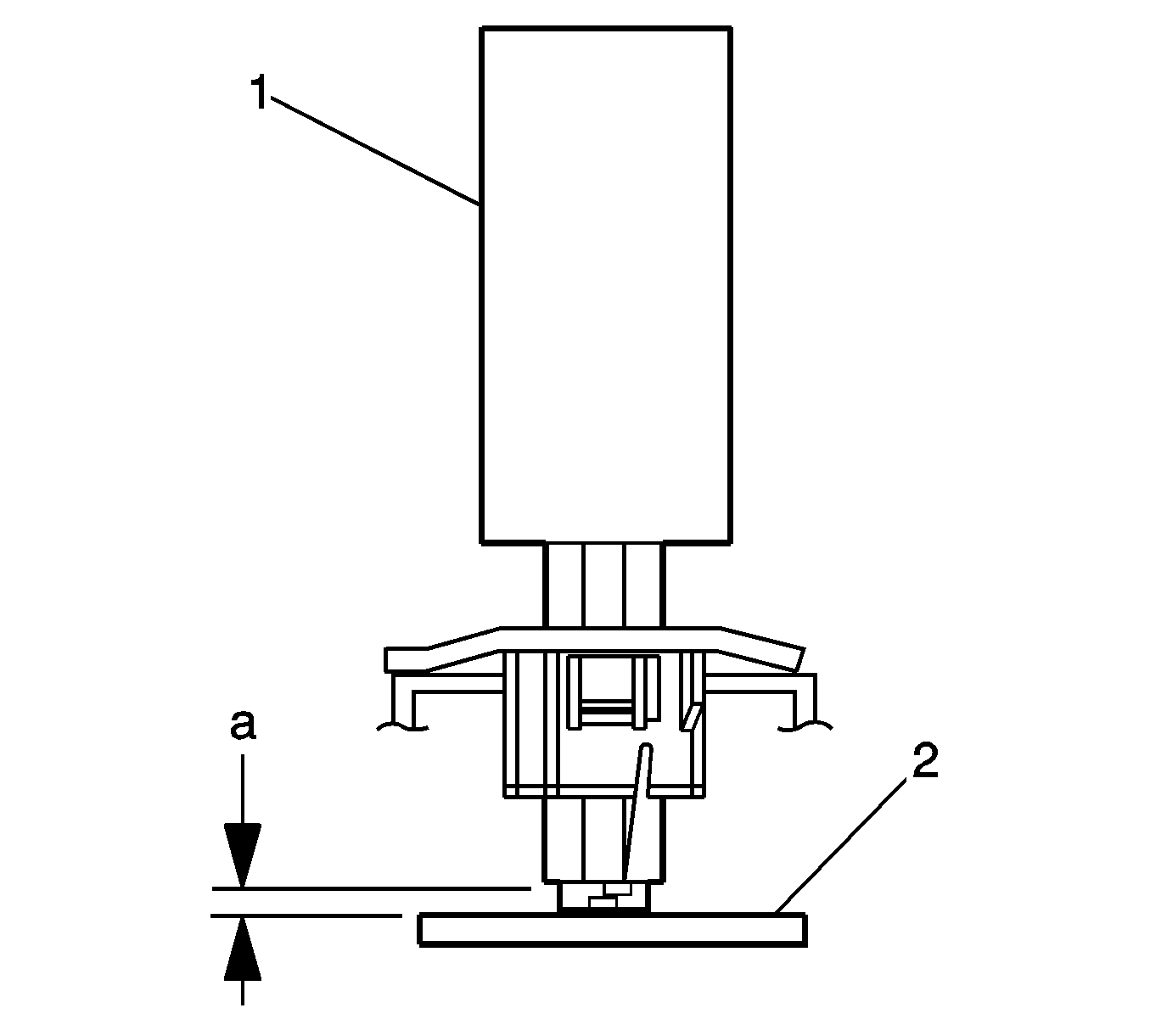
  7. Push the switch assembly (1) so the plunger is pressed and the end switch barrel is against the brake pedal (2).
  8. Turn the cruise control release switch assembly (1) clockwise 90 degrees to lock in place. The distance between the brake pedal and the switch barrel should be 0.2-1.2 mm (0.008-0.047 in).
  9. Install the stop lamp switch. Refer to Stop Lamp Switch Replacement .
  10. Install the left ventilation ducts. Refer to Instrument Panel Air Outlet Ducts Replacement .
  11. Install the left I/P lower insulator panel. Refer to Instrument Panel Insulator Panel Replacement - Left Side .
  12. Connect the negative battery cable. Refer to Battery Negative Cable Disconnection and Connection .