|
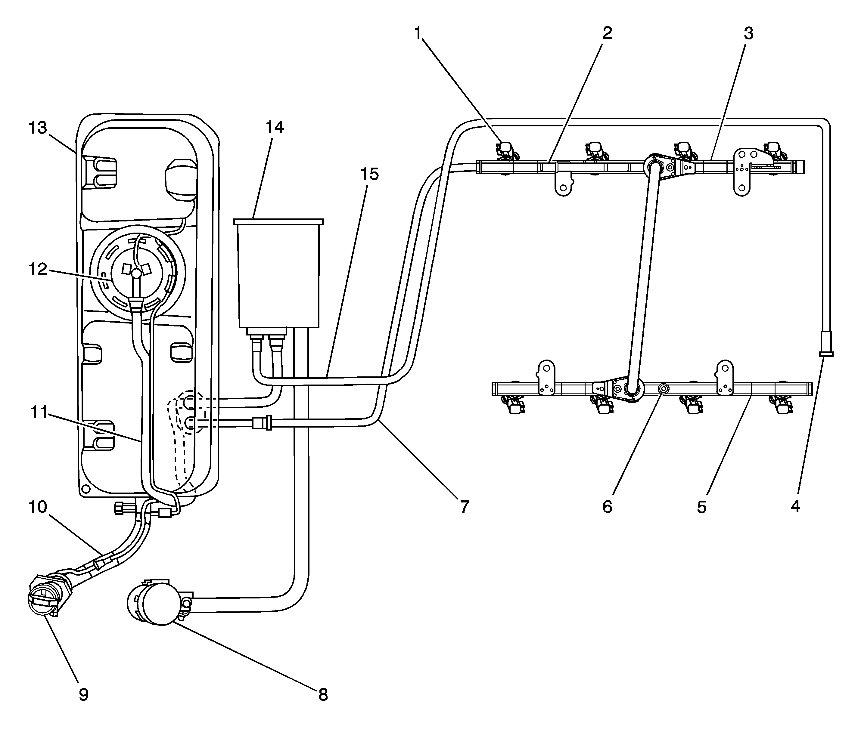
| (1) | Fuel Injector |
| (2) | Quick Connect
Fitting |
| (3) | Fuel Rail
Bank 1 |
| (4) | EVAP Service
Port |
| (5) | Fuel Rail
Bank 2 |
| (6) | Fuel Pressure
Schrader Valve |
| (7) | Fuel Feed
Line to Fuel Rail |
| (8) | EVAP Canister
Vent Solenoid |
| (9) | Fuel Fill
Cap |
| (10) | Fuel Fill
Pipe |
| (11) | Fuel Tank to
EVAP Canister Vapor Vent Hose |
| (12) | Modular Fuel
Pump and Sender Assembly |
| (13) | Fuel Tank |
| (14) | EVAP Canister |
| (15) | Vapor Purge
Pipe to Purge Solenoid |