| Table 1: | Clutch Pedal Position (CPP) Switch |
| Table 2: | Generator |
| Table 3: | Ignition Lock Cylinder Lamp |
| Table 4: | Ignition Switch C1 |
| Table 5: | Ignition Switch C2 |
| Table 6: | Ignition Switch C3 |
| Table 7: | Ignition Switch C4 |
| Table 8: | Park/Neutral Position Switch |
| |||||||
|---|---|---|---|---|---|---|---|
Connector Part Information |
| ||||||
Pin | Wire Color | Circuit No. | Function | ||||
A | GN/BN | 275 | Neutral Safety Switch Signal | ||||
B | GY | 434 | Park Neutral Position Switch Park Signal | ||||
| |||||||
|---|---|---|---|---|---|---|---|
Connector Part Information |
| ||||||
Pin | Wire Color | Circuit No. | Function | ||||
1 | OG | 225 | Battery Positive Voltage | ||||
2 | GY | 23 | Charge Indicator Control/Charge Indicator Signal | ||||
| |||||||
|---|---|---|---|---|---|---|---|
Connector Part Information |
| ||||||
Pin | Wire Color | Circuit No. | Function | ||||
A | OG/BK | 149 | Courtesy Lamp Supply Voltage | ||||
B | WH/GN | 660 | Left Courtesy Lamp Control | ||||
| |||||||
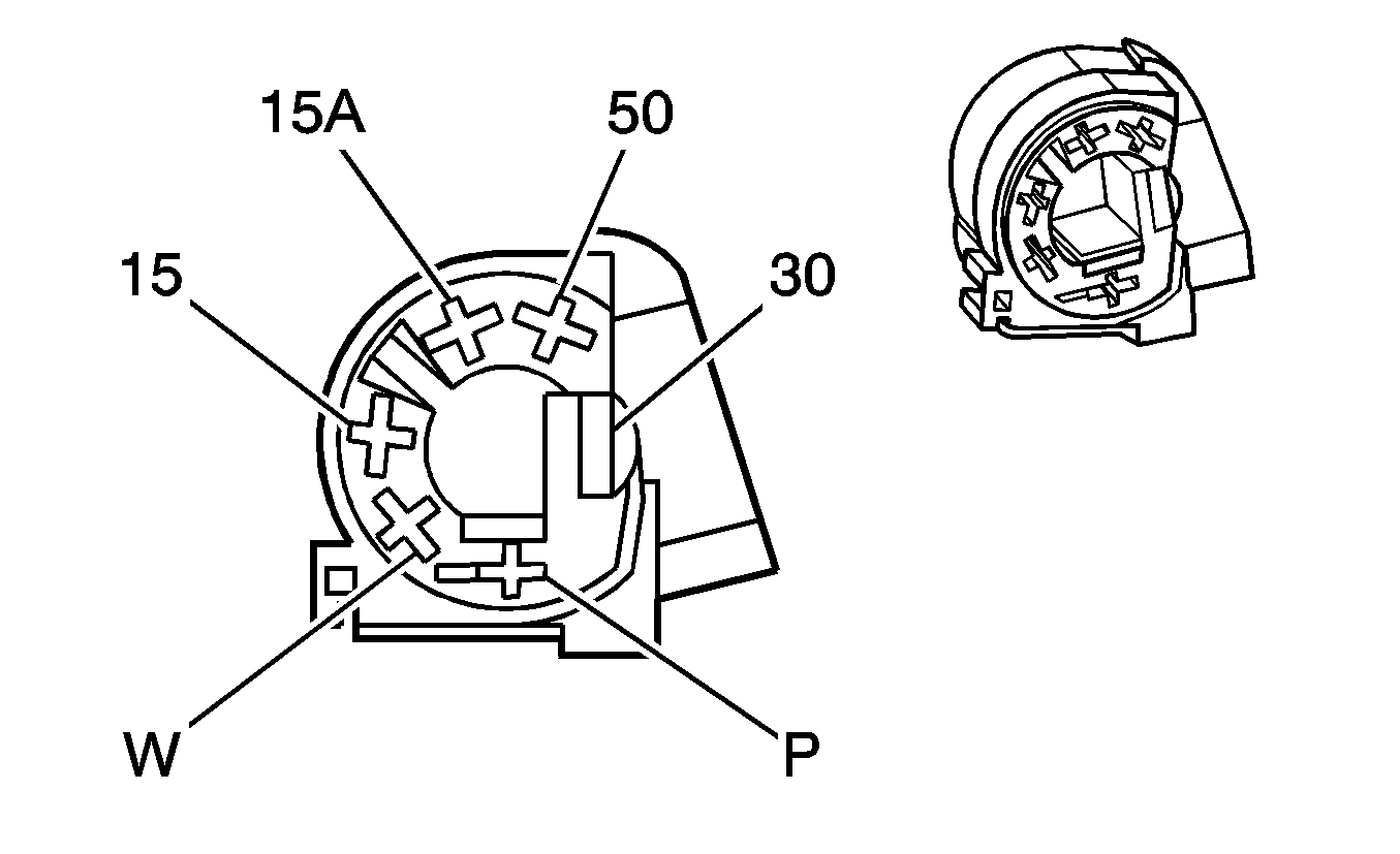
|---|---|---|---|---|---|---|---|
Connector Part Information |
| ||||||
Pin | Wire Color | Circuit No. | Function | ||||
P | -- | -- | Not Used | ||||
W | BN/WH | 4 | Accessory Voltage | ||||
15 | OG | 300 | Ignition 3 Voltage | ||||
15A | -- | -- | Not Used | ||||
50 | PU | 5 | Crank Voltage | ||||
30 | RD/WH | 1640 | Battery Positive Voltage | ||||
| |||||||
|---|---|---|---|---|---|---|---|
Connector Part Information |
| ||||||
Pin | Wire Color | Circuit No. | Function | ||||
A | PU/RD | 1073 | Ignition Key Resistor Feed | ||||
| |||||||
|---|---|---|---|---|---|---|---|
Connector Part Information |
| ||||||
Pin | Wire Color | Circuit No. | Function | ||||
A | BK/GN | 151 | Ground | ||||
| |||||||
|---|---|---|---|---|---|---|---|
Connector Part Information |
| ||||||
Pin | Wire Color | Circuit No. | Function | ||||
1 | L-BU | 1077 | Ignition Key/Shifter Interlock Solenoid Unlock | ||||
2 | BN/WH | 4 | Accessory Voltage | ||||
| |||||||
|---|---|---|---|---|---|---|---|
Connector Part Information |
| ||||||
Pin | Wire Color | Circuit No. | Function | ||||
1 | GY/BU | 275 | Park Neutral Position Switch Park Signal | ||||
2 | -- | -- | Not Used | ||||
3 | YE | 1479 | A/T Neutral Signal | ||||
4 | YE/RD | 772 | Transmission Range Switch Signal B | ||||
5 | BU/WH | 771 | Transmission Range Switch Signal A | ||||
6 | GY | 773 | Transmission Range Switch Signal C | ||||
7 | BK/RD | 450 | Ground | ||||
8 | WH | 776 | Transmission Range Switch Signal P | ||||
9 | -- | -- | Not Used | ||||
10 | L-GN | 24 | Backup Lamp Supply Voltage | ||||
11 | BN/BU | 239 | Ignition 1 Voltage | ||||
12 | GY | 434 | Neutral Safety Switch Signal | ||||