GM Service Manual Online
For 1990-2009 cars only
Table 1: A/C Refrigerant Pressure Sensor
Table 2: Accelerator Pedal Position Sensor
Table 3: Camshaft Position (CMP) Sensor
Table 4: Clutch Pedal Position (CPP) Switch C1
Table 5: Clutch Pedal Position (CPP) Switch C2
Table 6: Crankshaft Position (CKP) Sensor
Table 7: Data Link Connector (DLC)
Table 8: Engine Coolant Temperature (ECT) Sensor
Table 9: Engine Oil Pressure (EOP) Switch
Table 10: Evaporative Emission (EVAP) Canister Purge Solenoid
Table 11: Evaporative Emission (EVAP) Canister Vent Solenoid
Table 12: Fuel Injector 1
Table 13: Fuel Injector 2
Table 14: Fuel Injector 3
Table 15: Fuel Injector 4
Table 16: Fuel Injector 5
Table 17: Fuel Injector 6
Table 18: Fuel Injector 7
Table 19: Fuel Injector 8
Table 20: Fuel Pump and Sender Assembly
Table 21: Fuel Tank Pressure (FTP) Sensor
Table 22: Heated Oxygen Sensor (HO2S) Bank 1 Sensor 1
Table 23: Heated Oxygen Sensor (HO2S) Bank 1 Sensor 2
Table 24: Heated Oxygen Sensor (HO2S) Bank 2 Sensor 1
Table 25: Heated Oxygen Sensor (HO2S) Bank 2 Sensor 2
Table 26: Ignition Coil Cylinder 1
Table 27: Ignition Coil Cylinder 2
Table 28: Ignition Coil Cylinder 3
Table 29: Ignition Coil Cylinder 4
Table 30: Ignition Coil Cylinder 5
Table 31: Ignition Coil Cylinder 6
Table 32: Ignition Coil Cylinder 7
Table 33: Ignition Coil Cylinder 8
Table 34: Knock Sensor 1
Table 35: Knock Sensor 2
Table 36: Manifold Absolute Pressure (MAP) Sensor
Table 37: Mass Air Flow (MAF) Sensor
Table 38: Park/Neutral Position Switch
Table 39: Powertrain Interface Module (PIM)
Table 40: Reverse Lockout Solenoid
Table 41: Skip Shift Coil Assembly
Table 42: Throttle Actuator Control
Table 43: Vehicle Speed Sensor

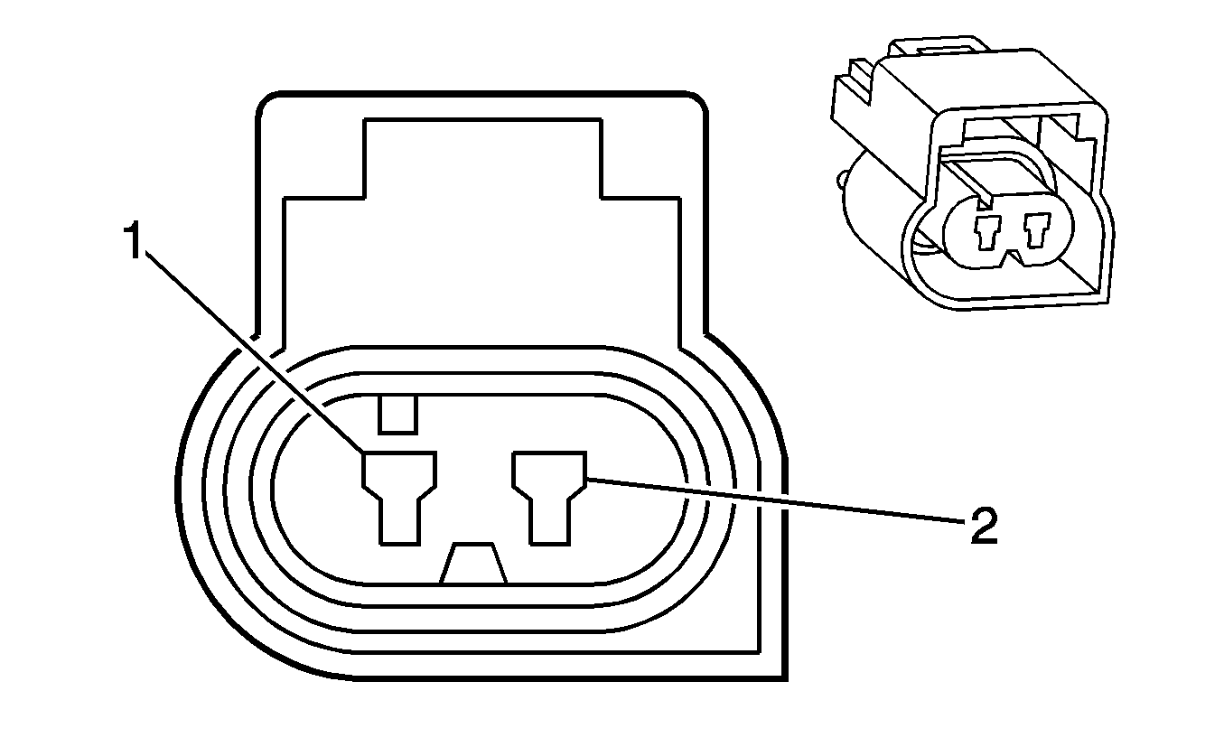
A/C Refrigerant Pressure Sensor


Object Number: 258299  Size: CH

Connector Part Information

    • 7223-9730-30
    • 3-Way F (GY)

Pin

Wire Color

Circuit No.

Function

A

TN

5514

Low Reference

B

GN

2700

5-Volt Reference

C

GN/BK

380

A/C Refrigerant Pressure Sensor Signal

Accelerator Pedal Position Sensor


Object Number: 1549179  Size: CH

Connector Part Information

    • 7223-9730-30
    • 10-Way F (GY)

Pin

Wire Color

Circuit No.

Function

1

BN

1271

Reference Low Signal

2

WH/BK

1164

5-Volt Reference Signal

3

L-BU

1162

Throttle Pedal Position Signal

4

--

--

Not Used

5

BU

1161

Throttle Pedal Position Signal

6

TN

1274

5-Volt Reference Signal

7

PU

1272

Reference Low Signal

8-10

--

--

Not Used

Camshaft Position (CMP) Sensor


Object Number: 516611  Size: CH

Connector Part Information

    • 7223-9735-30
    • 3-Way F (BK)

Pin

Wire Color

Circuit No.

Function

A

BN

633

CMP Sensor Signal

B

RD/WH

632

Low Reference

C

WH/BK

631

12-Volt Reference

Clutch Pedal Position (CPP) Switch C1


Object Number: 1549388  Size: CH

Connector Part Information

    • S42
    • 2-Way F (WH)

Pin

Wire Color

Circuit No.

Function

1

GN/BU

275

Ignition Voltage

2

GY

434

Park Neutral Position Switch Park Signal

Clutch Pedal Position (CPP) Switch C2


Object Number: 1549388  Size: CH

Connector Part Information

    • S42
    • 2-Way F (WH)

Pin

Wire Color

Circuit No.

Function

1

PK

139

Ignition Voltage

2

PU/WH

379

Cruise Cancel Signal

Crankshaft Position (CKP) Sensor


Object Number: 516611  Size: CH

Connector Part Information

    • 7223-9735-30
    • 3-Way F (BK)

Pin

Wire Color

Circuit No.

Function

A

L-BU

573

CKP Sensor Signal

B

L-BU/BK

574

Low Reference

C

L-BU/WH

2867

12-Volt Reference

Data Link Connector (DLC)


Object Number: 1356339  Size: CH

Connector Part Information

    • 7123-9265-30
    • 16-Way F (BK)

Pin

Wire Color

Circuit No.

Function

1

--

--

Not Used

2

YE

1045

RFA Class 2 Serial Data

3

--

--

Not Used

4

BK

150

Ground

5

BK/YE

251

Ground

6-8

--

--

Not Used

9

RD/BK

800

UART Serial Data (Primary)

10-11

--

--

Not Used

12

BU/BK

799

ABS Serial Data

13-15

--

--

Not Used

16

OG/BK

740

Battery Positive Voltage

Engine Coolant Temperature (ECT) Sensor


Object Number: 655692  Size: CH

Connector Part Information

    • 7223-9569-30
    • 2-Way F (BK)

Pin

Wire Color

Circuit No.

Function

A

GY/BK

2761

Low Reference

B

YE

410

ECT Sensor Signal

Engine Oil Pressure (EOP) Switch


Object Number: 258299  Size: CH

Connector Part Information

    • 7223-9730-30
    • 3-Way F (BK)

Pin

Wire Color

Circuit No.

Function

A

GN

470

Low Reference

B

BU/YE

596

5-Volt Reference

C

BU/WH

331

Engine Oil Pressure Signal

Evaporative Emission (EVAP) Canister Purge Solenoid


Object Number: 1356356  Size: CH

Connector Part Information

    • 9223-4037-30
    • 2-Way F (BK)

Pin

Wire Color

Circuit No.

Function

A

PK

439

Ignition 1 Voltage

B

GN/YE

428

EVAP Canister Purge Solenoid Control

Evaporative Emission (EVAP) Canister Vent Solenoid


Object Number: 1356356  Size: CH

Connector Part Information

    • 7223-9922-50
    • 2-Way F (RD)

Pin

Wire Color

Circuit No.

Function

A

PK

439

Ignition 1 Voltage

B

WH

1310

EVAP Canister Vent Solenoid Control

Fuel Injector 1


Object Number: 1283854  Size: CH

Connector Part Information

    • 7219-5226-30
    • 2-Way F (BK)

Pin

Wire Color

Circuit No.

Function

1

L-GN

1039

Ignition 1 Voltage

2

BU

1744

Fuel Injector #1 Control

Fuel Injector 2


Object Number: 1283854  Size: CH

Connector Part Information

    • 7219-5226-30
    • 2-Way F (BK)

Pin

Wire Color

Circuit No.

Function

1

RD

639

Ignition 1 Voltage

2

GN

1745

Fuel Injector #2 Control

Fuel Injector 3


Object Number: 1283854  Size: CH

Connector Part Information

    • 7219-5226-30
    • 2-Way F (BK)

Pin

Wire Color

Circuit No.

Function

1

L-GN

1039

Ignition 1 Voltage

2

PU

1746

Fuel Injector #3 Control

Fuel Injector 4


Object Number: 1283854  Size: CH

Connector Part Information

    • 7219-5226-30
    • 2-Way F (BK)

Pin

Wire Color

Circuit No.

Function

1

RD

639

Ignition 1 Voltage

2

BN/YE

844

Fuel Injector #4 Control

Fuel Injector 5


Object Number: 1283854  Size: CH

Connector Part Information

    • 7219-5226-30
    • 2-Way F (BK)

Pin

Wire Color

Circuit No.

Function

1

L-GN

1039

Ignition 1 Voltage

2

GY

845

Fuel Injector #5 Control

Fuel Injector 6


Object Number: 1283854  Size: CH

Connector Part Information

    • 7219-5226-30
    • 2-Way F (BK)

Pin

Wire Color

Circuit No.

Function

1

RD

639

Ignition 1 Voltage

2

YE

846

Fuel Injector #6 Control

Fuel Injector 7


Object Number: 1283854  Size: CH

Connector Part Information

    • 7219-5226-30
    • 2-Way F (BK)

Pin

Wire Color

Circuit No.

Function

1

L-GN

1039

Ignition 1 Voltage

2

PK/BK

877

Fuel Injector #7 Control

Fuel Injector 8


Object Number: 1283854  Size: CH

Connector Part Information

    • 7219-5226-30
    • 2-Way F (BK)

Pin

Wire Color

Circuit No.

Function

1

RD

639

Ignition 1 Voltage

2

L-GN

878

Fuel Injector #8 Control

Fuel Pump and Sender Assembly


Object Number: 1356175  Size: CH

Connector Part Information

    • 7283-7053-10
    • 5-Way F (BK)

Pin

Wire Color

Circuit No.

Function

1

--

--

Not Used

2

PU

30

Fuel Level Sensor Signal

3

BK

2759

Low Reference

4

PU

120

Fuel Pump Supply Voltage

5

BK/BU

650

Ground

Fuel Tank Pressure (FTP) Sensor


Object Number: 516611  Size: CH

Connector Part Information

    • B54
    • 3-Way F (BK)

Pin

Wire Color

Circuit No.

Function

A

BK

2759

Low Reference

B

D-GN

890

Fuel Tank Pressure Sensor Signal

C

GY

2709

5-Volt Reference Voltage

Heated Oxygen Sensor (HO2S) Bank 1 Sensor 1


Object Number: 474210  Size: CH

Connector Part Information

    • 9723-6897-40
    • 4-Way F (GY)

Pin

Wire Color

Circuit No.

Function

A

BU/BK

1664

HO2S Low Signal Bank 1 Sensor 1

B

PU

1665

HO2S High Signal Bank 1 Sensor 1

C

BK/WH

1050

HO2S Bank 1 Sensor 1 Heater Low Control

D

PK

439

Ignition 1 Voltage

Heated Oxygen Sensor (HO2S) Bank 1 Sensor 2


Object Number: 1356101  Size: CH

Connector Part Information

    • 9223-9845-30
    • 4-Way F (BK)

Pin

Wire Color

Circuit No.

Function

A

BN/RD

1669

HO2S Low Signal Bank 1 Sensor 2

B

PU/WH

1668

HO2S High Signal Bank 1 Sensor 2

C

L-BU

1150

HO2S Bank 1 Sensor 2 Heater Low Control

D

PK

439

Ignition 1 Voltage

Heated Oxygen Sensor (HO2S) Bank 2 Sensor 1


Object Number: 474210  Size: CH

Connector Part Information

    • 9123-6897-40
    • 4-Way F (GY)

Pin

Wire Color

Circuit No.

Function

A

GY/BK

1667

HO2S Low Signal Bank 2 Sensor 1

B

GY

1666

HO2S High Signal Bank 2 Sensor 1

C

L-GN/RD

1250

HO2S Bank 2 Sensor 1 Heater Low Control

D

PK

439

Ignition 1 Voltage

Heated Oxygen Sensor (HO2S) Bank 2 Sensor 2


Object Number: 1356101  Size: CH

Connector Part Information

    • 7223-9845-30
    • 4-Way F (BK)

Pin

Wire Color

Circuit No.

Function

A

TN

1671

HO2S Low Signal Bank 2 Sensor 2

B

PU/BK

1670

HO2S High Signal Bank 2 Sensor 2

C

RD/WH

1350

HO2S Bank 2 Sensor 2 Heater Low Control

D

PK

439

Ignition 1 Voltage

Ignition Coil Cylinder 1


Object Number: 1401799  Size: CH

Connector Part Information

    • 9223-6673-30
    • 4-Way F (BK)

Pin

Wire Color

Circuit No.

Function

A

BK

450

Ground

B

BN

2129

Low Reference

C

PU

2121

IC 1 Control

D

PK

1039

Ignition 1 Voltage

Ignition Coil Cylinder 2


Object Number: 1401799  Size: CH

Connector Part Information

    • 9223-6673-30
    • 4-Way F (BK)

Pin

Wire Color

Circuit No.

Function

A

BK

450

Ground

B

BN

2122

IC 2 Control

C

RD

2130

Low Reference

D

PK

639

Ignition 1 Voltage

Ignition Coil Cylinder 3


Object Number: 1401799  Size: CH

Connector Part Information

    • 9223-6673-30
    • 4-Way F (BK)

Pin

Wire Color

Circuit No.

Function

A

BK

450

Ground

B

BN

2129

Low Reference

C

L-BU

2123

IC 3 Control

D

PK

1039

Ignition 1 Voltage

Ignition Coil Cylinder 4


Object Number: 1401799  Size: CH

Connector Part Information

    • 9223-6673-30
    • 4-Way F (BK)

Pin

Wire Color

Circuit No.

Function

A

BK

450

Ground

B

BN

2130

Low Reference

C

L-GN

2124

IC 4 Control

D

PK

639

Ignition 1 Voltage

Ignition Coil Cylinder 5


Object Number: 1401799  Size: CH

Connector Part Information

    • 9223-6673-30
    • 4-Way F (BK)

Pin

Wire Color

Circuit No.

Function

A

BK

450

Ground

B

BN

2129

Low Reference

C

GN

2125

IC 5 Control

D

PK

1039

Ignition 1 Voltage

Ignition Coil Cylinder 6


Object Number: 1401799  Size: CH

Connector Part Information

    • 9223-6673-30
    • 4-Way F (BK)

Pin

Wire Color

Circuit No.

Function

A

BK

450

Ground

B

BN

2130

Low Reference

C

L-BU

2126

IC 6 Control

D

PK

639

Ignition 1 Voltage

Ignition Coil Cylinder 7


Object Number: 1401799  Size: CH

Connector Part Information

    • 9223-6673-30
    • 4-Way F (BK)

Pin

Wire Color

Circuit No.

Function

A

BK

450

Ground

B

BN

2127

IC 7 Control

C

RD

2129

Low Reference

D

PK

1039

Ignition 1 Voltage

Ignition Coil Cylinder 8


Object Number: 1401799  Size: CH

Connector Part Information

    • 9223-6673-30
    • 4-Way F (BK)

Pin

Wire Color

Circuit No.

Function

A

BK

450

Ground

B

BN

2130

Low Reference

C

PU

2128

IC 8 Control

D

PK

639

Ignition 1 Voltage

Knock Sensor 1


Object Number: 1549355  Size: CH

Connector Part Information

    • 7223-9415-40
    • 2-Way F (WH)

Pin

Wire Color

Circuit No.

Function

1

BU

496

Knock Sensor 1 Signal

2

GY

2303

Knock Sensor 1 Return

Knock Sensor 2


Object Number: 1549355  Size: CH

Connector Part Information

    • 7223-9415-40
    • 2-Way F (WH)

Pin

Wire Color

Circuit No.

Function

1

L-BU

1876

Knock Sensor 2 Signal

2

GY

1716

Knock Sensor 2 Return

Manifold Absolute Pressure (MAP) Sensor


Object Number: 684840  Size: CH

Connector Part Information

    • 9223-9946-40
    • 3-Way F (GY)

Pin

Wire Color

Circuit No.

Function

A

BK

469

Low Reference

B

L-GN

432

MAP Sensor Signal

C

PU/WH

2704

5-Volt Reference

Mass Air Flow (MAF) Sensor


Object Number: 1549489  Size: CH

Connector Part Information

    • 7223-9735-30
    • 5-Way F (BK)

Pin

Wire Color

Circuit No.

Function

A

BK

2759

Low Reference

B

BK

472

IAT Sensor Signal

C

BK/RD

450

Sensor Ground

D

PK

439

Sensor Voltage Supply

E

BN/WH

492

MAF Sensor Signal

Park/Neutral Position Switch


Object Number: 1356193  Size: CH

Connector Part Information

    • 9223-6722-30
    • 12-Way F (BK)

Pin

Wire Color

Circuit No.

Function

1

GY/BU

275

Park Neutral Position Switch Park Signal

2

--

--

Not Used

3

YE

1479

A/T Neutral Signal

4

YE/RD

772

Transmission Range Switch Signal B

5

BU/WH

771

Transmission Range Switch Signal A

6

GY

773

Transmission Range Switch Signal C

7

BK/RD

450

Ground

8

WH

776

Transmission Range Switch Signal P

9

--

--

Not Used

10

L-GN

24

Backup Lamp Supply Voltage

11

BN/BU

239

Ignition 1 Voltage

12

GY

434

Neutral Safety Switch Signal

Powertrain Interface Module (PIM)


Object Number: 1549189  Size: CH

Connector Part Information

    • 7283-7367-30
    • 20-Way F (BK)

Pin

Wire Color

Circuit No.

Function

1

--

--

Not Used

2

RD/BK

800

UART Serial Data (Primary)

3

YE

1045

RFA Class 2 Serial Data

4

GY/BU

275

Park Neutral Position Switch Park Signal

5

--

--

Not Used

6

OG

300

Ignition 3 Voltage

7

BK/RD

450

Ground

8

GY/BK

87

Cruise Control Resume/Accel Switch Signal

9

BU

84

Cruise Control Set/Coast Switch Signal

10

RD/BK

800

Serial Data Signal

11-12

--

--

Not Used

13

OG

740

Battery Positive Voltage

14

OG

300

Ignition 3 Voltage

15

BK/GN

151

Ground

16

--

--

Not Used

17

TN/BK

2500

Serial Data - Can Protocol - High

18

TN/BK

2500

Serial Data - Can Protocol - High

19

TN

2501

Serial Data - Can Protocol - Low

20

TN

2501

Serial Data - Can Protocol - Low

Reverse Lockout Solenoid


Object Number: 1356361  Size: CH

Connector Part Information

    • 9129-2646
    • 2-Way F (WH)

Pin

Wire Color

Circuit No.

Function

A

YE

1652

Reverse Lockout Solenoid Control

B

PK/BU

339

Ignition 1 Voltage

Skip Shift Coil Assembly


Object Number: 1356361  Size: CH

Connector Part Information

    • 9129-2646
    • 2-Way F (YE)

Pin

Wire Color

Circuit No.

Function

A

GY

587

Skip/Shift Solenoid Control

B

PK/BU

339

Ignition 1 Voltage

Throttle Actuator Control


Object Number: 1549397  Size: CH

Connector Part Information

    • GTO-Y38
    • 6-Way Connector (BK)

Pin

Wire Color

Circuit Number

Function

A

BN

582

Throttle Motor Ground

B

YE

581

Throttle Motor Voltage

C

BN/WH

1704

Low Reference Signal

D

GN

485

Throttle Position Sensor Signal

E

L-BU/BK

1688

5-Volt Reference

F

PU

486

Throttle Position Sensor Signal

Vehicle Speed Sensor


Object Number: 1549349  Size: CH

Connector Part Information

    • 7223-9569-30
    • 2-Way F (BK)

Pin

Wire Color

Circuit No.

Function

A

BU/WH

1230

AT ISS High Signal

B

BN/RD

1231

AT ISS Low Signal