GM Service Manual Online
For 1990-2009 cars only

Preparation Procedure

The trim height specification determines the vehicle ride height. Incorrect trim height can cause bottoming out over bumps. Incorrect trim height can cause damage to the suspension components and symptoms similar to those produced when there is a problem with the wheel alignment. Measure the trim height when diagnosing suspension complaints and before measuring the wheel alignment.

Perform the following steps before measuring the trim height:

  1. Set the tire pressure to the pressure specifications on the tire placard.
  2. Verify the tires match the tire size specifications on the tire placard.
  3. Verify the wheels match the wheel size specifications on the tire placard.
  4. Verify the fuel tank is full. Add additional weight in order to simulate a full tank, if necessary.
  5. Verify the rear compartment is empty except for the spare tire and the weight simulating a full fuel tank.
  6. Verify the vehicle is on a level surface, such as an alignment rack.
  7. Close the hood.
  8. Close the doors.
  9. Close the rear compartment lid.
  10. Verify the vehicle is not damaged from a collision.

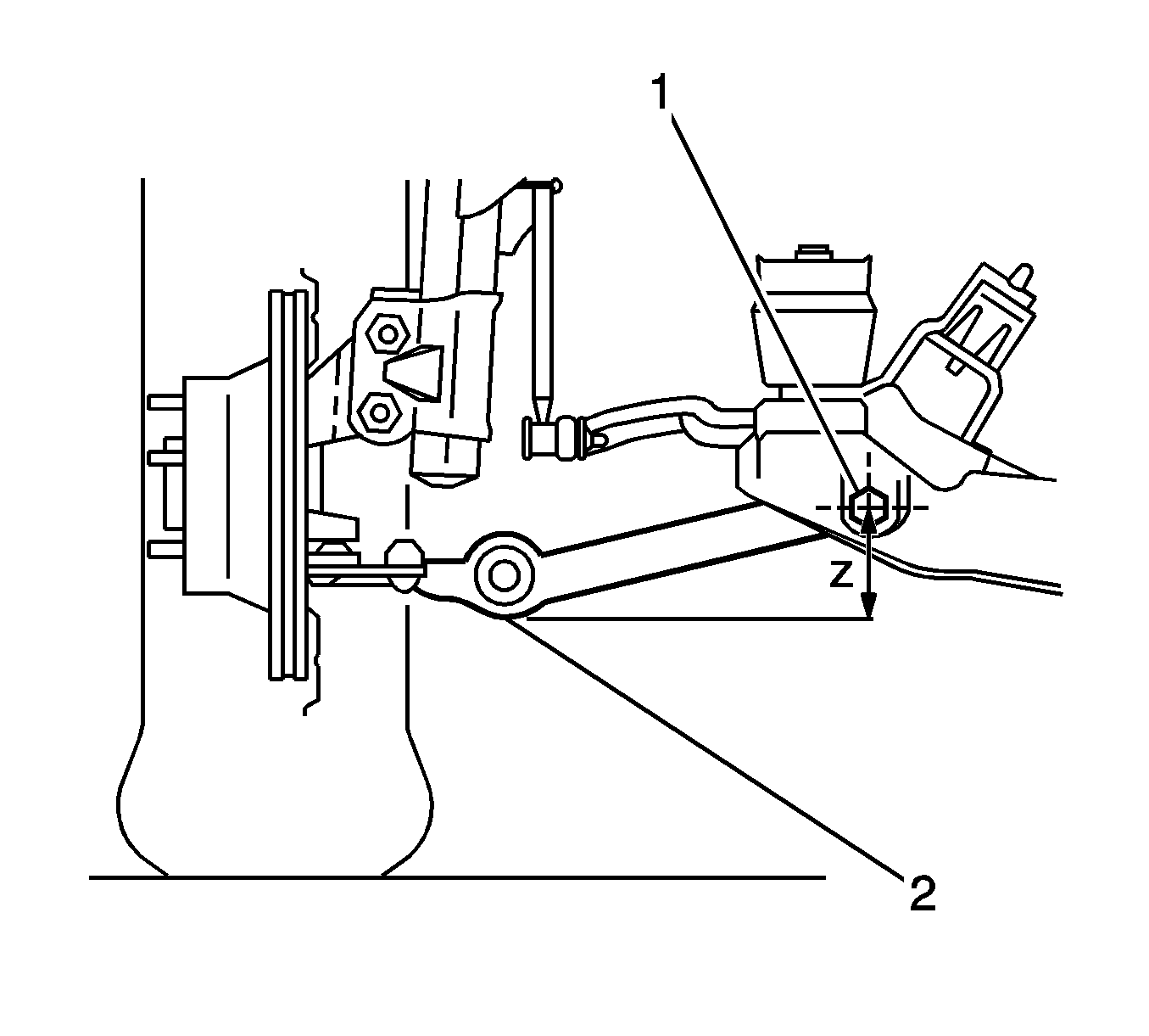
Z Height Dimension Measurement Procedure

The Z height dimension measurement determines the proper ride height for the front of the vehicle.

  1. Use your hands in order to lift the front bumper of the vehicle up approximately 38 mm (1.5 in). Gently remove your hands in order to allow the vehicle to settle.
  2. Use your hands in order to push the front bumper of the vehicle down approximately 38 mm (1.5 in). Gently remove your hands in order to allow the vehicle to settle.

  3. Object Number: 1381722  Size: SH

    Important: Measure all dimensions vertically.

  4. Measure the Z height dimension for the left side and the right side of the vehicle on the front lower control arms.
  5. Measure the vertical distance from the bottom of the control arm (2), below the ball joint, to the center line of the control arm pivot bolt (1).

  6. Compare the measurement to the specification. Refer to Trim Height Specifications .
  7. If the measurement is not within 10 mm (0.4 in) of the specification, replace the front springs. Refer to Strut, Strut Component, and Spring Replacement in Front Suspension.

D Height Dimension Measurement Procedure

The D height dimension measurement determines the proper ride height for the rear of the vehicle.

  1. Use your hands in order to lift the rear bumper of the vehicle up approximately 38 mm (1.5 in). Gently remove your hands in order to allow the vehicle to settle.
  2. Use your hands in order to push the rear bumper of the vehicle down approximately 38 mm (1.5 in). Gently remove your hands in order to allow the vehicle to settle.

  3. Object Number: 1381723  Size: SH

    Important: Measure all dimensions vertically.

  4. Measure the D height dimension for the left side and the right side of the vehicle on the rear suspension adjustment link assemblies.
  5. Measure the vertical distance from the bottom of the outer adjustment link (2) to the center line of the inner adjustment link pivot bolt (1).

  6. Compare the measurement to the specification. Refer to Trim Height Specifications .
  7. If the measurement is not within 10 mm (0.4 in) of the specification, replace the rear springs. Refer to Coil Spring Replacement in Rear Suspension.