GM Service Manual Online
For 1990-2009 cars only

    Object Number: 1238264  Size: SH
  1. The hood hinges are bolted to the fender and to the hood.
  2. Make fore and aft adjustments by elongating the hood-side hinge holes.
  3. Make vertical adjustment at the front by adjusting the hood bumpers up or down.
  4. Specification

        • Gap tolerances are 2-4 mm (0.08-0.15 in).
        • Flush tolerances are 0-1 mm (0-0.03 in).

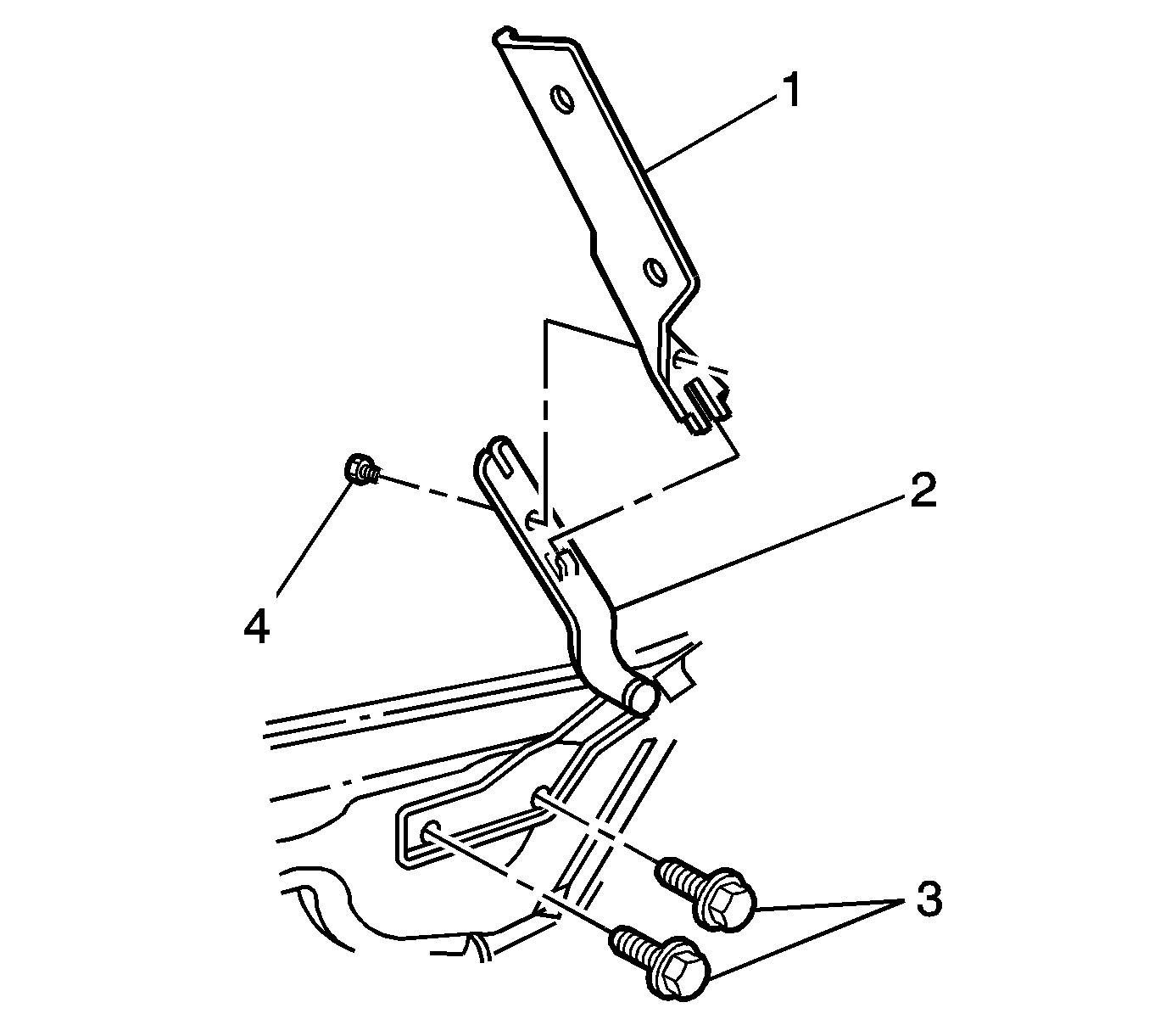
    Object Number: 1233699  Size: SH
  5. Open the hood.
  6. Loosen the hinge to hood bolts. Refer to Hood Replacement .
  7. Loosen the hinge to fender bolts (3), if necessary. Refer to Hood Hinge Replacement .
  8. Adjust the hood to the fender position.
  9. Close the hood.
  10. Check the hood alignment.
  11. Open the hood.
  12. Adjust the hood as needed.
  13. Notice: Use the correct fastener in the correct location. Replacement fasteners must be the correct part number for that application. Fasteners requiring replacement or fasteners requiring the use of thread locking compound or sealant are identified in the service procedure. Do not use paints, lubricants, or corrosion inhibitors on fasteners or fastener joint surfaces unless specified. These coatings affect fastener torque and joint clamping force and may damage the fastener. Use the correct tightening sequence and specifications when installing fasteners in order to avoid damage to parts and systems.

  14. Install the hood-to-hinge bolts with an assistant.
  15. Tighten
    Tighten the upper hood hinge bolts to 18 N·m (13 lb ft).

  16. Install the hinge-to-fender bolts (3) with an assistant, if removed.
  17. Tighten
    Tighten the hinge to fender bolts to 18 N·m (13 lb ft).

  18. Adjust the hood bumpers.
  19. Close the hood.