GM Service Manual Online
For 1990-2009 cars only

Removal Procedure

    Caution: Refer to Approved Equipment for Collision Repair Caution in the Preface section.

  1. Disable the SIR system. Refer to SIR Disabling and Enabling in SIR.

  2. Object Number: 1374313  Size: SH
  3. Disconnect the negative battery cable. Refer to Battery Negative Cable Disconnection and Connection in Engine Electrical.
  4. Remove the quarter panel. Refer to Quarter Panel Replacement .
  5. Remove the roof panel. Refer to Roof Outer Replacement .
  6. Remove the center pillar. Refer to Center Pillar Replacement .

  7. Object Number: 1374320  Size: SH
  8. Grind the mig welds (1) attaching the quarter panel wheelhouse assembly to the inner rocker panel.
  9. Remove all related panels and components.
  10. Restore as much of the damage as possible to factory specifications. Refer to Dimensions - Body .
  11. Caution: Refer to Foam Sound Deadeners Caution in the Preface section.

  12. Note the location and remove the sealers and anti-corrosion materials from the repair area, as necessary. Refer to Anti-Corrosion Treatment and Repair in Paint/Coatings.
  13. Important: Do not damage any inner panels or reinforcements.

  14. Locate, mark, and drill out the welds attaching the wheelhouse panel to the rear floor pan assembly.
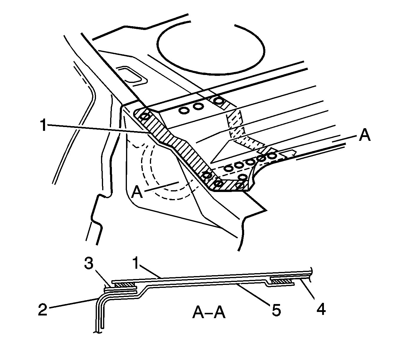
  15. Locate, mark, and drill out the welds attaching the rear window panel assembly to the rear seat back extension assembly.

  16. Object Number: 1374429  Size: SH
  17. The center pillar inner panel assembly is attached to the wheelhouse assembly with plug welds and structural adhesive (1) GM P/N 12378567 (Canadian P/N 88901675 or Lord Fusor 108B).

  18. Object Number: 1374438  Size: SH
  19. Locate, mark, and drill out the welds attaching the rear window panel assembly (1) and (4) to the wheelhouse (3) and the rear seat back extension assembly (5).
  20. Important: Structural adhesive is applied in the areas shown shaded. As this material is extremely strong, the rear seat back extension assembly may require removing with a grinder.

  21. Remove the remaining flange of the rear quarter panel (3), leaving only the rear window panel assembly.
  22. Remove the damaged wheelhouse.
  23. Inspect and rectify the alignment of the body as required. Refer to Dimensions - Body .

Installation Procedure


    Object Number: 314582  Size: SH
  1. On the service part, drill 8-mm (5/16-in) plug weld holes every 40 mm (½ in).
  2. Prepare the mating surfaces.
  3. Apply 3M® Weld-Thru coating P/N 05916, or equivalent, to all of the mating surfaces.

  4. Object Number: 1374429  Size: SH
  5. Apply structural adhesive GM  P/N 12378567 (Canadian P/N 88901675 or Lord Fusor 108B) to the mating surface of the inner center pillar panel assembly (1).

  6. Object Number: 1374468  Size: SH
  7. Apply structural adhesive GM  P/N 12378567 (Canadian P/N 88901675 or Lord Fusor 108B) to the mating surface of the inner joint (1) of the rear seatback extension.
  8. Position the service part.
  9. Inspect for proper fit and plug weld accordingly (2). Take care not to warp or distort the metal.

  10. Object Number: 1374320  Size: SH
  11. Mig weld (1) the wheelhouse assembly to the inner rocker panel.
  12. Clean up the welds as necessary.
  13. Apply the sealers and the anti-corrosion materials to the repair area, as necessary. Refer to Anti-Corrosion Treatment and Repair in Paint/Coatings.
  14. Install the center pillar. Refer to Center Pillar Replacement .
  15. Remove the roof panel. Refer to Roof Outer Replacement .

  16. Object Number: 1374473  Size: SH
  17. Apply structural adhesive GM  P/N 12378567 (Canadian P/N 88901675 or Lord Fusor 108B) to the mating surface of the quarter panel flange.
  18. Install the quarter panel. Refer to Quarter Panel Replacement .
  19. Apply the sealers and the anti-corrosion materials to the repair area, as necessary. Refer to Anti-Corrosion Treatment and Repair in Paint/Coatings.
  20. Paint the repair area. Refer to Basecoat/Clearcoat Paint Systems in Paint/Coatings.
  21. Install all related panels and components.
  22. Connect the negative battery cable. Refer to Battery Negative Cable Disconnection and Connection in Engine Electrical.
  23. Enable the SIR system. Refer to SIR Disabling and Enabling in SIR.