GM Service Manual Online
For 1990-2009 cars only

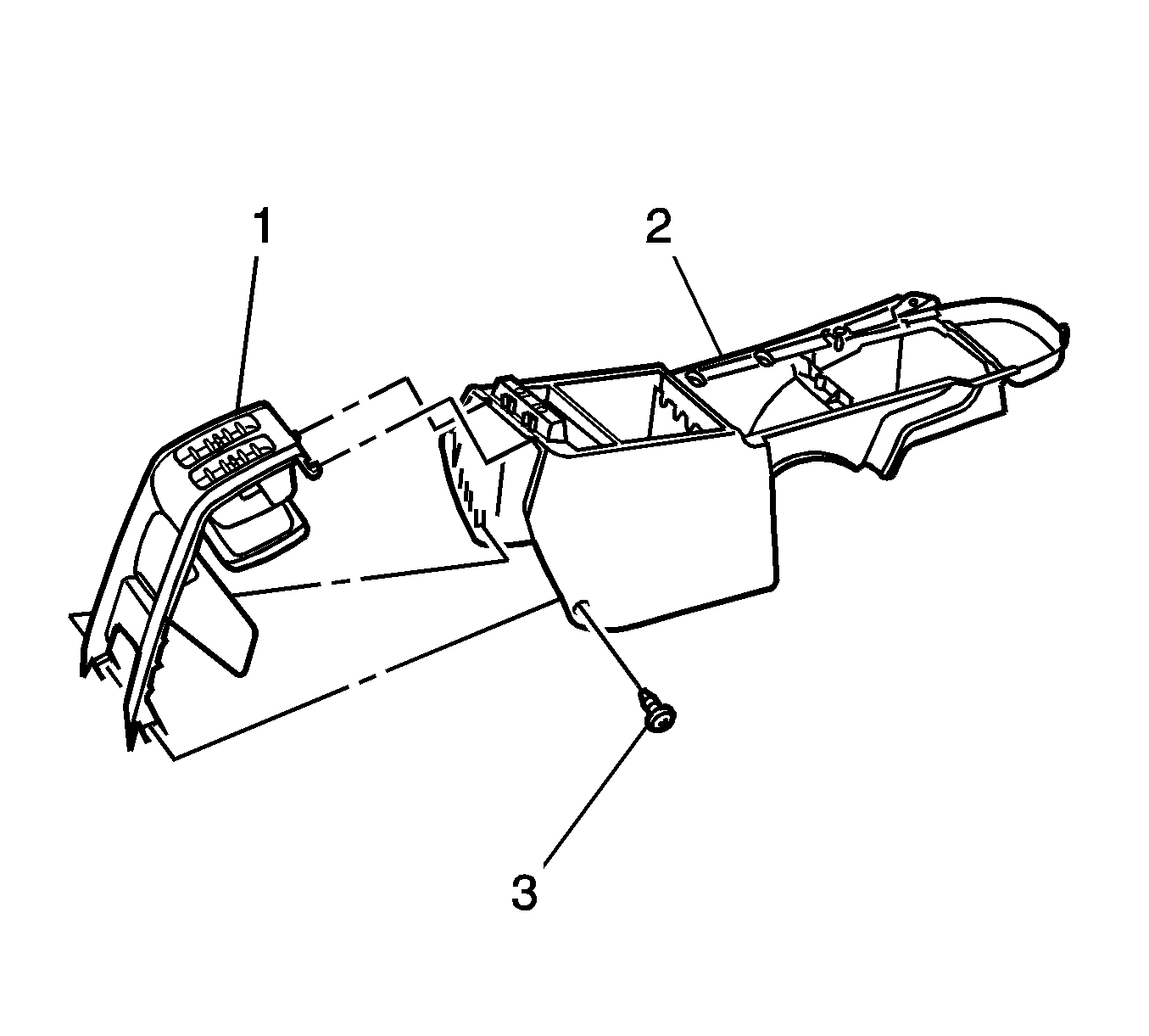
Removal Procedure


    Object Number: 1356526  Size: SH
  1. Remove the screws (3) from each side of the floor console (2) attaching the center console end panel (1) to the floor console (2).
  2. Remove the center console end panel (1) by swinging the lower edge rearward and detaching the upper tabs.
  3. Remove the console end panel storage compartment, if necessary. Refer to Console End Panel Storage Compartment Replacement .

Installation Procedure

  1. Install the console end panel storage compartment, if removed. Refer to Console End Panel Storage Compartment Replacement .

  2. Object Number: 1356526  Size: SH
  3. Install the center console end panel (1) to the floor console (2) making sure the upper tabs are engaged.
  4. Notice: Refer to Fastener Notice in the Preface section.

  5. Install the screws (3) on each side of the floor console (2) attaching the center console end panel (1).
  6. Tighten
    Tighten the screws (3) to 2 N·m (18 lb in).