| Table 1: | Electronic Brake Control Module (EBCM) |
| Table 2: | Stop Lamp Switch C1 |
| Table 3: | Stop Lamp Switch C2 |
| Table 4: | Stop Lamp Switch C3 |
| Table 5: | Traction Control Switch |
| Table 6: | Wheel Speed Sensor (WSS) - LF |
| Table 7: | Wheel Speed Sensor (WSS) - LR |
| Table 8: | Wheel Speed Sensor (WSS) - RF |
| Table 9: | Wheel Speed Sensor (WSS) - RR |
| |||||||
|---|---|---|---|---|---|---|---|
Connector Part Information |
| ||||||
Pin | Wire Color | Circuit No. | Function | ||||
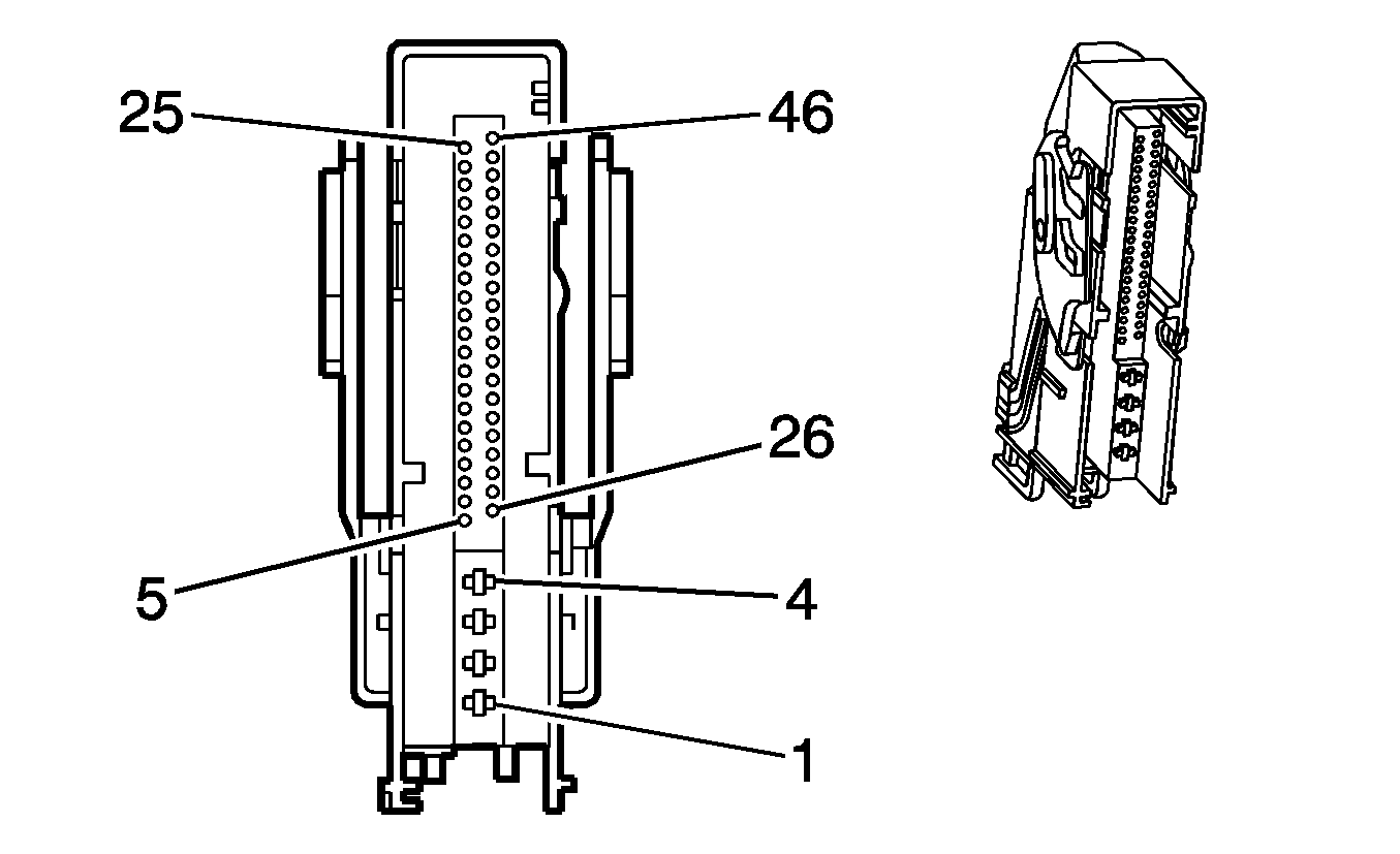
1 | BK/OG | 350 | Ground | ||||
2 | RD | 542 | Battery Positive Voltage | ||||
3 | RD/YE | 1440 | Battery Positive Voltage | ||||
4 | BK | 150 | Ground | ||||
5 | BN | 830 | LF Wheel Speed Signal High | ||||
6 | -- | -- | Not Used | ||||
7 | PU | 884 | LR Wheel Speed Signal High | ||||
8 | BU | 883 | RR Wheel Speed Signal Low | ||||
9 | RD | 873 | RF Wheel Speed Signal Low | ||||
10 | WH | 872 | RF Wheel Speed Signal High | ||||
11 | BU/BK | 799 | ABS Serial Data | ||||
12-13 | -- | -- | Not Used | ||||
14 | TN | 2501 | LAN Signal | ||||
15-24 | -- | -- | Not Used | ||||
25 | TN | 2501 | LAN Signal | ||||
26 | GY | 873 | LF Wheel Speed Signal Low | ||||
27 | YE | 885 | LR Wheel Speed Signal Low | ||||
28 | RD | 839 | Ignition Voltage | ||||
29 | BK | 882 | RR Wheel Speed Signal High | ||||
30 | BU/RD | 20 | Stop Lamp Switch Signal | ||||
31-24 | -- | -- | Not Used | ||||
35 | TN/BK | 2500 | LAN Signal | ||||
36-44 | -- | -- | Not Used | ||||
45 | TN/BK | 2500 | LAN Signal | ||||
46 | -- | -- | Not Used | ||||
| |||||||
|---|---|---|---|---|---|---|---|
Connector Part Information |
| ||||||
Pin | Wire Color | Circuit No. | Function | ||||
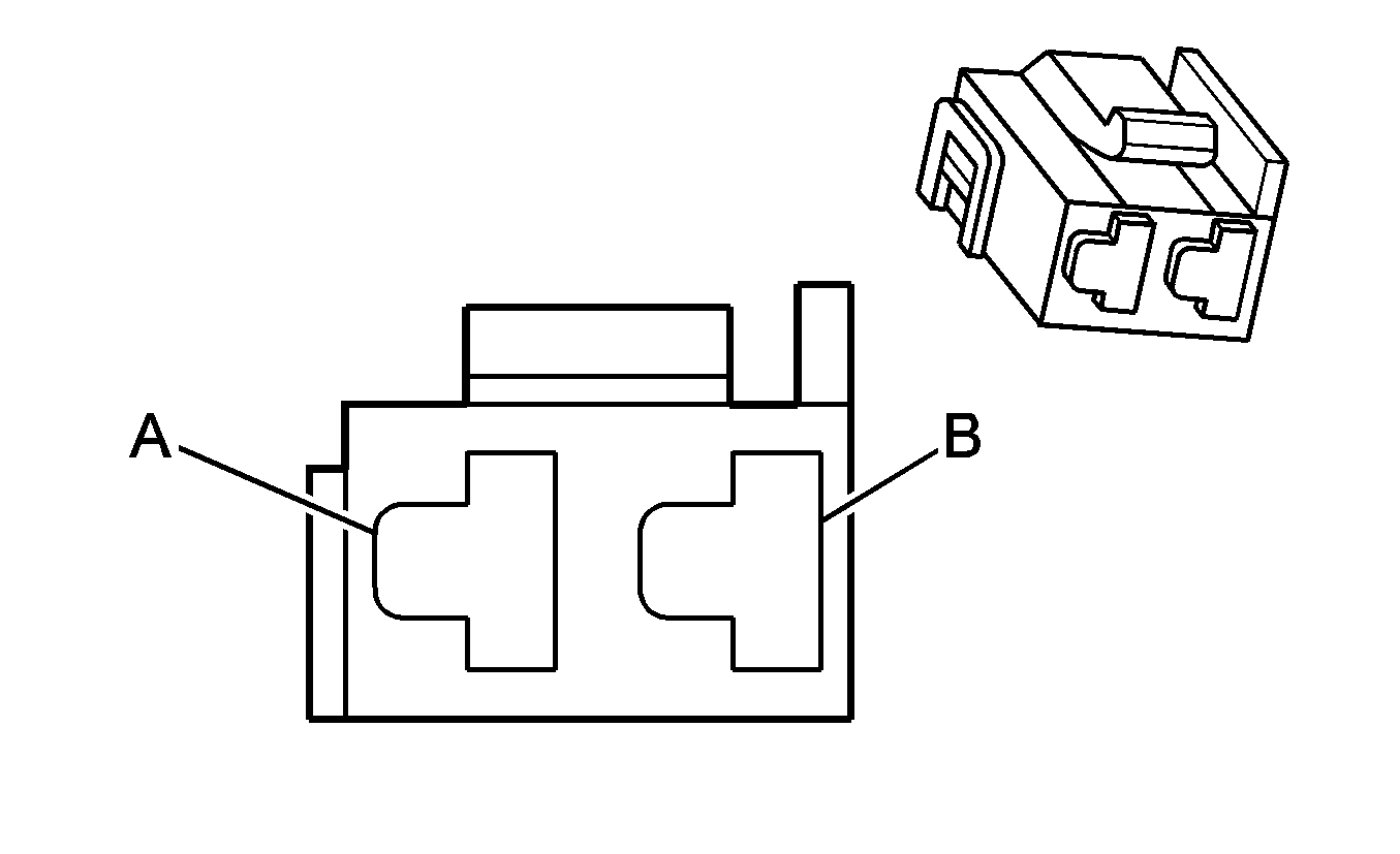
A | OG/BU | 640 | Battery Positive Voltage | ||||
B | BU/RD | 20 | Stop Lamp switch Signal | ||||
| |||||||
|---|---|---|---|---|---|---|---|
Connector Part Information |
| ||||||
Pin | Wire Color | Circuit No. | Function | ||||
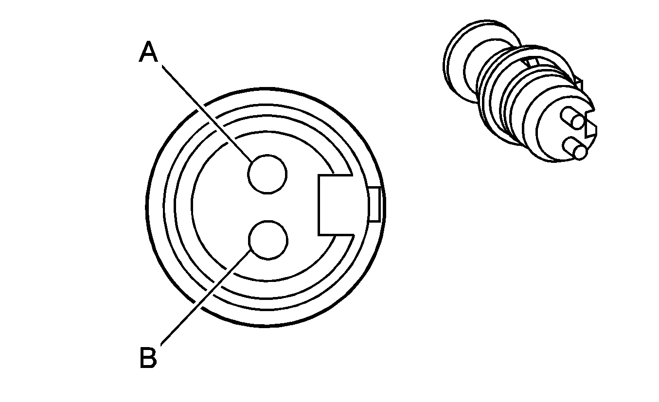
A | TN/WH | 816 | Traction Control Active Signal | ||||
B | PK | 139 | Ignition Voltage | ||||
C-D | -- | -- | Not Used | ||||
| |||||||
|---|---|---|---|---|---|---|---|
Connector Part Information |
| ||||||
Pin | Wire Color | Circuit No. | Function | ||||
A | PK | 139 | Ignition Voltage | ||||
B | BN | 86 | Cruise Control release Signal | ||||
C | GY | 847 | Extended Travel Brake Switch Signal | ||||
D | PK | 439 | Ignition Voltage | ||||
| |||||||
|---|---|---|---|---|---|---|---|
Connector Part Information |
| ||||||
Pin | Wire Color | Circuit No. | Function | ||||
1 | -- | -- | Not Used | ||||
2 | BN/WH | 32 | Instrument Panel Lamp Fuse Supply Voltage | ||||
3 | BK/GN | 151 | Ground | ||||
4 | -- | -- | Not Used | ||||
5 | RD/WH | 1571 | Traction Control Switch Signal | ||||
6 | GY | 230 | Instrument Panel Lamps Dimming Control | ||||
| |||||||
|---|---|---|---|---|---|---|---|
Connector Part Information |
| ||||||
Pin | Wire Color | Circuit No. | Function | ||||
A | BN | 830 | Left Front Wheel Speed Sensor Signal | ||||
B | GY | 873 | Left Front Wheel Speed Sensor Low Reference | ||||
| |||||||
|---|---|---|---|---|---|---|---|
Connector Part Information |
| ||||||
Pin | Wire Color | Circuit No. | Function | ||||
A | PU | 884 | Left Rear Wheel Speed Sensor Signal | ||||
B | YE | 885 | Left Rear Wheel Speed Sensor Low Reference | ||||
| |||||||
|---|---|---|---|---|---|---|---|
Connector Part Information |
| ||||||
Pin | Wire Color | Circuit No. | Function | ||||
A | WH | 872 | Right Front Wheel Speed Sensor Signal | ||||
B | RD | 833 | Right Front Wheel Speed Sensor Low Reference | ||||
| |||||||
|---|---|---|---|---|---|---|---|
Connector Part Information |
| ||||||
Pin | Wire Color | Circuit No. | Function | ||||
A | BK | 882 | Right Rear Wheel Speed Sensor Signal | ||||
B | BU | 883 | Right Rear Wheel Speed Sensor Low Reference | ||||