GM Service Manual Online
For 1990-2009 cars only
Table 1: Horn 1
Table 2: Horn 2
Table 3: Horn Switch
Table 4: Inflatable Restraint Steering Wheel Module Coil

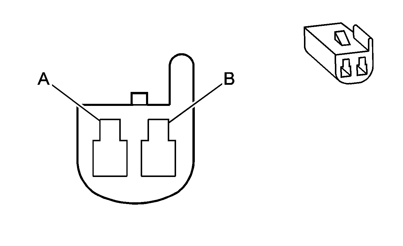
Horn 1


Object Number: 1356102  Size: CH

Connector Part Information

    • 7283-5146-30
    • 2-Way Female (BK)

Pin

Wire Color

Circuit No.

Function

A

GN

29

Horn Control

B

BK/WH

550

Ground

Horn 2


Object Number: 1356102  Size: CH

Connector Part Information

    • 7283-5146-30
    • 2-Way Female (BK)

Pin

Wire Color

Circuit No.

Function

A

GN

29

Horn Control

B

BK/WH

550

Ground

Horn Switch


Object Number: 1356109  Size: CH

Connector Part Information

    • S7
    • 2-Way Female (BK)

Pin

Wire Color

Circuit No.

Function

A

BK/YE

28

Horn Relay Control

B

BK/GN

151

Ground

Inflatable Restraint Steering Wheel Module Coil


Object Number: 1356250  Size: CH

Connector Part Information

    • 9123-5561-30
    • 8-Way Female (BK)

Pin

Wire Color

Circuit No.

Function

1-2

--

--

Not Used

3

BN

1796

Steering Wheel Controls Signal

4

BK/YE

1750

Ground

5

BK/GN

151

Ground

6

BK/YE

28

Horn Relay Control

7

GN

3020

Steering Wheel Module - Stage 1 - Low Control

8

WH

3021

Steering Wheel Module - Stage 1 - High Control