| Table 1: | Auxiliary Gages |
| Table 2: | Engine Oil Pressure (EOP) Sensor |
| Table 3: | Instrument Panel Cluster (IPC) |
| Table 4: | Trip Computer Switch |
| |||||||
|---|---|---|---|---|---|---|---|
Connector Part Information |
| ||||||
Pin | Wire Color | Circuit No. | Function | ||||
1 | -- | -- | Not Used | ||||
2 | -- | -- | Not Used | ||||
| |||||||
|---|---|---|---|---|---|---|---|
Connector Part Information |
| ||||||
Pin | Wire Color | Circuit No. | Function | ||||
A | GN | 470 | Low Reference | ||||
B | BU/YE | 596 | 5-Volt Reference | ||||
C | BN/WH | 331 | Engine Oil Pressure Sensor Signal | ||||
| |||||||
|---|---|---|---|---|---|---|---|
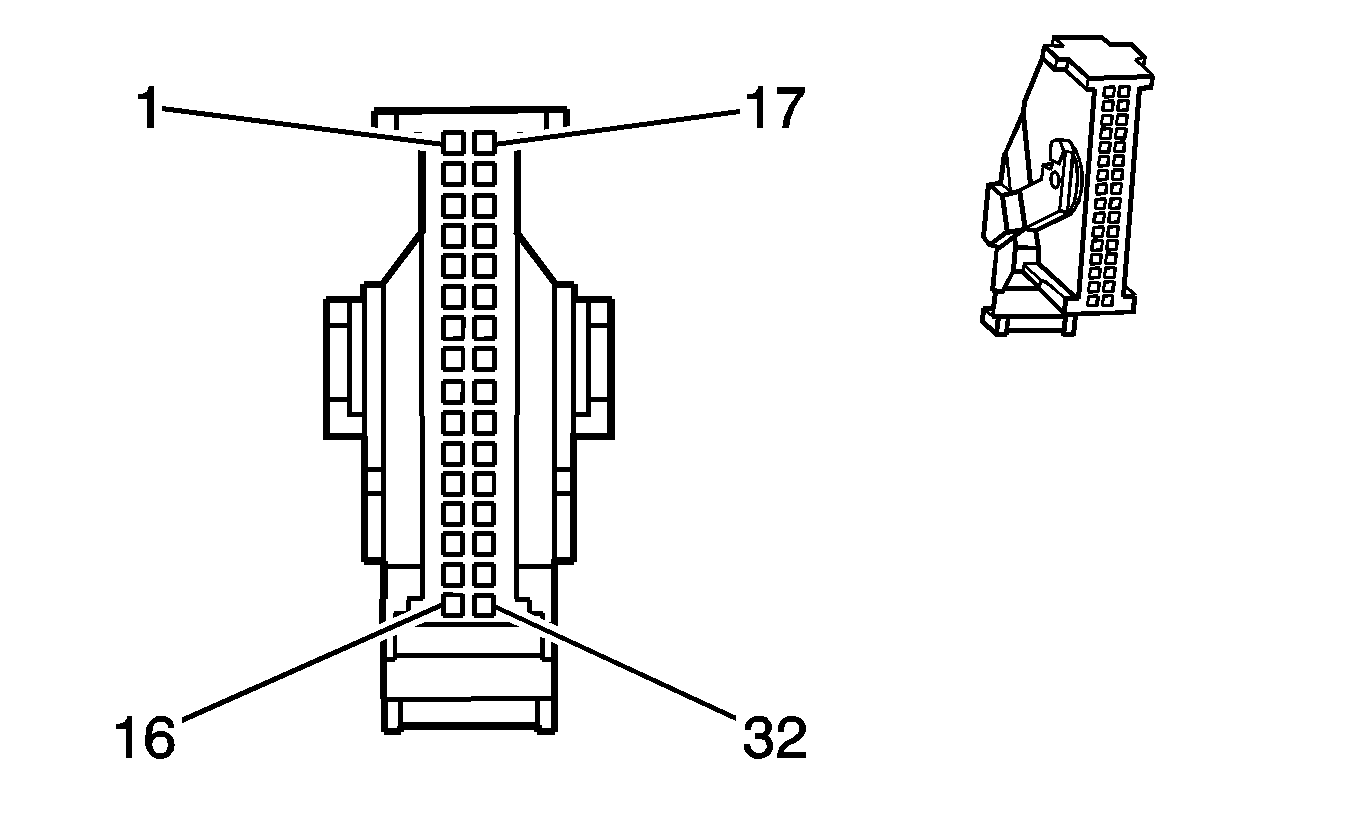
Connector Part Information |
| ||||||
Pin | Wire Color | Circuit No. | Function | ||||
1 | OG/YE | 1340 | Battery Positive Voltage | ||||
2 | BN/WH | 32 | Instrument Panel Lamps Fuse Supply Voltage | ||||
3 | -- | -- | Not Used | ||||
4 | BN/WH | 419 | MIL Control | ||||
5 | L-GN/BK | 592 | DRL Relay Control | ||||
6 | GN/WH | 1061 | UART Serial Data (Secondary) | ||||
7-8 | -- | -- | Not Used | ||||
9 | OG | 192 | Fog Lamps Switch Signal | ||||
10 | -- | -- | Not Used | ||||
11 | BU | 1315 | Right Front Turn Signal Lamp Supply Voltage | ||||
12 | BU/YE | 1969 | Headlamp/High Beam Relay Control | ||||
13 | L-BU | 1314 | Left Front Turn Signal Lamp Supply Voltage | ||||
14 | L-BU | 264 | Security Indicator Lamp Supply Voltage | ||||
15 | OG | 238 | Seat Belt Switch - Left | ||||
16 | -- | -- | Not Used | ||||
17 | BK/YE | 251 | Ground | ||||
18 | BN | 897 | DIC Switch Low Reference | ||||
19 | -- | -- | Not Used | ||||
20 | PK/BU | 539 | Battery Positive Voltage | ||||
21-25 | -- | -- | Not Used | ||||
26 | PU/WH | 5197 | Cruise Control I/P Speed Signal | ||||
27 | BN/RD | 121 | Engine Speed Signal | ||||
28 | BU/BK | 894 | DIC Toggle Switch Signal | ||||
29 | -- | -- | Not Used | ||||
30 | BN/OG | 33 | Brake Warning Indicator Control | ||||
31 | BN/WH | 4 | Accessory Voltage | ||||
32 | GY/WH | 746 | Right Front Door Ajar Switch Signal | ||||
| |||||||
|---|---|---|---|---|---|---|---|
Connector Part Information |
| ||||||
Pin | Wire Color | Circuit No. | Function | ||||
1 | BU/BK | 894 | DIC Toggle Switch Signal | ||||
2 | -- | -- | Not Used | ||||
3 | BN/WH | 32 | Instrument Panel Lamps Fuse Supply Voltage | ||||
4 | -- | -- | Not Used | ||||
5 | BN | 897 | DIC Switch Low Reference | ||||
6 | -- | -- | Not Used | ||||
7 | GY | 230 | Instrument Panel Lamps Dimming Control | ||||
8 | -- | -- | Not Used | ||||