GM Service Manual Online
For 1990-2009 cars only
Figure 1:

Wiper/Washer Switch


Object Number: 1353918  Size: MF
(1)Wiper/Washer Switch
Figure 2:

Wiper Motor


Object Number: 1353921  Size: MF
(1)Windshield Wiper Motor
Figure 3:

Wiper/Washer Reservior


Object Number: 1353923  Size: MF
(1)Washer Fluid Reservior
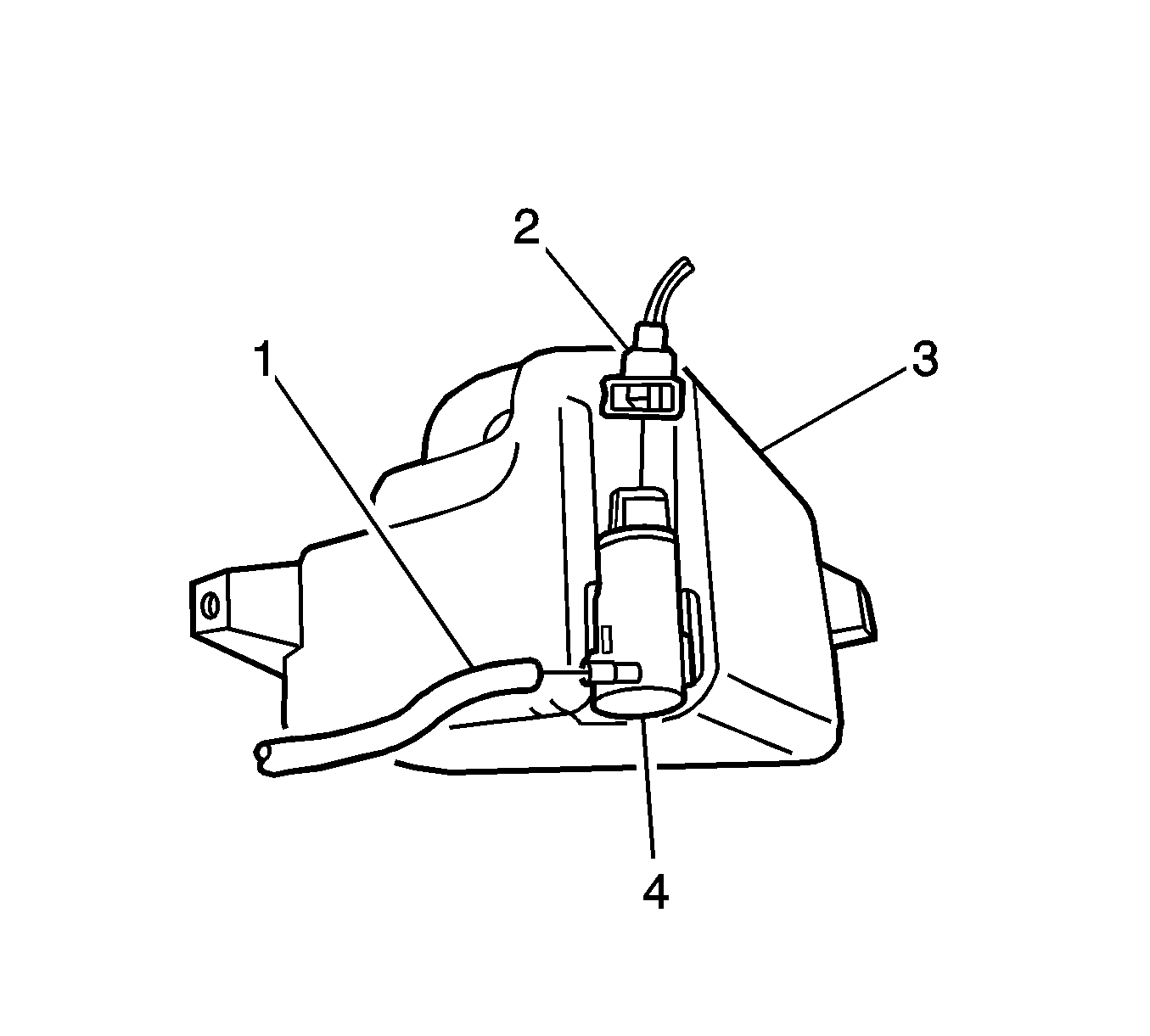
Figure 4:

Windshield Wiper Pump


Object Number: 1276247  Size: SH
(1)Washer Hose
(2)Washer Motor Connector
(3)Washer Solvent Container
(4)Washer Pump