GM Service Manual Online
For 1990-2009 cars only
Table 1: Accessory Power Outlet - 12-Volt
Table 2: Cigar Lighter - Front
Table 3: Cigar Lighter - Rear
Table 4: Ignition Lock Cylinder Lamp
Table 5: Ignition Switch C1
Table 6: Ignition Switch C4

Accessory Power Outlet - 12-Volt


Object Number: 1356247  Size: CH

Connector Part Information

    • X112-X2
    • 2-Way M (WH)

Pin

Wire Color

Circuit No.

Function

A

BN/YE

143

Accessory Voltage

B

BK/WH

550

Ground

Cigar Lighter - Front


Object Number: 1356249  Size: CH

Connector Part Information

    • 7122-6030
    • 3-Way M (WH)

Pin

Wire Color

Circuit No.

Function

A

BN/WH

32

Instrument Panel Lamps Fuse Supply Voltage

B

YE

39

Ignition 1 Voltage

C

BK/WH

550

Ground

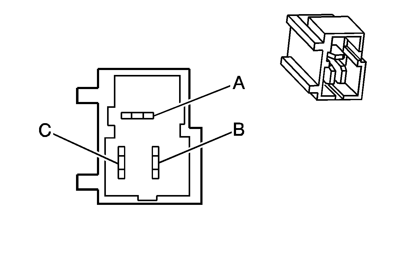
Cigar Lighter - Rear


Object Number: 1356249  Size: CH

Connector Part Information

    • 7122-6030
    • 3-Way M (WH)

Pin

Wire Color

Circuit No.

Function

A

BN/WH

32

Instrument Panel Lamps Fuse Supply Voltage

B

YE

39

Ignition 1 Voltage

C

BK/WH

550

Ground

Ignition Lock Cylinder Lamp


Object Number: 1356111  Size: CH

Connector Part Information

    • 7141-5191-30
    • 2-Way F (BK)

Pin

Wire Color

Circuit No.

Function

A

OG/BK

149

Courtesy Lamp Supply Voltage

B

WH/GN

660

Left Courtesy Lamp Control

Ignition Switch C1


Object Number: 1356187  Size: CH

Connector Part Information

    • 9123-5253
    • 6-Way F (WH)

Pin

Wire Color

Circuit No.

Function

P

--

--

Not Used

W

BN/WH

4

Accessory Voltage

15

OG

300

Ignition 3 Voltage

15A

--

--

Not Used

50

PU

5

Crank Voltage

30

RD/WH

1640

Battery Positive Voltage

Ignition Switch C4


Object Number: 1356189  Size: CH

Connector Part Information

    • 9123-2864
    • 2-Way F (WH)

Pin

Wire Color

Circuit No.

Function

1

L-BU

1077

Ignition Key/Shifter Interlock Solenoid Unlock

2

BN/WH

4

Accessory Voltage