GM Service Manual Online
For 1990-2009 cars only

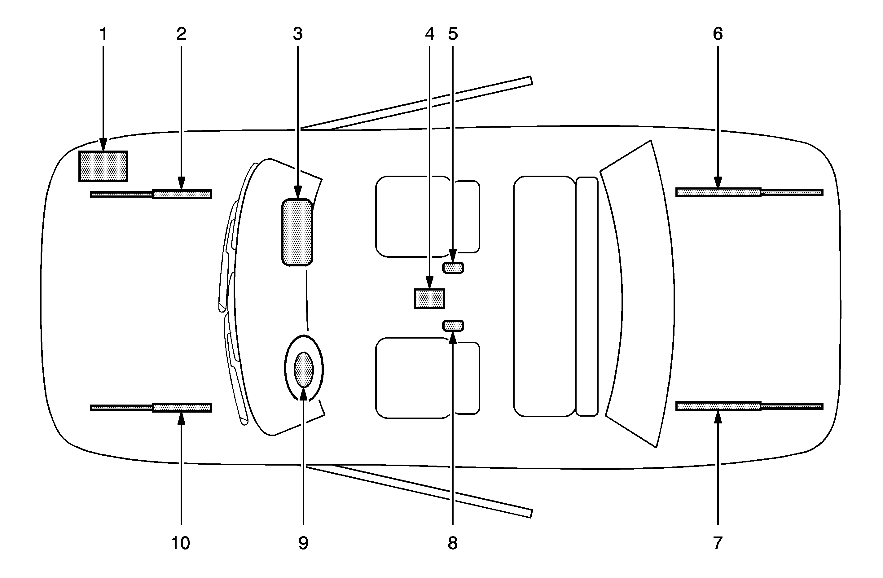
The SIR Identification Views shown below illustrate the approximate location of all SIR components available for the vehicle. This will assist in determining the appropriate SIR Disabling and Enabling for a given service procedure, refer to SIR Disabling and Enabling .

Pontiac GTO


Object Number: 1344447  Size: MF
(1)Vehicle Battery--Located under the hood on the right side
(2)Front Hood Assist Rod--A gas shock is located under the front hood on the passenger side
(3)I/P Air Bag--Located at the top right under the instrument panel
(4)Sensing and Diagnostic Module (SDM)--Located underneath the center console
(5)Seat Belt Pretensioner--Located in the seat belt buckle assembly
(6)Rear Compartment Lid Assist Rod--A gas shock is located under the rear trunk lid on the passenger side
(7)Rear Compartment Lid Assist Rod--A gas shock is located under the rear trunk lid on the driver side
(8)Seat Belt Pretensioner--Located in the seat belt buckle assembly
(9)Steering Wheel Air Bag--Located on the steering wheel
(10)Front Hood Assist Rod--A gas shock is located under the front hood on the driver side