GM Service Manual Online
For 1990-2009 cars only

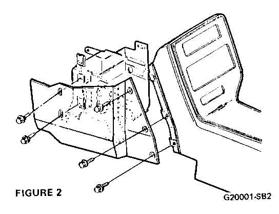
CARPET SHORT AT FLOOR CONSOLE INSTALL NEW LEFT CONSOLE PANEL

CONDITION:

ON CERTAIN 1985 AND EARLY 1986 GRAND AM'S THERE MAY BE A GAP BETWEEN THE CARPETING AND DRIVERS SIDE CONSOLE (SEE FIGURE 1). CAUSE: THIS CONDITION IS CAUSED BY THE CUT-OUT IN THE CARPET FOR THE CONSOLE EXTENSION BRACKET BEING TOO LARGE AND MAY BECOME MORE APPARENT AS THE CARPET PADDING SETTLES WITH USE. CORRECTION: TO REPAIR THIS CONDITION REPLACE THE EXISTING CONSOLE LEFT SIDE PANEL WITH THE NEW DESIGN PANEL PART NUMBER 22534064. (SEE FIGURE 2.) NOTE: THE NEW PANEL, AVAILABLE IN BLACK ONLY, SHOULD BE PAINTED USING THE ESTABLISHED PROCEDURES AND LABOR TIMES.


Object Number: 94160  Size: MF


Object Number: 92715  Size: SF

General Motors bulletins are intended for use by professional technicians, not a "do-it-yourselfer". They are written to inform those technicians of conditions that may occur on some vehicles, or to provide information that could assist in the proper service of a vehicle. Properly trained technicians have the equipment, tools, safety instructions and know-how to do a job properly and safely. If a condition is described, do not assume that the bulletin applies to your vehicle, or that your vehicle will have that condition. See a General Motors dealer servicing your brand of General Motors vehicle for information on whether your vehicle may benefit from the information.