GM Service Manual Online
For 1990-2009 cars only

CAMPAIGN: UPPER RR SPRING SEAT INSTALL REINFORCEMENT PLATE

SUBJECT: PRODUCT SAFETY CAMPAIGN 92-C-10 INCORRECT UPPER SUSPENSION SPRING SEAT INSTALLED

MODELS AFFECTED: 1992 GRAND AM

TO: ALL PONTIAC DEALERS

The National Traffic and Motor Vehicle Safety Act, as amended, provides that each vehicle which is subject to a recall campaign of this type must be adequately repaired within a reasonable time after the owner has tendered it for repair. A failure to adequately repair within sixty (60) days after tender of a vehicle is prima facie evidence of failure to repair within a reasonable time.

If the condition is not adequately repaired within a reasonable time, the owner may be entitled to an identical or reasonably equivalent vehicle at no charge or to a refund of the purchase price less a reasonable allowance for depreciation.

To avoid having to provide these burdensome solutions, every effort must be made to promptly schedule an appointment with each owner and to repair their vehicle as soon as possible. As you will see in reading the attached copy of the letter that is being sent to owners, the owners are being instructed to contact the Pontiac Customer Assistance Center if their dealer does not remedy the condition within five (5) days of the mutually agreed upon service date. If the condition is not remedied within a reasonable time, they are instructed on how to contact the National Highway Traffic Safety Administration.

DEFECT INVOLVED

General Motors has determined that certain 1992 Pontiac Grand Am model vehicles fail to conform to the requirements of Federal Motor Vehicle Safety Standard (FMVSS) 301, "Fuel System Integrity." Some of these vehicles have been built with an incorrect suspension upper spring seat at the right-rear position. If the vehicle was involved in a rear impact accident, the right-hand wheel house flange could sever the fuel tank filler pipe and spill fuel. If an ignition source was present, fuel leakage from this condition could result in a fire.

DEALER ACTION

To prevent the possibility of this occurring, dealers are to install a reinforcement plate to the right rear compartment rail.

VEHICLES INVOLVED

Involved are the following 1992 Pontiac Grand Am models:

NC288289 NC288291 NC288292 NC288300 NC288301 NC288302 NC288304 NC288307 NC288316 NC288479

OWNER NOTIFICATION

All dealers with involved vehicles have been instructed to hold all suspect vehicles until the campaign service procedure has been performed. All suspect vehicles must be held at dealers and repaired before owners take possession of these vehicles. There will be no owner notification from Pontiac.

DEALER CAMPAIGN RESPONSIBILITY

All unsold new vehicles in dealers' possession and subject to this campaign must be held and inspected/repaired per the Service Procedure of this campaign bulletin before owners take possession of these vehicles.

Dealers are to service all vehicles subject to this campaign at no charge to owners, regardless of mileage, age of vehicle, or ownership, from this time forward.

Owners of vehicles recently sold from your new vehicle inventory are to be contacted by the dealer, and arrangements made to make the required correction according to instructions contained in this bulletin.

In summary, whenever a vehicle subject to this campaign enters your vehicle inventory, or is in your dealership for service in the future, please take the steps necessary to be sure the campaign correction has been made before selling or releasing the vehicle.

PARTS INFORMATION

Parts required to complete this campaign will be shipped directly to only those dealers with a vehicle(s) involved in this campaign, along with the campaign bulletin package.

SERVICE PROCEDURE

1. Position car on frame type hoist. See service manual section 0A. Remove right rear tire and wheel assembly.

2. Open the fuel fill door and remove four (4) 7 mm screws from the fuel filler pocket. With fuel filler cap still on, partially push the fuel filler neck inward. See figure 1.

3. Raise vehicle on hoist. See service manual, section 0A.

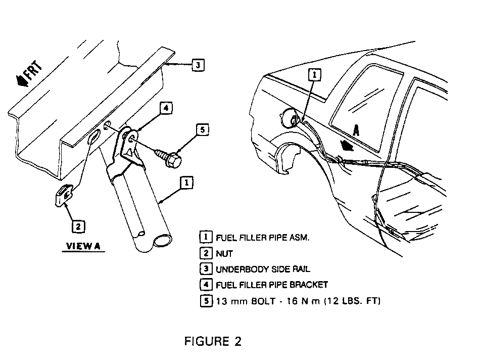
4. Remove one 13 mm bolt from the clip which holds the fuel filler pipe to the body frame rail. See figure 3.

5. Remove three 7 mm screws from the fuel filler pipe shield and remove the shield. See figure 3.

6. Remove one 10 mm bolt from the right rear brake pipe support bracket. See figure 4.

7. Carefully pull the fuel filler pipe down (with pocket and cap still on) and position to the left side of the vehicle. If necessary, use tape to hold the filler pipe over to the left side of the vehicle (away from the right side).

8. Support the right side of the rear axle with a jack stand.

9. Remove the right rear lower shock absorber mounting bolt and nut. Remove the supporting jack stand.

IMPORTANT: NOTE THE POSITION OF THE UPPER END OF THE SPRING AND THE UPPER SPRING INSULATOR BEFORE REMOVING. THE SPRING AND UPPER INSULATOR SHOULD BE REINSTALLED IN THE SAME POSITION AS BEFORE REMOVAL.

10. Using an appropriate pry bar, pull down the right side of the rear axle. Remove the right rear suspension spring and rubber insulator.

11. Position the reinforcement plate to the spring seat, frame rail, and body flange as shown in figure 4.

12. Mark the nine (9) weld locations on the spring seat, frame rail and the body flange as shown in figure 4.

13. Remove the paint from the marked weld locations.

14. Position the reinforcement plate as shown in figure 4. Clamp in position as required.

15. Cover the fuel filler pipe, fuel filter, and any other exposed components with a protective welding tarp.

16. Using a mig welder with EZ Grind ER 70S-16 (or equivalent) weld wire, weld the reinforcement plate to the vehicle as follows (see figure 4).

IMPORTANT: DO NOT ATTACH THE WELDER GROUND LEAD TO THE REAR AXLE. THE WELDER GROUND LEAD MAY BE ATTACHED TO ANY OTHER PART OF THE VEHICLE BODY WHICH WILL PROVIDE A SAFE, EFFECTIVE GROUND FOR WELDING PURPOSES.

A. Plug weld the reinforcement plate to the frame rail at the four holes in the horizontal surface of the reinforcement plate.

B. Lap weld the lower edge of the reinforcement plate tabs to the spring seat. Position tabs as required to ensure good contact with edge of spring seat.

C. Plug weld the reinforcement plate to the body flange at the three holes in the outboard flange of the reinforcement plate. Clamp as necessary to ensure good welds.

D. Remove weld residue from welded areas using a wire brush or other suitable tool.

17. Apply an appropriate primer material to all weld areas and let dry. Apply rubberized undercoating (Penray Rubberized Undercoat #4424 or equivalent) to the entire reinforcement plate and to all primed areas.

18. Using an appropriate pry bar, pull down the right side of the rear axle far enough to position and install the right rear suspension spring and upper insulator assembly.

IMPORTANT: THE SPRING AND UPPER INSULATOR SHOULD BE REINSTALLED IN THE SAME POSITION AS BEFORE REMOVAL.

19. Support the right side of the rear axle with a jack stand and loose assemble the lower shock absorber bolt and nut. Remove the jack stand. Tighten lower shock absorber bolt and nut to 47 N m (35 lb. ft.).

20. Place the fuel filler pipe assembly up into position in the right rear wheel house.

21. Lower vehicle far enough to allow proper positioning of the fuel filler neck and pocket assembly to the opening in the quarter panel. Install four (4) 7 mm screws and tighten until fully driven seated, and not stripped. See figure 1.

22. Raise vehicle.

23. Reinstall one (1) 10 mm bolt to the right rear brake pipe support bracket. Tighten to 20 N m (15 lb. ft.). See figure 4.

24. Reinstall the fuel filler pipe shield to the wheel house using three (3) 7 mm screws. Tighten screws until fully driven, seated, and not stripped, See figure 1.

25. Reinstall one (1) 13 mm bolt to the fuel filler pipe clip and the body frame rail. Tighten to 16 N m (12 lb. ft.). See figure 2.

26. Lower vehicle as required to reinstall tire and wheel assembly. Tighten wheel nuts to 140 N m (100 lb. ft.).

27. Lower vehicle.

28. Install campaign identification label.

CAMPAIGN IDENTIFICATION LABEL

Each vehicle modified in accordance with the instructions outlined in this Product Campaign Bulletin will require a "Campaign Identification Label." Each label provides a space to include the campaign number, the five digit dealer code of the dealer performing the campaign service, and the date the vehicle was campaigned. This information may be inserted with a typewriter or ballpoint pen. Install the label only on a clean, dry surface of the radiator baffle where it is readily visible. (Additional campaign labels are available on stationery order as Form 7201-709).

CLAIM INFORMATION

A separate repair order must be used for each vehicle. A completed warranty claim is to be kept as a permanent record of completion.

DEALERS SHOULD SUBMIT WARRANTY CLAIMS FOR CREDIT IN THEIR NORMAL MANNER WHEN THEY PERFORM THE SERVICE AS FOLLOWS: *Other Failure Labor Labor Labor Operation Code Operation Hours Hours --------- ------- --------- ----- ----- Install Reinforcement Plate 96 V7650 2.5 0.1 To Right Hand Rear Underbody

* In addition dealerships will receive 0.1 hours credit for dealer administrative services associated with this campaign. The 0.1 hours allowance is to be entered in the "Other Labor Hours" field with each campaign repair listed for credit. This entry will not require authorization.

FAILURE CODE 96 MUST BE USED WITH THE LABOR OPERATION.

Dealers will be credited via Warranty Document or Terminal Transmission, whichever is their normal method of submission for payment. Claim must contain all information required and should list the labor operation as outlined.

RECORDING COMPLETION

Repairs submitted for vehicles not involved in the campaign will not be paid. Campaign completion will be recorded from "PROPERLY COMPLETED AND PAID WARRANTY CLAIMS." Owners are being asked to present the owner reply card for identification to their dealer at the time they bring in their vehicle to have the campaign performed.


Object Number: 94390  Size: MF


Object Number: 87886  Size: LF


Object Number: 90929  Size: LF


Object Number: 88987  Size: LF

General Motors bulletins are intended for use by professional technicians, not a "do-it-yourselfer". They are written to inform those technicians of conditions that may occur on some vehicles, or to provide information that could assist in the proper service of a vehicle. Properly trained technicians have the equipment, tools, safety instructions and know-how to do a job properly and safely. If a condition is described, do not assume that the bulletin applies to your vehicle, or that your vehicle will have that condition. See a General Motors dealer servicing your brand of General Motors vehicle for information on whether your vehicle may benefit from the information.