GM Service Manual Online
For 1990-2009 cars only

Front Bumper Fascia Energy Absorber Replacement Oldsmobile

Removal Procedure

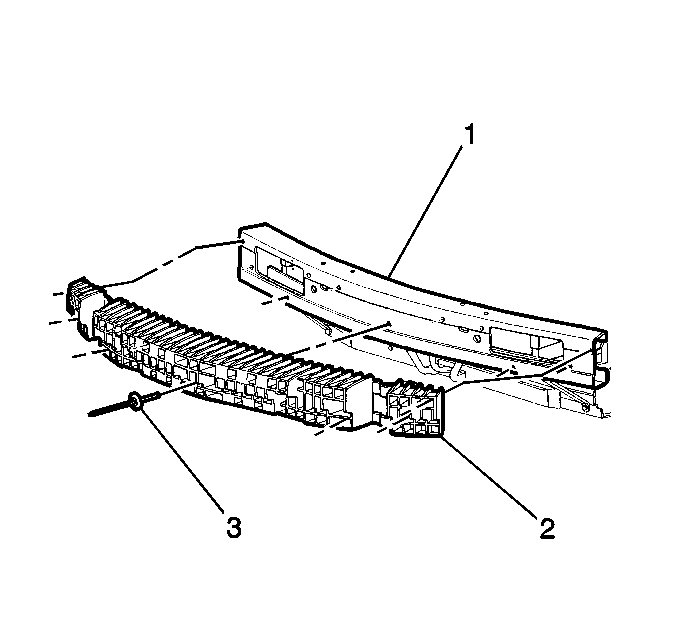
  1. Remove the front bumper fascia (3). Refer to Front Bumper Fascia Replacement .

  2. Object Number: 384031  Size: SH
  3. Drill out the rivets with a 8.2mm (3/16 in drill bit.
  4. Remove the push-in retainers (2) (Buick and Pontiac).
  5. Remove the energy absorber (2) from the impact bar (1).

Installation Procedure


    Object Number: 384031  Size: SH
  1. Install the energy absorber (2) to the impact bar (1).
  2. Install 8.2-mm (3/16-in) rivets. Use J 34940 and J 39357 .
  3. Install the fascia (3). Refer to Front Bumper Fascia Replacement .

Front Bumper Fascia Energy Absorber Replacement Pontiac and Buick

Removal Procedure

  1. Remove the front bumper fascia. Refer to Front Bumper Fascia Replacement .

  2. Object Number: 384035  Size: SH
  3. Remove the push-in retainers (3).
  4. Remove the energy absorber (2) from the impact bar (1).

Installation Procedure


    Object Number: 384035  Size: SH
  1. Install the energy absorber (2) to the impact bar (1).
  2. Install the push-in retainers (3).
  3. Install the fascia (3). Refer to Front Bumper Fascia Replacement .