GM Service Manual Online
For 1990-2009 cars only

Rocker Panel Molding Replacement Oldsmobile

Removal Procedure


    Object Number: 381963  Size: LH
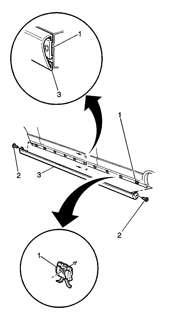
  1. Remove the rocker panel molding screws (2).
  2. Push up on the molding (3) and disengage the molding from the retainers (1). Remove the rocker panel molding (3).

Installation Procedure


    Object Number: 381963  Size: LH
  1. Install the snap rocker panel molding (3) over the retainers (1).
  2. Install the rocker panel molding screws (2). Tighten the screws until the screws are fully driven and seated. Do not strip the screws.

Rocker Panel Molding Replacement Pontiac and Buick

Removal Procedure


    Object Number: 381970  Size: LH
  1. Partially remove the rear of the front wheel housing. Refer to Wheelhouse Panel Replacement in Body Front End.
  2. Remove the rocker panel molding screws (2).
  3. Squeeze the retaining tabs together and push the tabs.
  4. Remove the pressure relief valve in order to gain access to the rocker panel molding fasteners (3). Remove the rocker panel molding fasteners.
  5. Push up against the rocker panel molding and disengage the molding from the plate. Remove the rocker panel molding.

Installation Procedure


    Object Number: 381970  Size: LH
  1. Engage the flange to the retaining plate:
  2. 1.1. Align and seat the top edge of the molding flange over the top of the retaining plate.
    1.2. Push downward in order to engage the flange to the retaining plate.
  3. Align the fasteners to the holes in the fender and the quarter panel.
  4. Apply pressure to the seat fasteners.
  5. Install the pressure relief valve.
  6. Install the rocker panel molding screws.
  7. Tighten the screws until the screws are screws are driven and fully seated. Do not strip the screws.

  8. Install the wheel housing. Refer to Wheelhouse Panel Replacement in Body Front End.