GM Service Manual Online
For 1990-2009 cars only

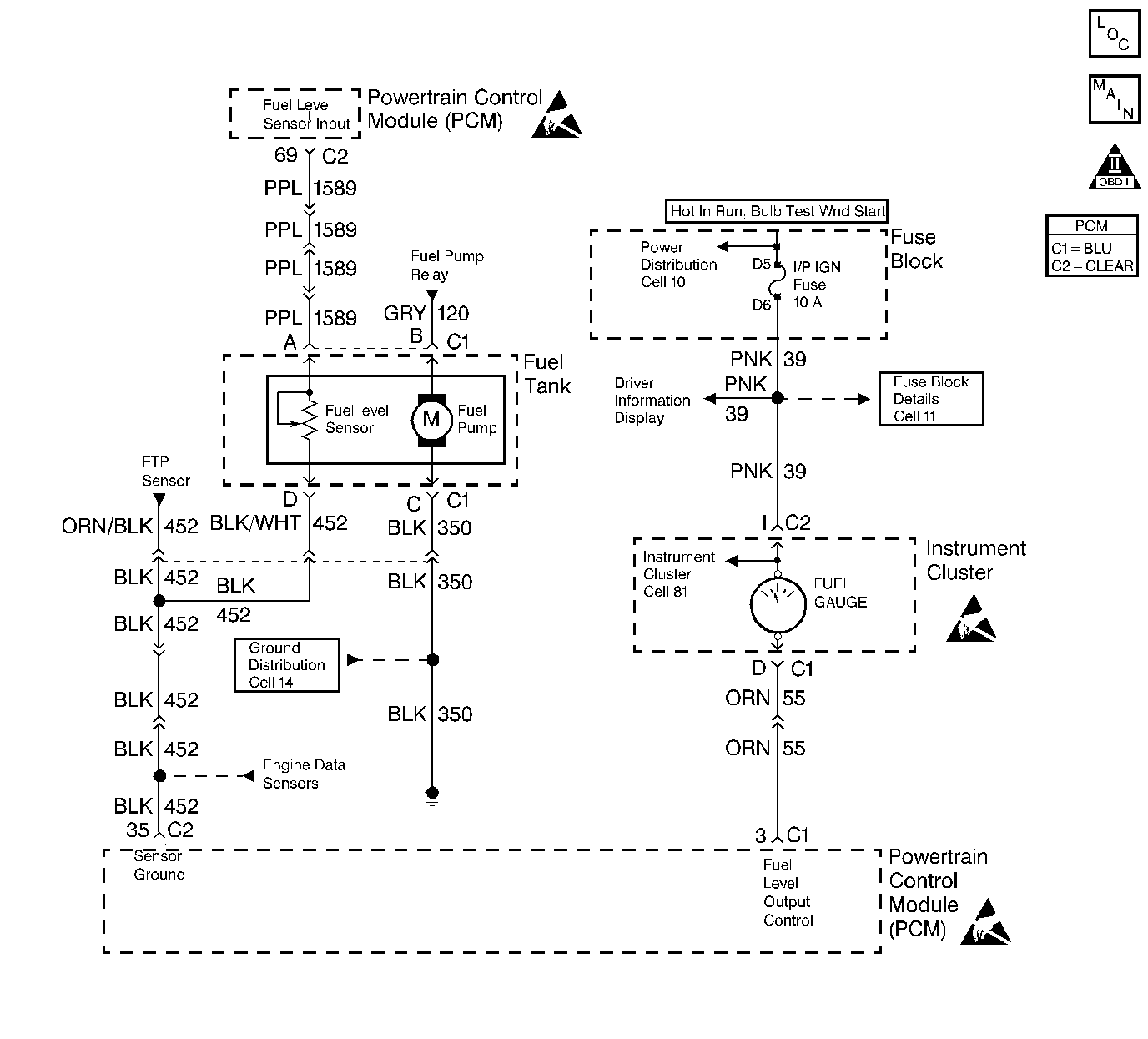
Object Number: 240270  Size: LF

Circuit Description

The PCM supplies 5 volts to the fuel level sensor circuit. The fuel level sensor varies the voltage relative to the amount of fuel in the tank. The PCM monitors the voltage on the fuel level circuit to calculate the amount of fuel on the tank. The PCM uses fuel level information to enable the enhanced evaporative emission diagnostic.

Diagnostic Aids

Refer to Instrument Panel Cluster (IPC) in Electrical Diagnosis for additional diagnostic information. Check for the following condition(s):

Poor connections or damaged harness. Inspect the harness connectors for backed out terminals, improper mating, broken locks, improperly formed or damaged terminals, poor terminal to wire connection and damaged harness.

Test Description

Number(s) below refer to the step number(s) on the Diagnostic Table:

  1. This checks for proper PCM voltage, ground and circuit wiring. The PCM supplies 5V to the fuel level sensor.

  2. This checks for a fuel level sensor circuit shorted to battery positive.

  3. This checks for a faulty fuel level sensor ground or splice connection.

Fuel Level Sensor Diagnosis

Step

Action

Value(s)

Yes

No

1

Was the Powertrain OBD System Check performed?

--

Go to Step 2

Go to the A Powertrain On Board Diagnostic (OBD) System Check

2

Perform the Instrument Panel Cluster (IPC) Diagnostic System Check.

Are there any IPC DTCs set?

--

Diagnose the IPC DTCs first. Refer to the applicable DTC Table

Go to Step 3

3

  1. Install the scan tool.
  2. Turn on the Ignition switch.
  3. Using the scan tool output control function, perform the Fuel Gauge Sweep Test.

Does the Fuel Gauge sweep through its full range?

--

Go to Step 4

Go to IPC Fuel Gauge is Inop or Inaccurate in Electrical Diagnosis

4

  1. Turn off the ignition switch.
  2. Raise the vehicle.
  3. Disconnect the fuel tank pigtail harness from the body connector.
  4. Connect J 39200 digital multimeter (DMM) between body connector Fuel Level Sensor input and gruond circuits.
  5. Lower the vehicle.
  6. Turn on the ignition switch.

Does the DMM display a voltage near the specified value?

5.0 V

Go to Step 5

Go to Step 6

5

Check for the following circuit condition(s):

    •  Open in the fuel tank pigtail feed or ground circuit(s).
    •  Poor terminal connections between the fuel tank pigtail and body connector.
    •  Poor terminal connections between the fuel tank pigtail and the fuel sender assembly.

Was a repair made?

--

Go to Step 13

Go to Step 10

6

Does the DMM display a voltage greater than the specified value?

5.0 V

Go to Step 11

Go to Step 7

7

Connect the DMM between the body connector at the Fuel Level Sensor input circuit and chassis ground.

Does the DMM indicate a voltage near the specified value?

5.0 V

Go to Step 8

Go to Step 9

8

Locate and repair the following circuit condition(s):

    •  Open in the fuel tank pigtail ground circuit.
    •  Open or faulty splice in the fuel level sensor ground circuit.
    •  Poor terminal connection between the fuel tank pigtail and the body connector.

Is the action complete?

--

Go to Step 13

--

9

  1. Check for the following circuit condition(s):
  2. •  Open/faulty terminal connections in the PCM feed circuit to the fuel level sensor.
    •  PCM feed circuit shorted to chassis or sensor ground.
  3. If a problem is found, repair as necessary. Refer to Wiring Repairs in Wiring Systems.

Was a repair made?

--

Go to Step 13

Go to Step 11

10

Replace the fuel level sensor. Refer to Fuel Level Sensor Replacement .

Is the action complete?

--

Go to Step 13

--

11

Locate and repair short to voltage in the PCM feed to the fuel level sensor.

Is the action complete?

--

Go to Step 13

--

12

  1. Important:
  2. The replacement PCM must be programmed.
  3. Replace the PCM. Refer to PCM Replacement/Programming .

Is the action complete?

--

Go to Step 13

--

13

Recheck the system for proper operation.

Does the system operate properly?

--

System OK

Go to Step 2